Сушильные машины Electrolux EDH3498RDE - инструкция пользователя по применению, эксплуатации и установке на русском языке. Мы надеемся, она поможет вам решить возникшие у вас вопросы при эксплуатации техники.
Если остались вопросы, задайте их в комментариях после инструкции.
"Загружаем инструкцию", означает, что нужно подождать пока файл загрузится и можно будет его читать онлайн. Некоторые инструкции очень большие и время их появления зависит от вашей скорости интернета.

3. GAMINIO APRAŠYMAS
1
2
7
4
3
5
6
9
10
11
12
8
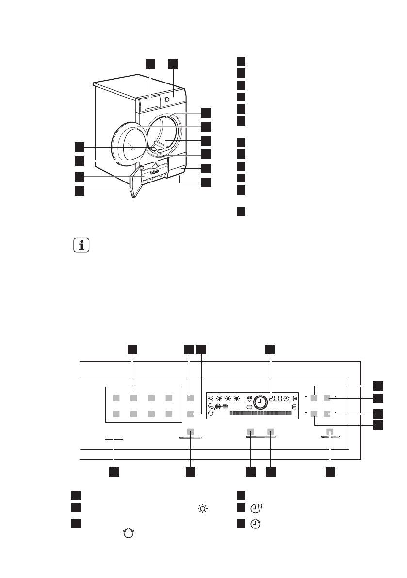
1
Vandens bakelis
2
Valdymo skydelis
3
Vidinė apšvietimo lemputė
4
Prietaiso durelės
5
Pirminis filtras
6
Mygtukas šilumokaičio durelėms
atidaryti
7
Ventiliacijos angos
8
Reguliuojamos kojelės
9
Šilumokaičio durelės
10
Šilumokaičio dangtelis
11
Rankenėlė šilumokaičio dangteliui
užfiksuoti
12
Techninių duomenų plokštelė
Vartotojas įdėjimo dureles
gali sumontuoti priešingoje
pusėje. Tai naudinga
tuomet, kai prietaisui įrengti
turima mažai vietos, arba
norint lengviau sudėti ir išimti
skalbinius (žr. atskirą
informacinį lapelį).
4. VALDYMO SKYDELIS
4
3
2
1
9
10
11
12
13
5
8
7
6
1
Programų pasirinkimo rankenėlė
2
Sausumas Jutiklinis mygtukas
3
Papildomas reversavimas Jutiklinis
mygtukas
4
Rodmuo
5
Jutiklinis mygtukas Laikas
6
Jutiklinis mygtukas Delsa
www.electrolux.com
26
Содержание
- 41 возможностями
- 42 Общие правила техники безопасности
- 44 УКАЗАНИЯ ПО БЕЗОПАСНОСТИ; электросети
- 45 Внутреннее освещение
- 50 Время сушки с сушильной; полкой
- 52 Функция «Защита от; детей»
- 53 Индикатор контейнера; для конденсата; ПЕРЕД ПЕРВЫМ ИСПОЛЬЗОВАНИЕМ
- 54 ЕЖЕДНЕВНОЕ ИСПОЛЬЗОВАНИЕ; Запуск программы без; отсрочки пуска; Запуск программы с; отсрочкой пуска; Изменение выбранной; программы; По окончании программы; отключения
- 55 Подготовка белья
- 56 Слив воды из контейнера для сбора конденсата
- 57 Очистка конденсатора; управления и корпуса
- 58 Очистка вентиляционных; щелей; ПОИСК И УСТРАНЕНИЕ НЕИСПРАВНОСТЕЙ
- 59 ТЕХНИЧЕСКИЕ ДАННЫЕ
- 60 Данные по потреблению энергии; ОХРАНА ОКРУЖАЮЩЕЙ СРЕДЫ
Характеристики
Остались вопросы?Не нашли свой ответ в руководстве или возникли другие проблемы? Задайте свой вопрос в форме ниже с подробным описанием вашей ситуации, чтобы другие люди и специалисты смогли дать на него ответ. Если вы знаете как решить проблему другого человека, пожалуйста, подскажите ему :)