Сушильные машины AEG T96699IH - инструкция пользователя по применению, эксплуатации и установке на русском языке. Мы надеемся, она поможет вам решить возникшие у вас вопросы при эксплуатации техники.
Если остались вопросы, задайте их в комментариях после инструкции.
"Загружаем инструкцию", означает, что нужно подождать пока файл загрузится и можно будет его читать онлайн. Некоторые инструкции очень большие и время их появления зависит от вашей скорости интернета.

S e n s i D r y
Для выбора записанной последова‐
тельности действий:
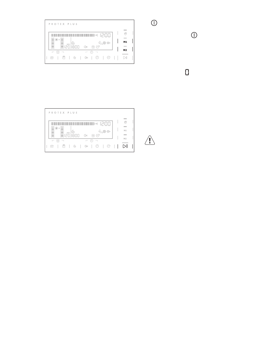
1.
Включите прибор.
2.
Выберите Память 1 или 2
7.16 Запуск программы
S e n s i D r y
Для включения программы нажмите
на функцию Старт/Пауза , как показа‐
но на рисунке. Загорится расположен‐
ный выше красный светодиод.
7.17 Изменение выбранной
программы
Для того, чтобы сменить программу,
выключите прибор нажатием на кноп‐
ку
Вкл/Выкл. Для включения прибо‐
ра и выбора программы заново снова
нажмите на кнопку
Вкл/Выкл.
7.18 По окончании
программы
По окончании цикла сушки на дисплее
замигает значок . Если включена
функция Звуковой сигнал , в течение
одной минуты будет выдаваться пре‐
рывистый звуковой сигнал.
Выемка белья:
1.
Нажмите на кнопку Auto/Off на две
секунды для выключения прибора.
2.
Откройте дверцу прибора.
3.
Выньте белье.
4.
Закройте дверцу прибора.
После каждого цикла сушки:
• Произведите очистку фильтра.
• Слейте воду из контейнера для сбо‐
ра конденсата.
(См. Главу
УХОД И ОЧИСТКА).
8. УКАЗАНИЯ И РЕКОМЕНДАЦИИ
8.1 Рекомендации по
экологичному использованию
• Не используйте в ходе стирки смяг‐
читель для ткани, если белью пред‐
стоит сушка. Высушенное в сушиль‐
ной машине белье автоматически
становится мягким.
• Конденсат можно использовать в
качестве дистиллированной воды,
например при паровой глажке. При
необходимости вначале отфиль‐
труйте конденсат (например, с по‐
мощью кофейного фильтра) для
удаления из него частичек ворса.
• Всегда следите за тем, чтобы вен‐
тиляционные щели в цоколе маши‐
ны не были перекрыты.
• Придерживайтесь норм загрузки,
указанных в Главе "Программы".
• Обеспечьте хорошую вентиляцию в
месте установки прибора.
• Чистите фильтр после каждого цик‐
ла сушки
• Отжимайте белье перед сушкой.
8.2 Жесткость и
проводимость воды
Жесткость воды варьируется в зави‐
симости от географической местно‐
РУССКИЙ
19
Содержание
- 3 УКАЗАНИЯ ПО БЕЗОПАСНОСТИ; Безопасность детей и лиц
- 4 Подключение к электросети
- 10 ПЕРЕД ПЕРВЫМ ИСПОЛЬЗОВАНИЕМ
- 16 ЭКСПЛУАТАЦИЯ ПРИБОРА; Включение прибора
- 17 Список символов кнопок режимов; сушки
- 19 УКАЗАНИЯ И РЕКОМЕНДАЦИИ
- 20 Индикатор полного; Очистка первичного
- 23 теплообменника
- 26 управления и корпуса; ПОИСК И УСТРАНЕНИЕ НЕИСПРАВНОСТЕЙ; Поиск и устранение неисправностей; Выкл
- 28 ТЕХНИЧЕСКИЕ ДАННЫЕ
- 29 ОХРАНА ОКРУЖАЮЩЕЙ СРЕДЫ
Характеристики
Остались вопросы?Не нашли свой ответ в руководстве или возникли другие проблемы? Задайте свой вопрос в форме ниже с подробным описанием вашей ситуации, чтобы другие люди и специалисты смогли дать на него ответ. Если вы знаете как решить проблему другого человека, пожалуйста, подскажите ему :)