Сушильные машины AEG T6DBG28S - инструкция пользователя по применению, эксплуатации и установке на русском языке. Мы надеемся, она поможет вам решить возникшие у вас вопросы при эксплуатации техники.
Если остались вопросы, задайте их в комментариях после инструкции.
"Загружаем инструкцию", означает, что нужно подождать пока файл загрузится и можно будет его читать онлайн. Некоторые инструкции очень большие и время их появления зависит от вашей скорости интернета.

2. Изберете 1 от наличните
програми.
3. Докоснете и задръжте бутоните
Cуха плюс и Дълга против
намачкване по едно и също
време.
На дисплея се извежда един от
символите:
– максимално сушене
– допълнително сушене
– стандартно сушене
4. Докоснете бутона
Start/Pause
(Старт / Пауза) няколко пъти,
докато достигнете желаната
степен на сушене.
Степен на
сушене
Символ на дисплея
Максимал‐
но сушене
Допълни‐
телно суше‐
не
Стандартно
сушене
5. За да запаметите настройката,
докоснете и задръжте бутоните
Cуха плюс и Дълга против
намачкване по едно и също време
в продължение на около 2 секунди.
9.3 Деактивиране на
индикатор на резервоара
Индикаторът на контейнера за вода е
активиран по подразбиране. Започва
да свети към края или по време на
цикъла на сушене, ако резервоара за
вода е пълен. Ако е монтиран
комплектът за източване, контейнерът
за вода се източва автоматично и
индикаторът може да бъде
деактивиран.
За да деактивирате индикатора:
1. Включете уреда.
2. Изберете 1 от наличните
програми.
3. Докоснете и задръжте бутоните
Дълга против намачкване и
Време по едно и също време.
Възможна е една от следните 2
конфигурации:
• индикаторът Водосъдържател:
светва, ако се появи
символът
–
индикаторът на контейнера за
вода е активиран за постоянно
• индикаторът Водосъдържател:
изгасва, ако се появи
символът
–
индикаторът на контейнера за
вода е деактивиран за
постоянно
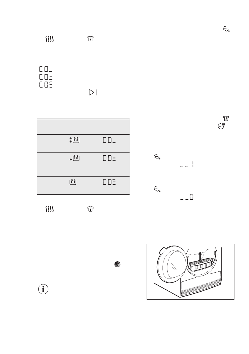
10. ГРИЖИ И ПОЧИСТВАНЕ
10.1 Почистване на
филтъра
В края на всеки цикъл символът
Филтр се показва на дисплея и Вие
трябва да почистите филтъра.
Филтърът събира пуха по
време на цикъла на
сушене.
За да почистите филтъра:
1. Отворете вратата. Издърпайте
филтъра.
2. Отворете филтъра.
www.aeg.com
16
Содержание
- 48 Общие правила техники безопасности
- 50 УКАЗАНИЯ ПО БЕЗОПАСНОСТИ
- 51 электросети
- 55 Выбор программ и опций
- 56 Данные по потреблению энергии
- 57 ПЕРЕД ПЕРВЫМ ИСПОЛЬЗОВАНИЕМ
- 58 Включение прибора
- 59 детей»; Установка опции «Защита
- 60 Окончание программы
- 62 контейнера для сбора
- 63 Очистка конденсатора
- 64 управления и корпуса; вентиляционных щелей; ПОИСК И УСТРАНЕНИЕ НЕИСПРАВНОСТЕЙ
- 66 ТЕХНИЧЕСКИЕ ДАННЫЕ
- 69 ОХРАНА ОКРУЖАЮЩЕЙ СРЕДЫ
Характеристики
Остались вопросы?Не нашли свой ответ в руководстве или возникли другие проблемы? Задайте свой вопрос в форме ниже с подробным описанием вашей ситуации, чтобы другие люди и специалисты смогли дать на него ответ. Если вы знаете как решить проблему другого человека, пожалуйста, подскажите ему :)