Стиральная машина Winia DWD-7T1221PW - инструкция пользователя по применению, эксплуатации и установке на русском языке. Мы надеемся, она поможет вам решить возникшие у вас вопросы при эксплуатации техники.
Если остались вопросы, задайте их в комментариях после инструкции.
"Загружаем инструкцию", означает, что нужно подождать пока файл загрузится и можно будет его читать онлайн. Некоторые инструкции очень большие и время их появления зависит от вашей скорости интернета.

Сетевой шнур электропитания стиральной
машины оснащен заземленной вилкой. Эту вилку
необходимо всегда вставлять в заземленную
розетку с номиналом по току 10 ампер.
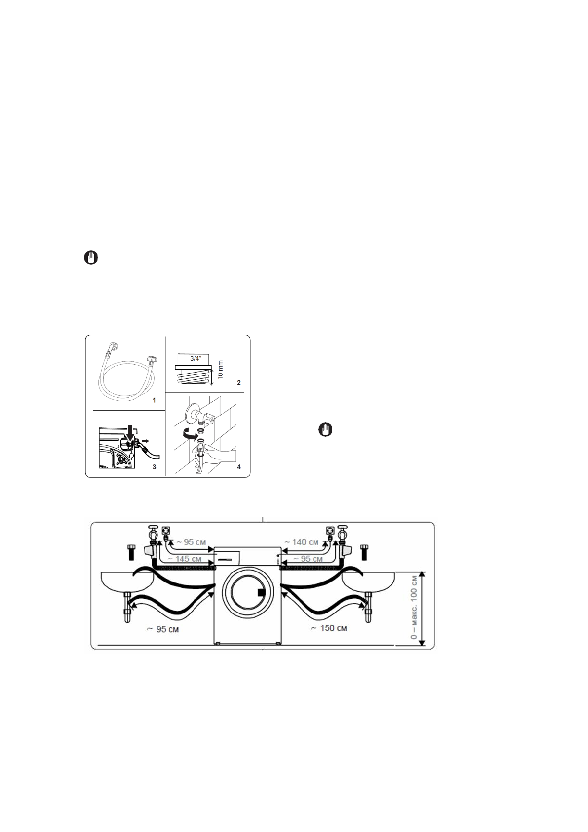
белой заглушкой необходимо подключать к впускному
штуцеру для холодной воды, а шланг с красной заглушкой -
к впускному штуцеру для горячей воды (в применимом
случае).
Если у вас нет подходящей розетки и
предохранителя, обратитесь за помощью к
квалифицированному электрику.
Для предотвращения утечек воды в местах
соединений водопроводные шланги
поставляются в комплекте с 1 или 2 гайками (в
зависимости от технических характеристик
машины). Наденьте их на концы подающих шлангов,
которые подсоединяются к водопроводу.
Мы не берем на себя ответственность за ущерб,
причиненный в связи с использованием
незаземленного оборудования.
2. Подсоедините новые подающие водопроводные шланги к
водопроводному крану с резьбой ¾".
Подключите конец водопроводного шланга с
белой заглушкой к белому впускному штуцеру для
воды, расположенному на задней панели машины,
а конец водопроводного шланга с красной
заглушкой - к красному впускному штуцеру для
воды (в применимом случае).
ПРИМЕЧАНИЕ:
Эксплуатация машины под низким
напряжением ведет к сокращению срока ее службы и снижению
производительности.
Затяните соединения вручную. При любых
сомнениях консультируйтесь с
квалифицированным сантехником.
Оптимальная эффективность работы машины
достигается при давлении потока воды в
диапазоне 0,1-1 МПа (давление в 0,1 МПа
означает, что полностью открытый кран
пропускает за одну минуту более 8 литров воды).
3.4
Подключение подающего водопроводного
шланга
3. Когда все соединения будут выполнены,
осторожно включите воду и проверьте их на отсутствие
утечек.
4. Убедитесь, что новые водопроводные шланги ни
за что не зацепились, не перегнуты, не скручены, не
заломлены, не раздавлены.
Если ваша машина оснащена впускным
штуцером для горячей воды, ее температура не
должна превышать 70 °C.
ПРИМЕЧАНИЕ:
Для подключения стиральной машины
к водопроводу необходимо
использовать только
поставленный с машиной новый водопроводный шланг.
Использование старых шлангов запрещено.
1.
В зависимости от технических характеристик машины, она
может комплектоваться одним (холодная вода) либо двумя
впускными соединениями (горячая и холодная вода). Шланг с
RU - 11