Стиральная машина Ariston ABS 636 TX - инструкция пользователя по применению, эксплуатации и установке на русском языке. Мы надеемся, она поможет вам решить возникшие у вас вопросы при эксплуатации техники.
Если остались вопросы, задайте их в комментариях после инструкции.
"Загружаем инструкцию", означает, что нужно подождать пока файл загрузится и можно будет его читать онлайн. Некоторые инструкции очень большие и время их появления зависит от вашей скорости интернета.

4
ÂÀÆÍÎ
îòêðîéòå
èëëþñòðàöèþ
íà ñòðàíèöå 14
èíñòðóêöèè
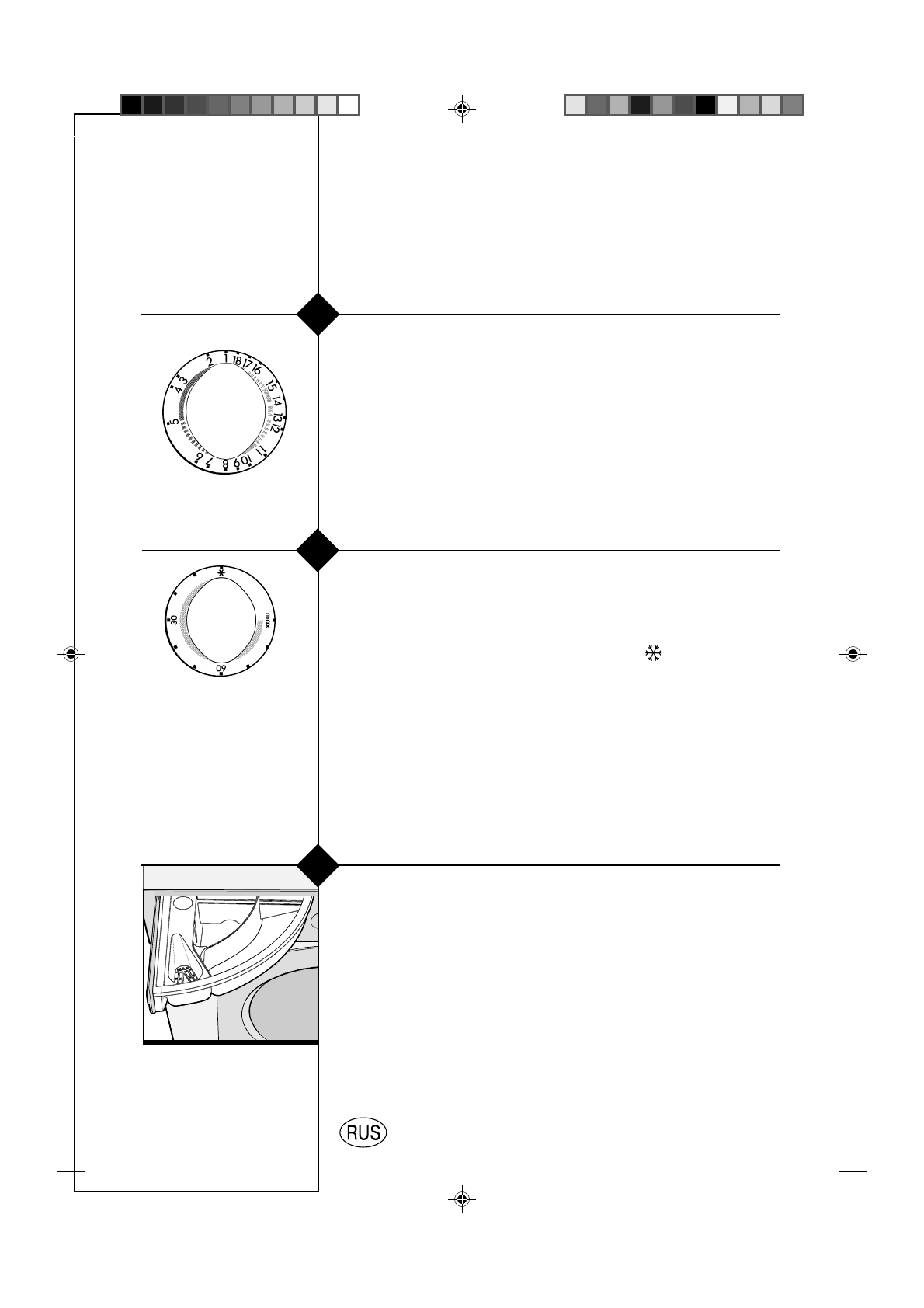
Îïèñàíèå
A
B
Ðóêîÿòêà âûáîðà ïðîãðàìì
Èñïîëüçóéòå ðóêîÿòêó äëÿ âûáîðà îäíîé èç 15 ïðîãðàìì
ñòèðêè, ïîäõîäÿùóþ äëÿ òêàíè, â ñîîòâåòñòâèè ñ ðåêîìåí-
äàöèÿìè (ñì. òàáëèöó ïðîãðàìì íà ñòðàíèöàõ 10-11).
Çàïîìíèòå: ðóêîÿòêó âûáîðà ïðîãðàìì ñëåäóåò ïîâîðà÷è-
âàòü ïî ÷àñîâîé ñòðåëêå è ïðè âûêëþ÷åííîé ñòèðàëüíîé
ìàøèíå.
Ðóêîÿòêà âûáîðà òåìïåðàòóðû
Èñïîëüçóéòå ðóêîÿòêó äëÿ óñòàíîâêè òåìïåðàòóðû ñòèðêè,
ïðèâåäåííîé â òàáëèöå ïðîãðàìì (ñòð. 10-11). Âû òàêæå
ìîæåòå ïðîâîäèòü ñòèðêó ïðè òåìïåðàòóðå íèæå ðåêîìåí-
äîâàííîé èëè õîëîäíóþ ñòèðêó (ñèìâîë ).
1
2
3
Ðàñïðåäåëèòåëü ìîþùèõ ñðåäñòâ
Ðàñïðåäåëèòåëü ìîþùèõ ñðåäñòâ èìååò òðè îòäåëåíèÿ,
îáîçíà÷åííûå
1
,
2
è
3
:
1
îòäåëåíèå äëÿ ïðåäâàðèòåëüíîé ñòèðêè
2
îòäåëåíèå äëÿ ñòèðêè
3
îòäåëåíèå äëÿ ñìÿã÷èòåëÿ áåëüÿ.
C












