Стиральная машина Zanussi ZWSH 7100 SS - инструкция пользователя по применению, эксплуатации и установке на русском языке. Мы надеемся, она поможет вам решить возникшие у вас вопросы при эксплуатации техники.
Если остались вопросы, задайте их в комментариях после инструкции.
"Загружаем инструкцию", означает, что нужно подождать пока файл загрузится и можно будет его читать онлайн. Некоторые инструкции очень большие и время их появления зависит от вашей скорости интернета.

C
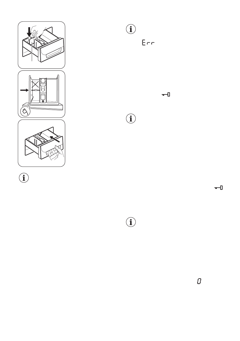
Використання тільки
рідкого миючого за‐
собу.
Вставте перегородку
дозатора миючого за‐
собу в положення C.
2
1
C
Положення C перего‐
родки дозатора при‐
значене для рідкого
миючого засобу.
Обережно закрийте до‐
затор миючого засобу.
Необхідні дії в разі використання
рідкого миючого засобу.
• Не користуйтеся гелевими або
густими рідкими миючими засо‐
бами.
• Не наповнюйте миючий засіб
вище обмеження на перегоро‐
дці.
• Не встановлюйте опцію попе‐
реднього прання.
• Не налаштовуйте функцію від‐
кладеного запуску.
ВСТАНОВЛЕННЯ ПРОГРАМИ
1. Поверніть перемикач програм, щоб
увімкнути прилад і встановити програму.
• Мигтить індикатор кнопки Start/Pause.
• На дисплеї відображається тривалість
програми.
2. У разі потреби змініть температуру чи
швидкість віджимання або додайте сумісні
опції. Після ввімкнення опції почне
світитися її індикатор.
Якщо якесь налаштування буде
виконано неправильно, на дисплеї
відобразиться повідомлення
.
АКТИВАЦІЯ ПРОГРАМИ БЕЗ
ВІДКЛАДЕНОГО ЗАПУСКУ
Натисніть кнопку Start/Pause.
• Індикатор кнопки Start/Pause припиняє
блимати та світиться постійно.
• Запускається програма, дверцята
блокуються й починає світитися
індикатор
.
• Час програми зменшується з кроком в
одну хвилину.
Зливний насос може
використовуватися протягом
короткого часу на початку циклу
прання.
ЗАПУСК ПРОГРАМИ З ФУНКЦІЄЮ
ВІДКЛАДЕНОГО ЗАПУСКУ
1. Натискайте кнопку Delay Start знов і знов,
доки на дисплеї не відобразиться
потрібний час відкладеного запуску.
Засвітиться індикатор відкладеного
запуску.
2. Натисніть кнопку Start/Pause:
• Дверцята блокуються, а індикатор
світиться.
• Прилад почне зворотний відлік.
• Після закінчення зворотного відліку
автоматично запускається програма.
Перш ніж натиснути кнопку Start/
Pause, можна скасувати або
змінити встановлену функцію
Delay Start. Натиснувши кнопку
Start/Pause, функцію Delay Start
можна лише скасувати.
Щоб скасувати функцію Delay Start:
a. Натисніть кнопку Start/Pause, аби
перевести прилад у режим паузи.
Індикатор кнопки Start/Pause блимає.
b. Натискайте кнопку Delay Start, доки на
дисплеї не відобразиться .
Натисніть кнопку Start/Pause знову,
щоб запустити програму негайно.
35












