Стиральная машина Zanussi ZWSF 7100 SS - инструкция пользователя по применению, эксплуатации и установке на русском языке. Мы надеемся, она поможет вам решить возникшие у вас вопросы при эксплуатации техники.
Если остались вопросы, задайте их в комментариях после инструкции.
"Загружаем инструкцию", означает, что нужно подождать пока файл загрузится и можно будет его читать онлайн. Некоторые инструкции очень большие и время их появления зависит от вашей скорости интернета.

C
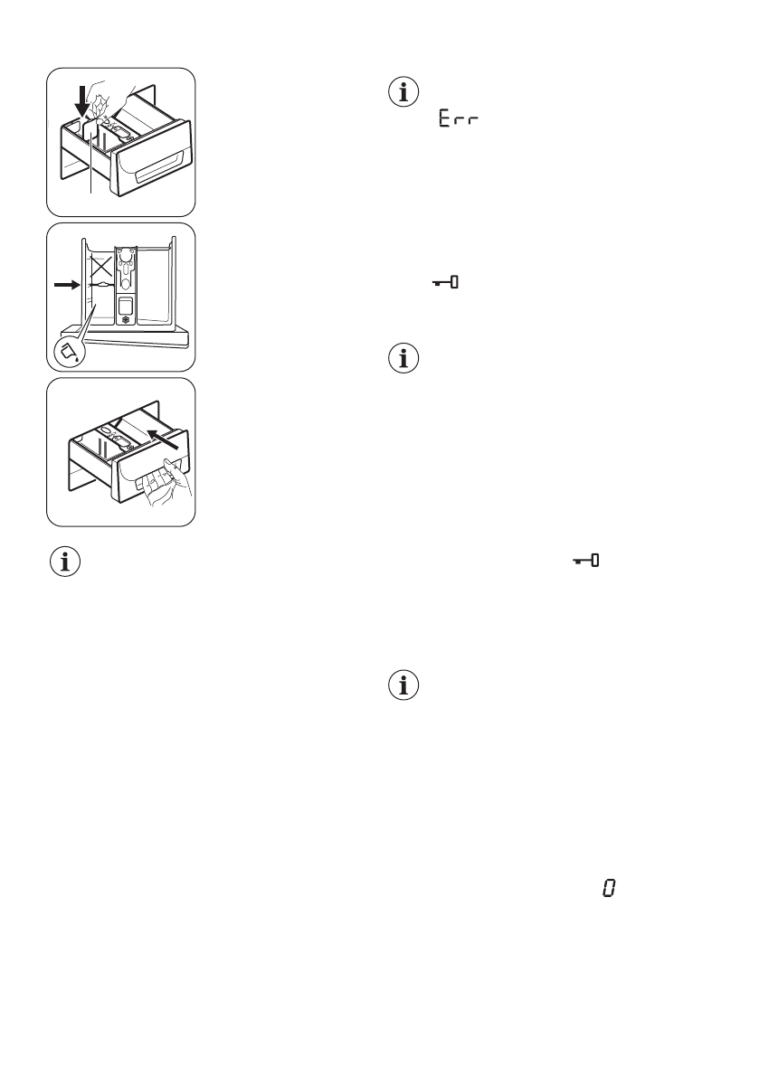
Использование толь‐
ко жидких моющих
средств:
Вставьте перегородку
для моющих средств в
положение С.
2
1
C
Положение C перего‐
родки для моющих
средств предназначе‐
но для жидкого мою‐
щего средства.
Аккуратно закрывайте
дозатор моющего
средства.
При использовании жидкого мою‐
щего средства:
• Не используйте гелеобразные
или густые жидкие моющие
средства.
• Не наливайте столько жидкого
средства для стирки, чтобы оно
переливалось через перегород‐
ку.
• Не используйте этап предвари‐
тельной стирки.
• Не используйте функцию от‐
срочки пуска.
ВЫБОР ПРОГРАММЫ
1. Включите прибор и выберите программу,
повернув селектор программ:
• Индикатор кнопки Start/Pause
замигает.
• На дисплее отобразится
продолжительность программы.
2. В случае необходимости измените
температуру и скорость отжима или
включите доступные режимы. При
включении режима загорается его
индикатор.
При ошибочной установке на
дисплее отобразится сообщение
.
ЗАПУСК ПРОГРАММЫ БЕЗ ОТСРОЧКИ
ПУСКА
Нажмите на кнопку Start/Pause.
• Индикатор кнопки Start/Pause
загорится, перестав мигать.
• Произойдет запуск программы, дверца
заблокируется и загорится индикатор
.
• Продолжительность программы начнет
уменьшаться с шагом в одну минуту.
В начале цикла стирки на короткое
время может включиться сливной
насос.
ЗАПУСК ПРОГРАММЫ С РЕЖИМОМ
ОТСРОЧКИ ПУСКА
1. Нажимайте на кнопку Delay Start, пока на
дисплее не отобразится нужное значение
отсрочки. Загорится индикатор отсрочки
пуска.
2. Нажмите на кнопку Start/Pause:
• Высветится индикатор блокировки
дверцы и индикатор
.
• Прибор начнет обратный отсчет
времени.
• По окончании обратного отсчета
произойдет автоматический запуск
программы.
Можно отменить или изменить
значение режима Delay Start до
нажатия на кнопку Start/Pause.
После нажатия на кнопку Start/
Pause можно только отменить
режим Delay Start.
Отмена режима Delay Start:
a. Нажмите на кнопку Start/Pause, чтобы
перевести прибор в режим паузы.
Индикатор кнопки Start/Pause
замигает.
b. Нажимайте на кнопку Delay Start, пока
на дисплее не появится .
Снова нажмите на кнопку Start/Pause
требуемое количество раз, чтобы
сразу же запустить программу.
14












