Стиральная машина Zanussi FL 503 CN - инструкция пользователя по применению, эксплуатации и установке на русском языке. Мы надеемся, она поможет вам решить возникшие у вас вопросы при эксплуатации техники.
Если остались вопросы, задайте их в комментариях после инструкции.
"Загружаем инструкцию", означает, что нужно подождать пока файл загрузится и можно будет его читать онлайн. Некоторые инструкции очень большие и время их появления зависит от вашей скорости интернета.

68
ù
ùä
äë
ëè
èã
ãì
ìÄ
Äí
íÄ
Äñ
ñà
àü
ü å
åÄ
Äò
òà
àç
çõ
õ
1
Ñ
ÑÓÓÁÁ‡‡ÚÚÓÓ Ï
ÏÓÓ˛
˛˘
˘Â„„ÓÓ ÒÒ‰
‰ÒÒÚÚ‚‚‡‡
é
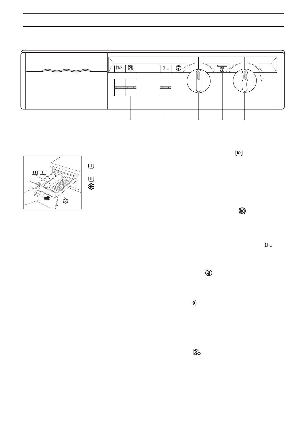
é··ÓÓÁÁÌ̇‡˜˜ÂÂÌÌËËflfl
艂‡ËÚÂθ̇fl
ÒÚË͇
éÒÌӂ̇fl ÒÚË͇
ëÏfl„˜ËÚÂθ Ú͇ÌË
2
ä
äÌÌÓÓÔÔÍ͇‡ ÔÔÓÓÎ
ÎÓÓ‚‚ËËÌÌ˚
˚ ÁÁ‡‡„„ÛÛÁÁÍÍËË
èË ÔÓÏÓ˘Ë ‰‡ÌÌÓÈ ÍÌÓÔÍË ÏÓÊÌÓ ÒÓ͇ÚËÚ¸
‡ Ò ı Ó ‰ ‚ Ó ‰ ˚ ‚ Ó ‚ Â Ï fl Ô Ó Î Ó Ò Í ‡ Ì Ë fl , Ò Ú Ë ‡ fl
Ì·Óθ¯Ë ÍÓ΢ÂÒÚ‚‡ ıÎÓÔ˜‡ÚÓ·ÛχÊÌÓ„Ó Ë
θÌflÌÓ„Ó ·Âθfl (χÍÒËχθ̇fl Á‡„ÛÁ͇ = 1,75
Í„.).
å ‡ ¯ Ë Ì ‡ ‚ ˚ Ô Ó Î Ì Ë Ú 3 Ô Ó Î Ó Ò Í ‡ Ì Ë fl ‚ Ï Â Ò Ú Ó
ÔÓÎÓÊÂÌÌ˚ı 4.
3
ä
äÌÌÓÓÔÔÍ͇‡ ÓÓÚÚÍÍÎ
β
˛˜˜ÂÂÌÌËËflfl ÓÓÚÚÊ
ÊËËÏ
χ‡
ç‡ÊÏËÚ ˝ÚÛ ÍÌÓÔÍÛ ‰Îfl ÒÚËÍË ÓÒÓ·ÂÌÌÓ Îfi„ÍËı
ı Î Ó Ô ˜ ‡ Ú Ó · Û Ï ‡ Ê Ì ˚ ı Ë Î Ë Î ¸ Ì fl Ì ˚ ı Ú Í ‡ Ì Â È , ˜ Ú Ó
ÔÓÁ‚ÓÎËÚ ÔÓÎÌÓÒÚ¸˛ ËÒÍβ˜ËÚ¸ ÓÚÊËχÌËÂ.
4
ä
äÌÌÓÓÔÔÍ͇‡ ÓÓÚÚÍÍ˚
˚‚‚‡‡ÌÌËËflfl ÁÁ‡‡„„ÛÛÁÁÓÓ˜˜ÌÌÓÓ„„ÓÓ Î
β
˛Í͇‡
ç‡ÊÏËÚ ˝ÚÛ ÍÌÓÔÍÛ, ˜ÚÓ·˚ ÓÚÍ˚Ú¸ βÍ.
5
ê
ê ÛÛ ˜˜ ÍÍ ‡‡ ‚‚ ˚
˚ ·· ÓÓ ‡‡ ÚÚ Â Ï
Ï ÔÔ Â ‡‡ ÚÚ ÛÛ ÌÌ ÓÓ „„ ÓÓ Â Ê
Ê ËË Ï
Ï ‡‡
((ÚÚÂÂÏ
ÏÓÓ„„ÛÛÎ
ÎflflÚÚÓÓ))
Ñ Î fl ‚ ˚ · Ó ‡ Ú Â Ï Ô Â ‡ Ú Û ˚ Ò Ú Ë Í Ë Û Ò Ú ‡ Ì Ó ‚ Ë Ú Â
Û˜ÍÛ Ì‡ ÌÂÓ·ıÓ‰ËÏÓ Á̇˜ÂÌË ÚÂÏÔ‡ÚÛ˚.
ÖÒÎË Ç‡¯Â ·Âθfi Ì ÒËθÌÓ Á‡„flÁÌÂÌÓ, ÚÓ ÏÓÊÌÓ
Ë Ò Ô Ó Î ¸ Á Ó ‚ ‡ Ú ¸ ı Ó Î Ó ‰ Ì Û ˛ Ò Ú Ë Í Û ( Û ˜ Í ‡ ‚
ÔÓÎÓÊÂÌËË
).
6
ë
ëËË„„Ì̇‡Î
θ¸Ì̇‡flfl Î
·‡Ï
ÏÔÔ‡‡ ‚‚ÍÍÎ
β
˛˜˜ÂÂÌÌËËflfl Ì̇‡ÔÔflflÊ
ÊÂÂÌÌËËflfl
ã ‡ Ï Ô ‡ ‚ Í Î ˛ ˜ ‡ Â Ú Ò fl , Í Ó „ ‰ ‡ Ï ‡ ¯ Ë Ì ‡ Ì ‡ ˜ Ë Ì ‡ Â Ú
‡·ÓÚÛ Ë ‚˚Íβ˜‡ÂÚÒfl ‚ ÍÓ̈ ÔÓ„‡ÏÏ˚.
7
ê
ê ÛÛ ˜˜ ÍÍ ‡‡ ‚‚ ˚
˚ ·· ÓÓ ‡‡ ÔÔ ÓÓ „„ ‡‡ Ï
Ï Ï
Ï ˚
˚ ËË ‚‚ ÍÍ Î
Î ˛
˛ ˜˜  ÌÌ ËË flfl // --
‚‚˚
˚ÍÍÎ
β
˛˜˜ÂÂÌÌËËflfl
Ñ Î fl ‚ ˚ · Ó ‡ Ì Â Ó · ı Ó ‰ Ë Ï Ó È Ô Ó „ ‡ Ï Ï ˚ Ò Ú Ë Í Ë
ÔÓ‚ÂÌËÚ ۘÍÛ ÔÔÓÓ ˜˜‡‡ÒÒÓÓ‚‚ÓÓÈÈ ÒÒÚÚÂÂÎ
ÎÍÍÂÂ..
ÑÎfl ‚Íβ˜ÂÌËfl χ¯ËÌ˚ ÔÓÚflÌËÚ ۘÍÛ Ì‡ Ò·fl,
‡ ‰Îfl ‚˚Íβ˜ÂÌËfl ̇ÊÏËÚ ̇ ÌÂfi.
8
è
èÓÓ„„‡‡Ï
ÏÏ
ÏÌ̇‡flfl Í͇‡ÚÚÓÓ˜˜Í͇‡
è
臇ÌÌÂÂÎ
θ¸ ÛÛÔÔ‡‡‚‚Î
ÎÂÂÌÌËËflfl
P0440
1
2 3
4
5
6
7
8












