Стиральная машина Zanussi FJS 1084 - инструкция пользователя по применению, эксплуатации и установке на русском языке. Мы надеемся, она поможет вам решить возникшие у вас вопросы при эксплуатации техники.
Если остались вопросы, задайте их в комментариях после инструкции.
"Загружаем инструкцию", означает, что нужно подождать пока файл загрузится и можно будет его читать онлайн. Некоторые инструкции очень большие и время их появления зависит от вашей скорости интернета.

69
SUOMI
Käyttö
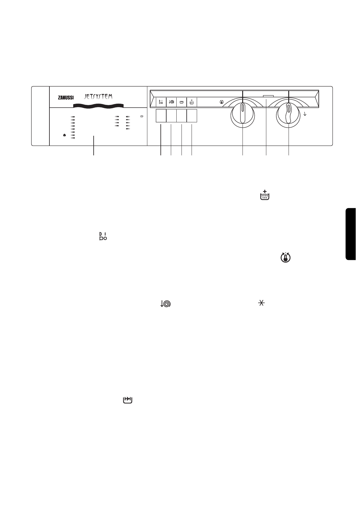
Ohjelmointipaneeli
1 Ohjelmataulukko
Käyttöohjeiden mukana toimitetaan suomenkielinen
ohjelmakortti.
2 Verkkokytkin
Pesuohjelma käynnistyy valitsinta painamalla.
Ohjelman ollessa käynnissä valitsinta painamalla
kone voidaan pysäyttää pyykin lisäämiseksi.
Painettaessa valitsinta uudelleen kone käynnistyy ja
ohjelma jatkuu. Kun ohjelma on päättynyt, kone
sammutetaan valitsinta painamalla.
3 Linkoamisnopeuden valitsin
Painamalla tätä valitsinta alennetaan
linkoamisnopeus seuraavasti:
• valko-kirjopyykki, ohjelmat «D», «F» ja «G»
1000/1100/1200 kierroksesta 650 kierr/min:n
mallin mukaan
• tekokuidut ja arat materiaalit (kaikki mallit)
900 kierroksesta 650 kierr/min:n (ojelma «P»)
• villa (kaikki mallit)
1000 kierroksesta 650 kierr/min:n (ojelma «P»).
4 Pikapesun valitsin
Painamalla tätä valitsinta B- ja J- ohjelmien
yhteydessä pesuaika lyhenee.
Valitsin on erityisen hyödyllinen, kun pestävät
vaatteet ovat vain hieman likaisia.
Suositeltu maksimilämpötila: 60°C.
5 Tehohuuhtelu
Painamalla tätä valitsinta normaalien valko- ja
kirjopesuohjelmien yhteydessä, pesu suoritetaan
runsaammalla vedellä.
Tätä suositellaan erityisesti alueilla, joissa vesi on erittäin
pehmeää sekä herkkäihoisille ihmisille.
6 Lämpötilanvalitsin
Valitse tällä valitsimella haluamasi pesulämpötila.
Käyttöohjeen kohdassa Ohjelmat esitellään eri
ohjelmissa suositeltavat lämpötilat. Valitsinta voidaan
kääntää sekä myötä- että vastapäivään.
Valitsimen ollessa merkin
kohdalla vettä ei
lämmitetä.
7 Toiminnan osoittava
merkkivalo
Merkkivalo syttyy koneen käynnistyessä ja sammuu
painettaessa verkkokytkintä uudelleen.
8 Ohjelmanvalitsin
Valitse käytettävä ohjelma pestävän materiaalin ja
vaatteiden likaisuuden mukaan.
Ohjelma valitaan kääntämällä säädintä
myötäpäivään.
1
2 3 4 5
6
7
8
Bomuld, hvid
Bomuld, hvid
Bomuld, kulørt
Bomuld, kulørt
Syntetisk vask
Syntetisk vask
Uld
Finvask
A
B
B
C
H
J
K
L
60º- 95º
60º- 95º
40º- 60º
30º- 40º
30º- 60º
30º- 60º
30º- 40º
30º- 40º
Temp.
Hurtigvask
Skylninger
Skyllemiddel
Kort centrifugering
Tømning
30º- 60º
Temp.
Knap
B
D
F
G
J
M
N
P
Q












