Стиральная машина WEISSGAUFF WM 40380 TD Inverter - инструкция пользователя по применению, эксплуатации и установке на русском языке. Мы надеемся, она поможет вам решить возникшие у вас вопросы при эксплуатации техники.
Если остались вопросы, задайте их в комментариях после инструкции.
"Загружаем инструкцию", означает, что нужно подождать пока файл загрузится и можно будет его читать онлайн. Некоторые инструкции очень большие и время их появления зависит от вашей скорости интернета.

12
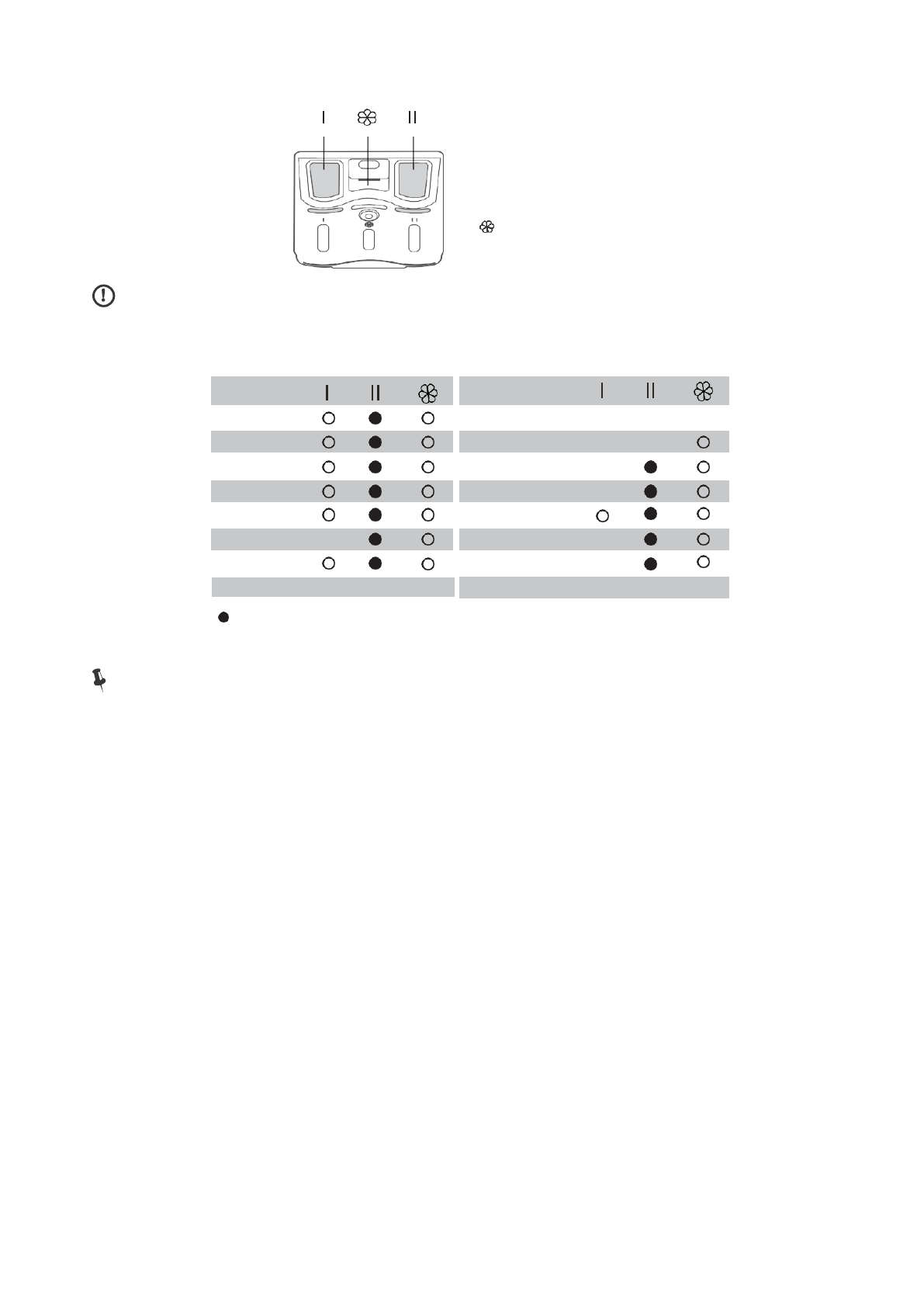
Дозатор моющего средства
Моющее средство необходимо добавлять в отсек «I» только в случае
выбора функции предварительной стирки.
Если Вы используете концентрированное моющее средство или
средство, обладающее высокой вязкостью, то перед тем, как их вылить в
лоток для моющих средств, рекомендуется использовать некоторое
количество воды для того, чтобы их разбавить и предотвратить
блокировку впускного отверстия моющего средства при наполнении
водой.
Пожалуйста, выбирайте подходящий тип моющего
средства в соответствии с различной температурой
стирки, чтобы получить лучший результат при меньшем
потреблении воды и энергии.
Внимание!
Примечание!
Предв.стирка
Кондиционер
Основное средство
I Средство для предварительной стирки
II Средство для основной стирки
Кондиционер
Обязательно
○
По выбору
Программа
Хлопок
Синтетика
Смешанные ткани
Джинсы
Спорт
Цветные ткани
Детская одежда
Очистка барабана
Программа
Отжим
Полоскание + Отжим
Шерсть
Деликатная
Быстрая 45’
Быстрая 15’
Хлопок ЭКО
Характеристики
Остались вопросы?Не нашли свой ответ в руководстве или возникли другие проблемы? Задайте свой вопрос в форме ниже с подробным описанием вашей ситуации, чтобы другие люди и специалисты смогли дать на него ответ. Если вы знаете как решить проблему другого человека, пожалуйста, подскажите ему :)













Некоторые вещи нельзя отжимать центрифугированием. В предыдущей машине была функция стирка без отжима. В этой машине такой функции нет. Как быть при стирке таких вещей?