Стиральная машина Samsung WF8590NMS - инструкция пользователя по применению, эксплуатации и установке на русском языке. Мы надеемся, она поможет вам решить возникшие у вас вопросы при эксплуатации техники.
Если остались вопросы, задайте их в комментариях после инструкции.
"Загружаем инструкцию", означает, что нужно подождать пока файл загрузится и можно будет его читать онлайн. Некоторые инструкции очень большие и время их появления зависит от вашей скорости интернета.

стирка белья
_23
02 стирка белья
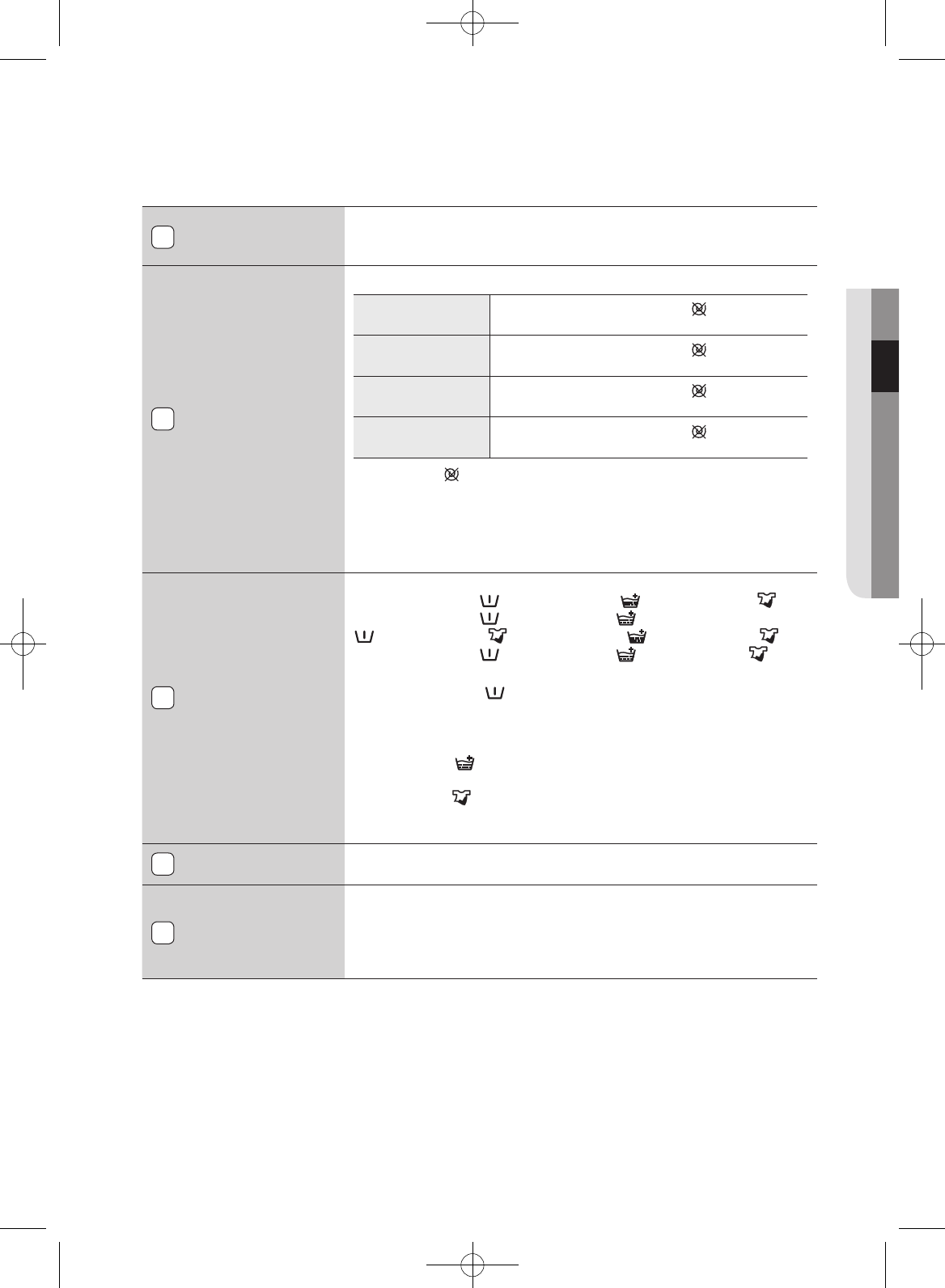
КНОПКА ВЫБОРА 
ТЕМПЕРАТУРЫ
Нажмите эту кнопку несколько раз для переключения доступных 
вариантов температуры воды: 
(холодная, 30 °C, 40 °C , 60 °C и 95 °C).
КНОПКА ВЫБОРА 
ОТЖИМА
Последовательно нажимайте кнопку для выбора скорости отжима.
WF8694
Все индикаторы выключены,  , 400, 800, 
1400 об/мин
WF8692 / WF8592 Все индикаторы выключены, , 400, 800,
1200 об/мин
WF8690 / WF8590 Все индикаторы выключены, , 400, 800,
1000 об/мин
WF8698 / WF8598 Все индикаторы выключены, , 400, 800,
800+ об/мин
“
Без отжима ”
– после последнего слива белье остается в
барабане без отжима.
“
Задержка полоскания (Все индикаторы выключены)” – белье
остается замоченным в воде, оставшейся после последнего 
полоскания. Перед извлечением белья должен быть выполнен 
цикл слива или отжима.
КНОПКА ВЫБОРА 
ПАРАМЕТРОВ 
СТИРКИ
Нажмите эту кнопку несколько раз для выбора параметров стирки: 
(Предварительная 
)
(Полоскание+
)
(Интенсивная
)
(Предварительная
) + (Полоскание+
)
(Предварительная
) + (Интенсивная
)
(Полоскание+
) + (Интенсивная
)
(Предварительная
) + (Полоскание+
) + (Интенсивная
)
(Выкл.)
“Предварительная
(
)”: используйте эту опцию для выбора
режима предварительной стирки. Режим предварительной стирки 
доступен только при использовании следующих программ: 
“Хлопок”, “Синтетика”, “Детские”, “Интенсивная”.
“Полоскание+
(
)”: выберите эту опцию для добавления
дополнительного цикла полоскания.
“Интенсивная
(
)”: выберите эту опцию, если белье сильно
загрязнено и необходима интенсивная стирка. Время цикла 
увеличивается для каждого цикла программы.
КНОПКА “СТАРТ/ 
ПАУЗА”
Нажмите для приостановки или перезапуска цикла стирки.
КНОПКА 
ВКЛЮЧЕНИЯ
Нажмите эту кнопку один раз, чтобы включить стиральную машину, 
и нажмите повторно, чтобы выключить.
Если стиральная машина остается включенной более 10 минут 
и не производится никаких операций, питание автоматически 
выключается.
6
7
8
4
5
WF8590NM-02796G-08_RU.indd 23
2013-5-21 8:55:37

 
 
 
 
 
 
 
 
 
 
 
 
 
 
 
 
 
 
 
 
 
 
 
 
 
 
 
 
 
 
 
 
 
 
 
 
 
 
 
 











