Стиральная машина LG WD-H069BD2S - инструкция пользователя по применению, эксплуатации и установке на русском языке. Мы надеемся, она поможет вам решить возникшие у вас вопросы при эксплуатации техники.
Если остались вопросы, задайте их в комментариях после инструкции.
"Загружаем инструкцию", означает, что нужно подождать пока файл загрузится и можно будет его читать онлайн. Некоторые инструкции очень большие и время их появления зависит от вашей скорости интернета.

41
РЕЖИМ ПРОГРАММИРОВАНИЯ - РЕЖИМ УСТАНОВКИ
Войти в режим
установок
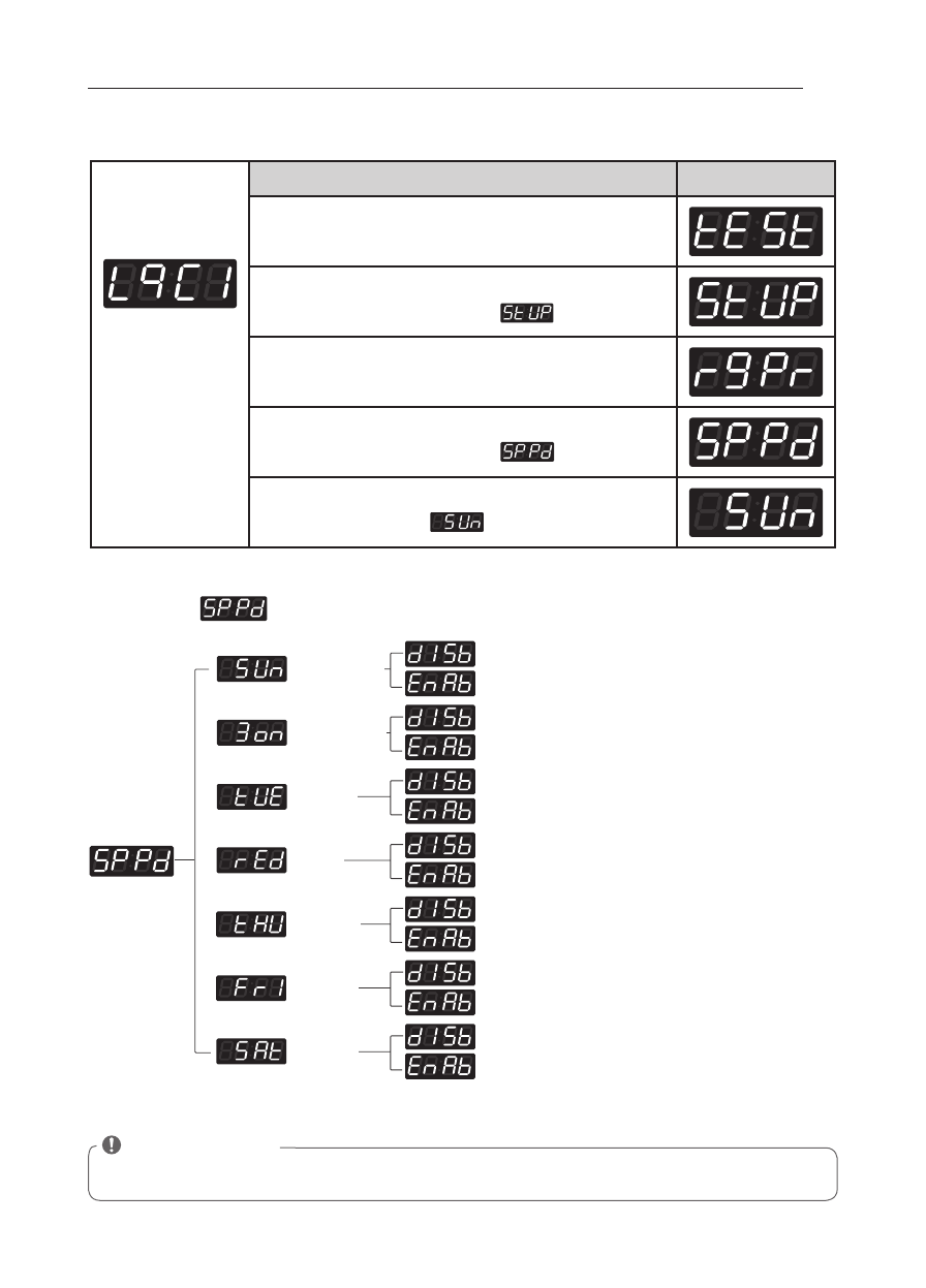
Вы увидите LqC1
Кнопка
На дисплее
Нажмите кнопку
90°C.
Нажимайте кнопку
75°C
или
60°C,
пока на дисплее
не появится нужное значение
.
Нажмите кнопку
СТАРТ.
Нажимайте кнопку
75°C
или
60°C,
пока на дисплее
не появится нужное значение
.
Нажмите кнопку
СТАРТ.
На дисплее появится
.
11. Как ввести день, когда будет действовать Специальная Цена
Структура
ВНИМАНИЕ
• Эта функция не применяется для типа OPL.
Воскресенье
Понедельник
Вторник
Среда
Четверг
Пятница
Суббота
Содержание
- 2 КОНСТРУКТИВНЫЕ ОСОБЕННОСТИ
- 3 УКАЗАНИЯ ПО ТЕХНИКЕ БЕЗОПАСНОСТИ; ВНИМАНИЕ; Утилизация старой машины
- 5 ОСНОВНЫЕ МЕРЫ ТЕХНИКИ БЕЗОПАСНОСТИ; СОХРАНИТЕ ДАННОЕ РУКОВОДСТВО; УКАЗАНИЯ ПО ЗАЗЕМЛЕНИЮ
- 6 МЕРЫ ПО ТЕХНИКЕ БЕЗОПАСНОСТИ; ИНСТРУКЦИИ ПО БЕЗОПАСНОЙ УСТАНОВКЕ
- 7 ИНСТРУКЦИИ ПО ТЕХНИКЕ БЕЗОПАСНОСТИ ПРИ ЭУСПЛУАТАЦИИ,
- 8 Если шнур питания поврежден, он; Необходимо использовать новый набор
- 9 СОДЕРЖАНИЕ
- 10 ИНФОРМАЦИЯ О ВАШЕЙ СТИРАЛЬНОЙ МАШИНЕ; Детали и принадлежности; Детали
- 11 Элементы панели управления; Тип OPL
- 13 Проверка и выбор; ИНСТРУКЦИИ ПО УСТАНОВКЕ
- 14 Распаковка и удаление
- 15 Подключение к водопроводу
- 16 Подключение слива
- 17 Выравнивание стиральной
- 18 ПОДГОТОВКА; Меры предосторожности по уходу за тканью до стирки
- 19 Ярлычки с описанием ухода
- 20 Загрузка диспенсера
- 21 ЭКСПЛУАТАЦИЯ СТИРАЛЬНОЙ МАШИНЫ; Режим готовности
- 22 РЕЖИМ ПРОГРАММИРОВАНИЯ
- 23 Монетный тип; Структура режима программирования
- 24 Тип OPL (без монетоприемника или считывателя
- 26 Как изменить обычную цену на стирку при холодной температуре.
- 29 Как изменить специальную цену
- 33 Структура
- 41 Как ввести день, когда будет действовать Специальная Цена
- 43 Настройка начала периода действия специальной цены
- 44 Настройка окончания периода действия специальной цены
- 45 Настройка времени стирки
- 46 Количество полосканий за цикл
- 47 Настройка времени полоскания
- 48 Максимальная скорость отжима – окончательное время отжима
- 49 Стоимость монеты 1
- 50 Стоимость монеты 2
- 51 Изменение приращения цены на пенни (Только для карточного типа)
- 52 Как изменить уровень воды
- 53 Громкость звукового сигнала
- 55 Как настроить количество капель
- 56 Как активировать настройки режима полоскания и отжима
- 58 Настройка специализированной программы стирки
- 59 РЕЖИМ ПРОГРАММИРОВАНИЯ – ТЕСТОВЫЙ РЕЖИМ; Диагностические тесты: 100
- 60 Переустановка на заводские параметры -
- 66 РЕЖИМ ПРОГРАММИРОВАНИЯ – РЕЖИМ
- 67 Списки данных в режиме сбора
- 68 Очистка Диспенсера; Уход после стирки
- 69 Очистка фильтров на впуске
- 70 Очистка фильтра дренажного
- 71 Чистка уплотнения дверцы
- 72 УСТРАНЕНИЕ НЕПОЛАДОК; Значение символов неисправностей, которые отображаются
- 74 СПЕЦИФИКАЦИЯ












