Стиральная машина Hansa AWU 610 DH - инструкция пользователя по применению, эксплуатации и установке на русском языке. Мы надеемся, она поможет вам решить возникшие у вас вопросы при эксплуатации техники.
Если остались вопросы, задайте их в комментариях после инструкции.
"Загружаем инструкцию", означает, что нужно подождать пока файл загрузится и можно будет его читать онлайн. Некоторые инструкции очень большие и время их появления зависит от вашей скорости интернета.

9
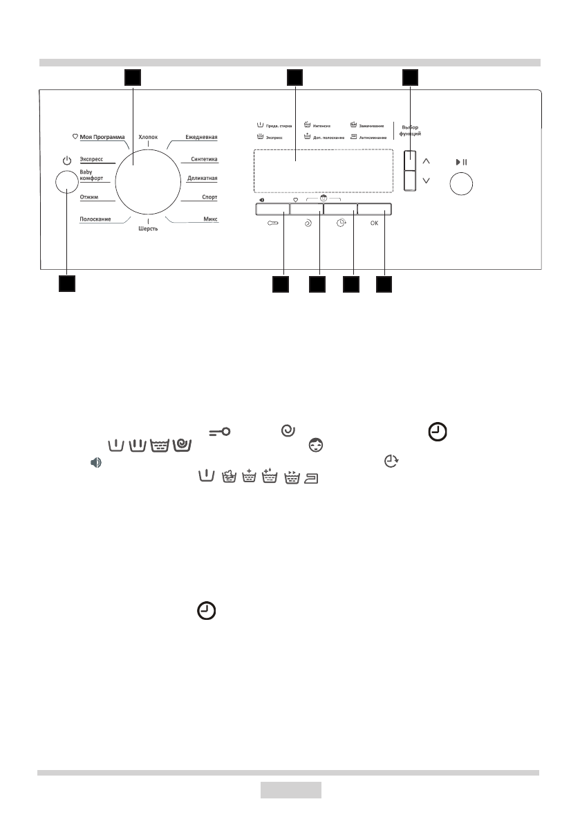
2. Дисплей
Во время работы стиральной машины дисплей показывает ориентировочное время,
оставшееся до окончания стирки и выбранную скорость вращения барабана. На
дисплее также появляются графические символы обозначающие заблокированные
дверцы стиральной машины , отжим , начало цикла стирки , символы хода
программы , символ Child Lock , символ включения звуковой сигна-
лизации , символ времени оставшегося до конца стирки и символы дополни-
тельно выбраных функций .
Время на дисплее высвечивается ориентировочно и может отличаться от реальной
продолжительности стирки в зависимости от температуры и напора воды, количе-
ства загруженных в барабан вещей, количества стирального порошка и т.п. Время
актуализируется автоматически в процессе стирки. Отсчет времени может останавли-
ваться на некоторое время или перескакивать.
При выборе функции Отсрочка старта на дисплее высвечивается время, оставшееся
до начала стирки и символ .
При выборе скорости отжима на дисплее появляются следующие величины: 0 (от-
ключение отжима) - 400 - 600 - 800 - 1000.
ОПИСАНИЕ ПАНЕЛИ УПРАВЛЕНИЯ
1
4
5
6
7
2
3
8
1.Кнопка Standby
Предназначена для включения / отключения стиральной машины и отмены програм-
мы.
3. Программатор
Программатор позволяет пользователям выбрать программу стирки в зависимости от
степени загрязнения, типа тканей и количества загруженных вещей, что обеспечива-
ет высокое качество стирки и более эффективную работу устройства. После вклю-
чения программы параметры выбранной ранее программы нельзя изменить посред-
ством переключения ручки программатора в другое положение.
Содержание
- 2 СОДЕРЖАНИЕ
- 3 ОБЩАЯ ИНФОРМАЦИЯ; Уважаемые Пользователи; ErP
- 4 УКАЗАНИЯ ПО БЕЗОПАСНОСТИ; крепится на задней стенке ее корпуса, в верхней части.; Если электрический соединительный кабель оборудования
- 5 Проверка устойчивости; положения и устойчивость на всех четырех ножках.; УКАЗАНИЯ ПО БЕЗОПАСНОСТИ; Прекращение эксплуатации; предписаниями, касающимися утилизации отходов и мусора.
- 6 УСТАНОВКА СТИРАЛЬНОЙ МАШИНЫ; машину на время транспорта (сохраните их на случай переезда или; Перед включением стиральной машины необходимо; II. Установка и регулировка положения стиральной машины
- 8 ОПИСАНИЕ СТИРАЛЬНОЙ МАШИНЫ; При выборе программы стирки необходимо обращать; ЗНАЧЕНИЕ СИМВОЛОВ НА ЭТИКЕТКАХ ОДЕЖДЫ; чистка
- 9 ОПИСАНИЕ ПАНЕЛИ УПРАВЛЕНИЯ
- 10 A) Предварительная стирка; Дополнительные функции:
- 12 Тогда данная настройка будет сохранена до следующего изменения.; Настройка режима «Моя программа»; барабана и дополнительные функции. Далее
- 14 ТАБЛИЦА ПРОГРАММ
- 17 Коды ошибок стиральной машины; Обнаружение ошибки сигнализируется появлением символов:; Код ошибки
- 18 ОЧИСТКА; I. Очистка фильтра насоса; Рекомендуется очищать фильтр насоса через ок.
- 19 РЕКОМЕНДАЦИИ ПО СТИРКЕ; смягчающие; производителя моющего средства, указанным на упаковке.
- 20 воды; Внимание! Не перегружайте барабан! Если вещи будут; барабана; Система может отреагировать двумя способами:
- 21 ткани
- 22 ТЕХНИЧЕСКИЕ ПАРАМЕТРЫ
- 23 КАРТА ПРОДУКТА; Hansa












