Стиральная машина Electrolux EWT 136511 W - инструкция пользователя по применению, эксплуатации и установке на русском языке. Мы надеемся, она поможет вам решить возникшие у вас вопросы при эксплуатации техники.
Если остались вопросы, задайте их в комментариях после инструкции.
"Загружаем инструкцию", означает, что нужно подождать пока файл загрузится и можно будет его читать онлайн. Некоторые инструкции очень большие и время их появления зависит от вашей скорости интернета.

нажмите
кнопки
"
Дополнительное
поло
-
скание
"
и
"
Отсрочка
пуска
"
,
и
удерживайте
их
в
нажатом
положении
до
тех
пор
,
пока
на
дисплее
не
появит
-
ся
символ
подтверждения
.
Настрой
-
ки
этой
функции
будут
сохранены
в
па
-
мяти
машины
.
Чтобы
выключить
дан
-
ную
функцию
,
повторите
ту
же
последо
-
вательность
действий
.
ЗВУКОВАЯ
СИГНАЛИЗАЦИЯ
Когда
звуковая
сигнализация
включена
,
сигнал
раздается
при
нажатии
кнопки
,
в
конце
программы
и
при
возникновении
неисправности
.
Для
отключения
сигнализации
включи
-
те
прибор
и
одновременно
нажмите
и
удерживайте
кнопки
"
Предварительная
стирка
"
и
"
Дополнительное
полоска
-
ние
"
до
появления
звукового
сигна
-
ла
.
Сигнал
раздается
только
в
случае
тревоги
.
Чтобы
заново
включить
эту
функцию
,
повторите
ту
же
последова
-
тельность
действий
.
ВЫПОЛНЕНИЕ
ЦИКЛА
СТИРКИ
ПЕРВОЕ
ИСПОЛЬЗОВАНИЕ
•
Убедитесь
в
том
,
что
подключе
-
ние
машины
к
электросети
,
водо
-
проводу
и
канализации
выполне
-
но
в
соответствии
с
инструкциями
по
установке
.
•
Извлеките
из
барабана
пенопла
-
стовую
вставку
и
все
прочие
предметы
.
•
Для
первого
раза
выполните
цикл
стирки
при
90°C,
без
белья
,
но
с
моющим
средством
,
чтобы
очи
-
стить
бак
.
ЕЖЕДНЕВНОЕ
ИСПОЛЬЗОВАНИЕ
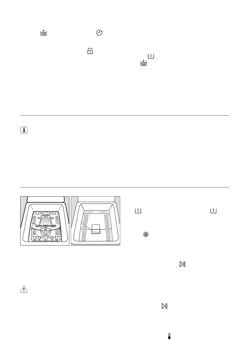
ЗАГРУЗКА
БЕЛЬЯ
A
A
•
Откройте
крышку
прибора
.
•
Откройте
барабан
,
нажав
запираю
-
щую
кнопку
А
3)
:
Автоматически
от
-
кроются
две
створки
.
•
Загрузите
белье
,
закройте
барабан
и
крышку
стиральной
машины
.
ВНИМАНИЕ
!
Перед
закрытием
крышки
прибора
убедитесь
,
что
барабан
закрыт
как
следует
:
•
Когда
обе
створки
закрыты
,
•
запирающая
кнопка
А
высвобо
-
ждается
.
ДОЗИРОВКА
МОЮЩИХ
СРЕДСТВ
Засыпьте
соответствующее
количество
стирального
порошка
в
отделения
стир
-
ки
и
предварительной
стирки
,
если
была
выбрана
функция
«
Предва
-
рительная
стирка
».
При
необходимости
засыпьте
в
отделение
смягчитель
для
ткани
.
ВЫБОР
ПРОГРАММЫ
Поверните
селектор
программ
на
нуж
-
ную
программу
.
Зеленый
индикатор
кнопки
"
Пуск
/
Пауза
"
включится
в
ми
-
гающем
режиме
.
Если
повернуть
селектор
программ
на
другую
программу
во
время
выполне
-
ния
цикла
,
то
машина
проигнорирует
эту
вновь
выбранную
программу
.
При
этом
красные
индикаторы
кнопок
"Err"
и
"
Пуск
/
Пауза
"
на
несколько
секунд
включатся
в
мигающем
режиме
.
ВЫБОР
ТЕМПЕРАТУРЫ
Последовательно
нажимая
кнопку
"
Температура
",
уменьшите
или
уве
-
3)
Зависит
от
модели
.
30
electrolux












