Стиральная машина Electrolux EWS 1064 SAU - инструкция пользователя по применению, эксплуатации и установке на русском языке. Мы надеемся, она поможет вам решить возникшие у вас вопросы при эксплуатации техники.
Если остались вопросы, задайте их в комментариях после инструкции.
"Загружаем инструкцию", означает, что нужно подождать пока файл загрузится и можно будет его читать онлайн. Некоторые инструкции очень большие и время их появления зависит от вашей скорости интернета.

3.
B
4.
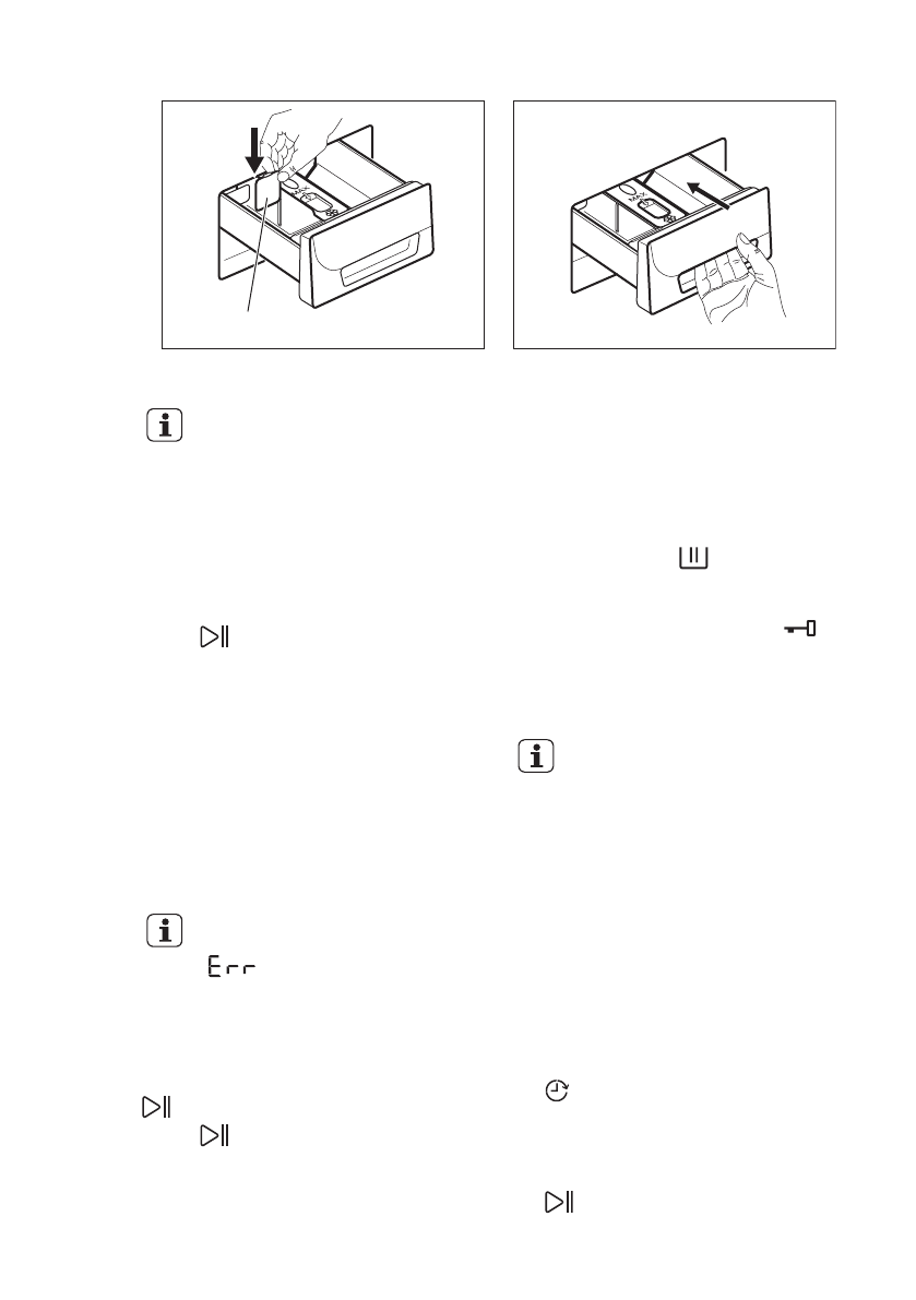
• A қалпы ұнтақ жуғыш затқа арналған (зауыттық бапталым).
• B - сұйық жуғыш затқа арналған.
Сұйық жуғыш затты пайдаланған кезде:
• Қоймалжың немесе қою сұйық жуғыш заттарды қолданбаңыз.
• Сұйық жуғыш затты ең жоғары деңгейден асырып салмаңыз.
• Алдын ала жуу циклын орнатпаңыз.
• Кешіктіріп бастау параметрін орнатпаңыз.
10.5 Бағдарламаны орнату
1. Бағдарлама тетігін бұрап, жуу
бағдарламасын орнатыңыз:
•
индикаторы жыпылықтайды.
• Дисплейде Уақыт
басқарушысының деңгейі,
бағдарламаның уақыты және
бағдарлама циклдарының
индикаторлары көрінеді.
2. Қажет болса, температура мен
айналдыру жылдамдығын
өзгертіңіз немесе қолжетімді
параметрлерді қосыңыз.
Параметрді қосқан кезде
орнатылған параметрдің
индикаторы жанады.
Егер қате орнатып
қойсаңыз, бейнебетте
көрсетіледі.
10.6 Кешіктіріп бастау
функциясы жоқ
бағдарламаны бастау
түймешігін басыңыз.
•
индикаторы жыпылықтауын
тоқтатып, жанған қалпы тұрады.
• Бейнебетте
индикаторы
жыпылықтай бастайды.
• Бағдарлама басталады да, есік
құлыпталып, дисплейде
индикаторы көрсетіледі.
• Құрылғыға су құйылған кезде су
төгетін сорғы шамалы уақыт
жұмыс істейді.
Бағдарлама басталғаннан
кейін шамамен 15
минуттан кейін:
• Құрылғы
бағдарламаның
ұзақтығын автоматты
түрде кірдің ластану
деңгейіне сай келтіріп
реттейді.
• Бейнебетте жаңа мән
көрсетіледі.
10.7 Кешіктіріп бастау
функциясы бар
бағдарламаны бастау
1.
түймешігін бейнебетте
орнатқыңыз келген кешіктіріп
бастау уақыты көрсетілгенше
қайта-қайта басыңыз.
Бейнебетте тиісті индикатор жанады.
2.
түймешігін басыңыз:
ҚАЗАҚ
15
Характеристики
Остались вопросы?Не нашли свой ответ в руководстве или возникли другие проблемы? Задайте свой вопрос в форме ниже с подробным описанием вашей ситуации, чтобы другие люди и специалисты смогли дать на него ответ. Если вы знаете как решить проблему другого человека, пожалуйста, подскажите ему :)












