Стиральная машина Electrolux EWG 12740 W - инструкция пользователя по применению, эксплуатации и установке на русском языке. Мы надеемся, она поможет вам решить возникшие у вас вопросы при эксплуатации техники.
Если остались вопросы, задайте их в комментариях после инструкции.
"Загружаем инструкцию", означает, что нужно подождать пока файл загрузится и можно будет его читать онлайн. Некоторые инструкции очень большие и время их появления зависит от вашей скорости интернета.

12
electrolux
Эксплуатация
Максимальные скорости:
●
изделия из хлопка: 1200 об/мин
●
Шерсть и ручная стирка: 1000 об/мин
●
Cинтетика и нижнее белье: 900 об/мин;
●
деликатные ткани и шелк: 700 об/мин.
Без отжима
отменяет все стадии
отжима и увеличивает число полосканий
для программ стирки хлопка, синтетики,
шелка, деликатных и джинсовых тканей.
Остановка с водой в баке
:
при выборе
этой функции вода после последнего
полоскания не сливается для
предотвращения образования складок. По
окончании программы на дисплее мигает ноль
(
0.00
), горит символ
(Дверца), индикатор
кнопки «Старт/Пауза» гаснет, а дверца -
заблокирована, напоминая, что следует слить
воду из машины.
Для слива воды:
●
поверните селектор программ на “
O
”
●
выберите программу
(Слив) или
(Отжим)
●
при необходимости уменьшите скорость
отжима с помощью соответствующей
кнопки
●
нажмите кнопку «Старт/Пауза»
●
при окончании программы на дисплее будет
мигать
0.00
. Cимьол
(Дверца) исчезает, и
дверцу можно открыть.
Ночной цикл
:
при выборе этой функции
вода после последнего полоскания не
сливается для предотвращения образования
складок на белье.
Так как все этапы отжима отменяются, этот
цикл стирки совсем бесшумный и может
использоваться ночью, когда действует более
низкий тариф на электроэнергию.
При стирке хлопка, синтетики, шелка,
деликатных вещей и джинсовых тканей
программы полоскания выполняются с
большим количеством воды.
По окончании программы на дисплее мигает
0.00
, символ
(Дверца) остается видимым,
индикатор «Старт/Пауза» гаснет, а дверца -
блокирована, напоминая, что следует слить
воду.
Для осуществления слива воды
выполните операции, приведенные в
описании предыдущей функции.
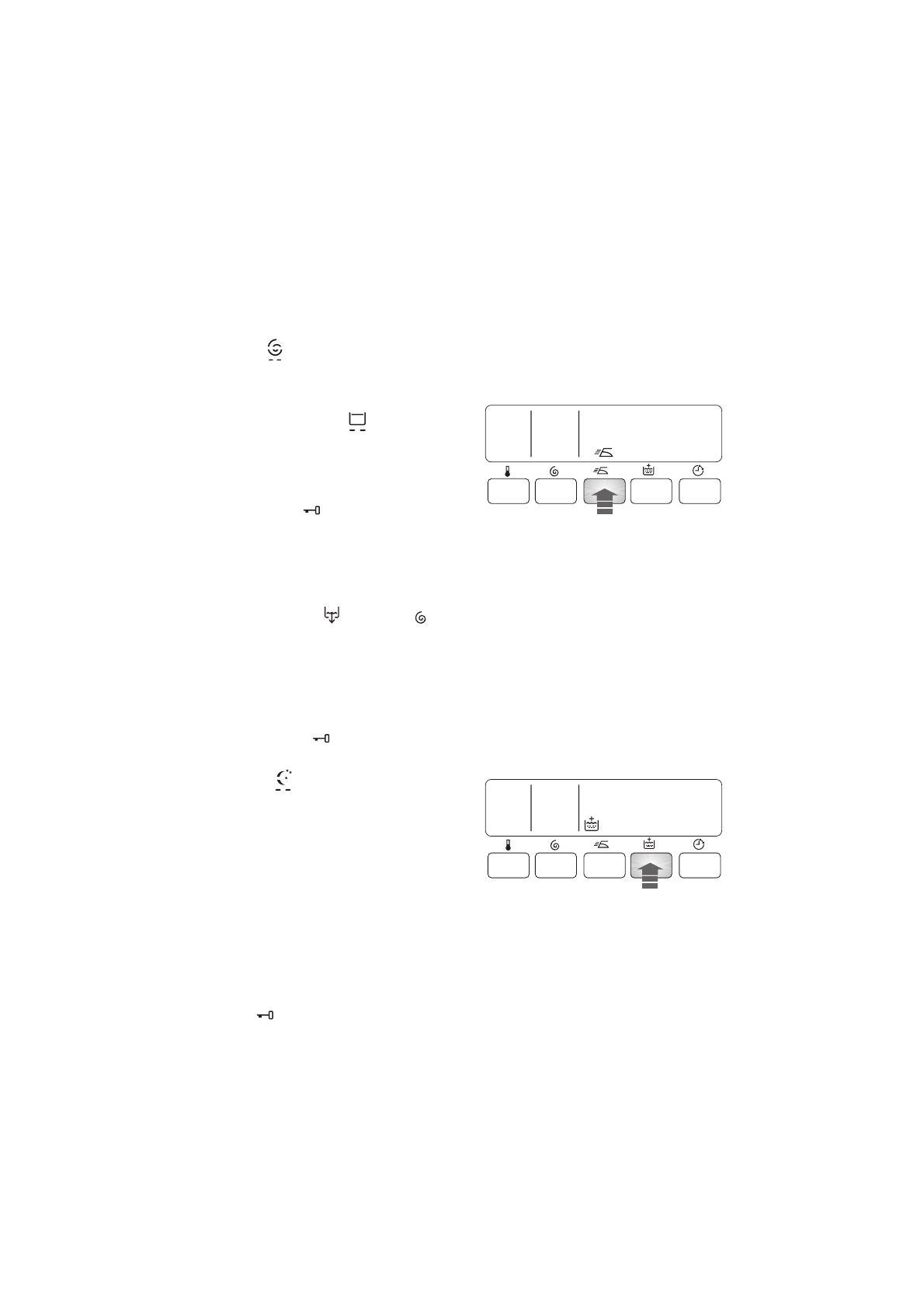
Выбор функции «Легкая глажка»
При нажатии этой кнопки белье стирается и
отжимается очень бережно во избежание
образования складок. Это облегчает его
глажку. Кроме того машина выполнит
несколько дополнительных полосканий при
выполнении программы для хлопка,
синтетики и джинсовых тканей . Эту функцию
можно использовать только с программами
стирки хлопка и синтетики. При выборе этой
функции для программ стирки хлопка и
джинсовых тканей скорость отжима будет
автоматически снижена до 900 об.мин.
Выберите функцию “Дополнительное
полоскание”
Функцию “Дополнительное полоскание”
можно выбрать для всех программ, кроме
программ стирки шерстяных изделий и
ручной стирки. Машина при этом выполнит
несколько дополнительных полосканий.
Эта опция рекомендуется для людей,
страдающих аллергией на моющие средства,
а также в зонах с очень мягкой водой.
Содержание
- 4 содержание; Содержание; В данном руководстве используются следующие символы:
- 5 информация по технике безопасности; Общие правила безопасности
- 6 информация по технике безопасности; Oпасность
- 7 описание машины 7; Описание машины; Предварительная стирка; Дозатор моющих средств; JET
- 8 Панель управления
- 9 эксплуатация; Эксплуатация; дозатора моющих; Акустические сигналы; при выборе программы стирки; Устройство для безопасности детей
- 15 столбцы и поля
- 17 Окончание программы; Если функции; Остановка с водой в баке; или; Ночной цикл; для выключения
- 18 Рекомендации по стирке
- 20 рекомендации по стирке
- 22 программы стирки; Программы стирки; Температура
- 24 Сведения о программах
- 25 Чистка и уход; Мы рекомендуем регулярно выполнять так
- 27 Аварийный слив; • При необходимости прочистите фильтр,; чистка и уход
- 28 Если машина не работает; красный
- 29 Прочистите сливной фильтр.
- 30 Перераспределите белье.
- 31 В машине не видна вода
- 32 Технические данные; технические данные
- 34 Установка; Распаковка; После снятия всей упаковки положите
- 35 Размещение; В этом случае; вентилируемым; Сливной шланг не должен иметь перегибов.
- 36 Подсоединение к водопроводу; не менее
- 37 Подключение к электросети
- 39 Встроенная установка; Ответная часть магнита
- 41 условия гарантии; Сервисное обслуживание и; • Гарантия на устройство начинает; Гарантия/сервисная служба
- 42 și; Сервисные центры












