Стиральная машина Electrolux EWF1484RR - инструкция пользователя по применению, эксплуатации и установке на русском языке. Мы надеемся, она поможет вам решить возникшие у вас вопросы при эксплуатации техники.
Если остались вопросы, задайте их в комментариях после инструкции.
"Загружаем инструкцию", означает, что нужно подождать пока файл загрузится и можно будет его читать онлайн. Некоторые инструкции очень большие и время их появления зависит от вашей скорости интернета.

3.
B
4.
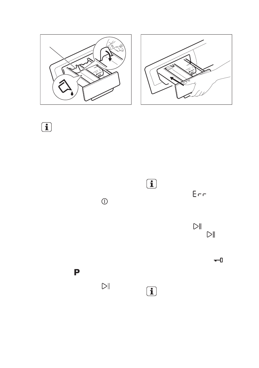
• Положение A для стирального порошка (заводская настройка).
• Положение B для жидкого средства для стирки.
При использовании жидкого средства для стирки:
• Не используйте гелеобразные или густые жидкие средства для
стирки.
• Не превышайте максимальный уровень жидкого средства для
стирки.
• Не используйте режим «Отсрочка пуска» (или «Время
окончания»).
10.5 Включение прибора
Для включения или выключения
прибора нажмите и удерживайте
несколько секунд кнопку .
При включении прибора выдается
звуковой сигнал. Прибор выполняет
анимацию запуска. Анимация быстро
показывает каждую программу стирки,
значение температуры по умолчанию
и настройки отжима.
На дисплее отображается слово Вкл.
10.6 Выбор программы
1. Нажмите на кнопку выбора
программ и выберите
программу:
• Индикатор кнопки
замигает.
• На дисплее отобразится
продолжительность программы.
2. В случае необходимости измените
температуру и скорость отжима
или включите доступные функции.
При включении функции
загорается ее индикатор.
При ошибочной установке
на дисплее отобразится
сообщение
.
10.7 Запуск программы без
режима Oкончание через
Нажмите на кнопку
.
• Индикатор кнопки
загорится, перестав мигать.
• Произойдет запуск программы,
дверца заблокируется и
загорится индикатор
.
• В начале цикла стирки на
короткое время может
включиться сливной насос.
Примерно через 15 минут
после запуска программы:
• Прибор автоматически
регулирует
продолжительность
программы в
соответствии с
объемом белья.
• На дисплее отобразится
новое значение.
РУССКИЙ
15













