Стиральная машина Electrolux EWF 1487 HDW - инструкция пользователя по применению, эксплуатации и установке на русском языке. Мы надеемся, она поможет вам решить возникшие у вас вопросы при эксплуатации техники.
Если остались вопросы, задайте их в комментариях после инструкции.
"Загружаем инструкцию", означает, что нужно подождать пока файл загрузится и можно будет его читать онлайн. Некоторые инструкции очень большие и время их появления зависит от вашей скорости интернета.

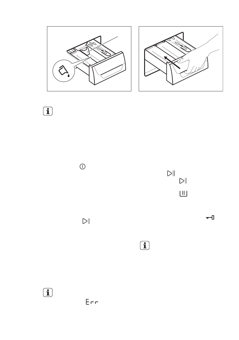
3.
B
4.
• Положение
A
для стирального порошка (заводская настройка).
• Положение
B
для жидкого средства для стирки.
При использовании жидкого средства для стирки:
• Не используйте гелеобразные или густые жидкие средства для
стирки.
• Не превышайте максимальный уровень жидкого средства для
стирки.
• Не используйте этап предварительной стирки.
• Не используйте функцию отсрочки пуска.
10.5
Включение прибора
Нажмите кнопку для включения или
отключения прибора. При включении
прибора выдается звуковой сигнал.
10.6
Выбор программы
1.
Выберите программу стирки,
повернув селектор программ:
• При этом загорится индикатор
соответствующей программы.
• Индикатор
замигает.
• На дисплее отобразится
уровень Менеджера времени,
продолжительность программы
и индикаторы этапов
программы.
2.
В случае необходимости измените
температуру, скорость отжима,
продолжительность цикла или
включите доступные функции. При
включении функции загорается ее
индикатор.
При ошибочной установке
на дисплее отобразится
сообщение
.
10.7
Запуск программы без
отсрочки пуска
Нажмите на
.
• Индикатор
перестает мигать
и включается.
• Индикатор
начнет мигать на
дисплее.
• Программа запускается, дверца
блокируется, на дисплее
появляется индикатор
.
• В ходе набора прибором воды
на короткое время может
включиться сливной насос.
Примерно через 15 минут
после запуска программы:
• Прибор автоматически
регулирует
продолжительность
программы в
соответствии с
объемом белья.
• На дисплее отобразится
новое значение.
www.electrolux.com
44
Содержание
- 30 Установка
- 32 Утилизация; ОПИСАНИЕ ИЗДЕЛИЯ; Обзор прибора
- 33 Набор крепежных; ПАНЕЛЬ УПРАВЛЕНИЯ; Описание панели управления
- 34 Дисплей
- 35 ПРОГРАММЫ; Таблица программ
- 38 ПОКАЗАТЕЛИ ПОТРЕБЛЕНИЯ
- 39 РЕЖИМЫ; Temperature
- 40 Prewash
- 41 My favourites
- 42 ПАРАМЕТРЫ; Защита от детей; Постоянное; Звуковая сигнализация; ПЕРЕД ПЕРВЫМ ИСПОЛЬЗОВАНИЕМ; Загрузка белья
- 44 Включение прибора
- 46 Функция; ПОЛЕЗНЫЕ СОВЕТЫ
- 48 УХОД И ОЧИСТКА
- 52 ПОИСК И УСТРАНЕНИЕ НЕИСПРАВНОСТЕЙ; Введение; Возможные неисправности
- 55 ТЕХНИЧЕСКИЕ ДАННЫЕ; АВАРИЙНОЕ ОТКРЫВАНИЕ ДВЕРЦЫ
- 56 ОХРАНА ОКРУЖАЮЩЕЙ СРЕДЫ












