Стиральная машина Electrolux EW8F3R28S - инструкция пользователя по применению, эксплуатации и установке на русском языке. Мы надеемся, она поможет вам решить возникшие у вас вопросы при эксплуатации техники.
Если остались вопросы, задайте их в комментариях после инструкции.
"Загружаем инструкцию", означает, что нужно подождать пока файл загрузится и можно будет его читать онлайн. Некоторые инструкции очень большие и время их появления зависит от вашей скорости интернета.

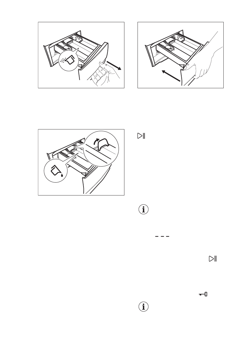
2. Натисніть на важіль донизу, щоб
вийняти лоток.
3. Для використання порошкового
мийного засобу слід повернути
клапан уверх.
4. Для використання рідкого мийного
засобу слід повернути клапан униз.
Якщо клапан знаходиться ВНИЗУ:
• Не користуйтеся гелевими або
густими рідкими миючими
засобами.
• Не перевищуйте рівень рідкого
миючого засобу, зазначений на
клапані.
• Не встановлюйте фазу
попереднього прання.
• Не налаштовуйте функцію
відкладеного запуску.
5. Відміряйте необхідну кількість
миючого засобу й кондиціонера
для тканин.
6. Обережно закрийте дозатор
миючого засобу.
Стежте за тим, щоб клапан не
блокував лоток під час зачинення.
10.5 Встановлення програми
1. Поверніть перемикач програм, щоб
обрати бажану програму прання.
Мигтить індикатор кнопки Старт/Пауза
.
На дисплеї відображається орієнтовна
тривалість програми.
2. Щоб змінити температуру та/або
швидкість віджимання, торкніться
відповідних кнопок.
3. За бажанням встановіть одну або
декілька опцій, торкнувшись
відповідних кнопок. На дисплеї
засвітяться відповідні індикатори, а
задана інформація відповідно
зміниться.
У випадку, якщо не
можливо встановити
бажану опцію, лунає
звуковий сигнал і на
дисплеї відображається
.
10.6 Запуск програми
Торкніться кнопки Старт/Пауза
,
щоб розпочати виконання програми.
Відповідний індикатор припинить
блимати та почне світитися постійно.
Програма запускається, і дверцята
блокуються. На дисплеї
відображається індикатор
.
Протягом короткого часу,
поки прилад наповнюється
водою, може працювати
зливний насос.
УКРАЇНСЬКА
63
Характеристики
Остались вопросы?Не нашли свой ответ в руководстве или возникли другие проблемы? Задайте свой вопрос в форме ниже с подробным описанием вашей ситуации, чтобы другие люди и специалисты смогли дать на него ответ. Если вы знаете как решить проблему другого человека, пожалуйста, подскажите ему :)












