Стиральная машина Electrolux EW6S4R 26 BI - инструкция пользователя по применению, эксплуатации и установке на русском языке. Мы надеемся, она поможет вам решить возникшие у вас вопросы при эксплуатации техники.
Если остались вопросы, задайте их в комментариях после инструкции.
"Загружаем инструкцию", означает, что нужно подождать пока файл загрузится и можно будет его читать онлайн. Некоторые инструкции очень большие и время их появления зависит от вашей скорости интернета.

1
Верхняя панель
2
Дозатор моющего средства
3
Панель управления
4
Рукоятка дверцы
5
Табличка с техническими данными
6
Фильтр сливного насоса
7
Ножки для выравнивания прибора
8
Сливной шланг
9
Штуцер для подсоединения
наливного шланга
10
Сетевой кабель
11
Транспортировочные болты
12
Держатель для шланга
6. ПАНЕЛЬ УПРАВЛЕНИЯ
6.1 Особые функции
Ваша новая стиральная машина
отвечает всем современным
требованиям, предъявляемым к
эффективной и бережной стирке
белья при низком расходе воды,
энергии и моющих средств.
• Система SensiCare автоматически
корректирует продолжительность
программы сообразно загрузке
барабана для достижения
идеальных результатов стирки за
минимально возможное время.
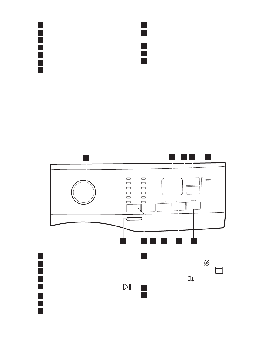
6.2 Описание панели управления
2
3
4
5
11
10
7
1
6
8
9
1
Селектор программ
2
Дисплей
3
Сенсорная кнопка Отсрочка старта
4
Сенсорная кнопка Time Manager
5
Старт/Пауза Сенсорная кнопка
6
Сенсорная кнопка +Мягкость
7
Сенсорная кнопка +Полоскание
8
Сенсорная кнопка Предв. cтирка
9
Сенсор опций снижения Отжим
• Без отжима Опция
• Ост. полоскания Опция
• Tиxo Опция
10
Сенсорная кнопка Темп.
11
Кнопка Вкл/Выкл
www.electrolux.com
12













