Стиральная машина AEG L8FEC68SR - инструкция пользователя по применению, эксплуатации и установке на русском языке. Мы надеемся, она поможет вам решить возникшие у вас вопросы при эксплуатации техники.
Если остались вопросы, задайте их в комментариях после инструкции.
"Загружаем инструкцию", означает, что нужно подождать пока файл загрузится и можно будет его читать онлайн. Некоторые инструкции очень большие и время их появления зависит от вашей скорости интернета.

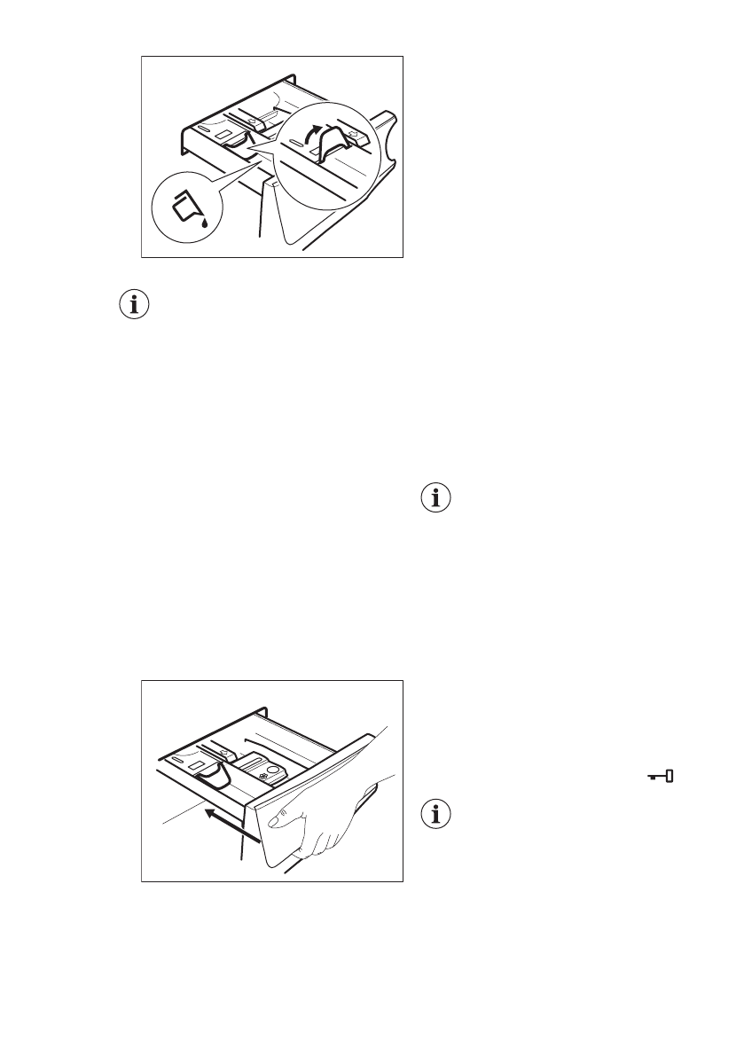
Если заслонка
установлена в НИЖНЕЕ
положение:
• Не используйте
гелеобразные или
густые жидкие
моющие средства.
• Не добавляйте
жидкого моющего
средства выше
предельного уровня,
указанного на
заслонке.
• Не используйте этап
предварительной
стирки.
• Не используйте
функцию задержки
пуска.
5. Отмерьте количество средства для
стирки и кондиционера для ткани.
6. Осторожно закройте дозатор
средства для стирки.
Убедитесь, что заслонка не
препятствует закрыванию ящичка.
10.5 Выбор программы
1. Поверните селектор программ на
требуемую программу стирки. При
этом загорится индикатор
соответствующей программы.
Индикатор кнопки Старт/Пауза
замигает.
На дисплее отобразится максимально
заявленная для данной программы
загрузка, температура по умолчанию,
максимальная скорость отжима, этапы
стирки (если это предусмотрено) и
ориентировочная продолжительность
программы.
2. Для изменения температуры или
скорости отжима коснитесь
соответствующих кнопок.
3. При необходимости задайте одну
или более опций, коснувшись
соответствующих кнопок. На
дисплее загорятся
соответствующие индикаторы и
изменятся соответствующие
показатели.
В случае, если выбор
недопустим, индикаторы
не загорятся и будет
выдан звуковой сигнал.
10.6 Запуск программы
Коснитесь кнопки Старт/Пауза для
запуска программы.
Соответствующий индикатор
перестанет мигать и загорится
постоянным светом.
Индикатор выполняемого этапа на
дисплее начнет мигать, а индикатор
максимальной загрузки погаснет.
Начнется выполнение программы;
дверца будет заблокирована. На
дисплее отобразится индикатор
.
Перед набором воды на
короткое время может
включиться сливной насос.
10.7 Запуск программы с
отсрочкой пуска
1. Последовательным касанием
кнопки Отсрочка старта добейтесь
отображения на дисплее
РУССКИЙ
27












