Стиральная машина AEG L7FEC48SR - инструкция пользователя по применению, эксплуатации и установке на русском языке. Мы надеемся, она поможет вам решить возникшие у вас вопросы при эксплуатации техники.
Если остались вопросы, задайте их в комментариях после инструкции.
"Загружаем инструкцию", означает, что нужно подождать пока файл загрузится и можно будет его читать онлайн. Некоторые инструкции очень большие и время их появления зависит от вашей скорости интернета.

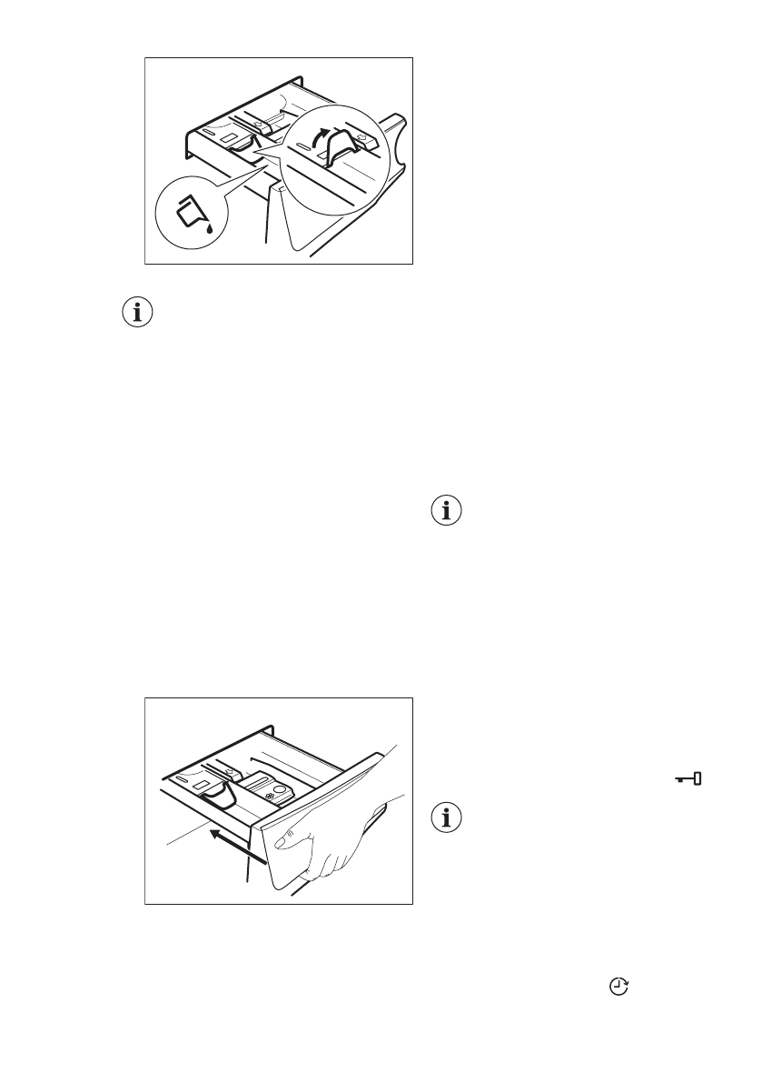
Если заслонка
установлена в НИЖНЕЕ
положение:
• Не используйте
гелеобразные или
густые жидкие
моющие средства.
• Не добавляйте
жидкого моющего
средства выше
предельного уровня,
указанного на
заслонке.
• Не используйте этап
предварительной
стирки.
• Не используйте
функцию задержки
пуска.
5. Отмерьте количество средства для
стирки и кондиционера для ткани.
6. Осторожно закройте дозатор
средства для стирки.
Убедитесь, что заслонка не
препятствует закрыванию ящичка.
10.5 Установка программы
1. Поверните селектор программ на
требуемую программу стирки.
Загорится соответствующий
индикатор программы.
Индикатор кнопки Старт/Пауза
замигает.
На дисплее отобразится максимально
заявленная для данной программы
загрузка, температура по умолчанию,
максимальная скорость отжима, этапы
стирки (если это предусмотрено) и
ориентировочная продолжительность
программы.
2. Для изменения температуры или
скорости отжима коснитесь
соответствующих кнопок.
3. При необходимости задайте одну
или более опций, коснувшись
соответствующих кнопок. На
дисплее загорятся
соответствующие индикаторы и
изменятся соответствующие
показатели.
В случае, если выбор
недопустим, индикаторы
не загорятся и будет
выдан звуковой сигнал.
10.6 Запустите программу
Коснитесь кнопки Старт/Пауза для
запуска программы.
Соответствующий индикатор
перестанет мигать и загорится
постоянным светом.
На дисплее замигает индикатор
текущего этапа.
Начнется выполнение программы;
дверца будет заблокирована. На
дисплее отображается индикатор
.
Перед набором воды на
короткое время может
включиться сливной насос.
10.7 Запуск программы с
отсрочкой пуска
1. Коснитесь и удерживайте кнопку,
пока на дисплее не отобразится
требуемое время отсрочки.
Загорится индикатор .
2. Коснитесь кнопки Старт/Пауза .
РУССКИЙ
27
Характеристики
Остались вопросы?Не нашли свой ответ в руководстве или возникли другие проблемы? Задайте свой вопрос в форме ниже с подробным описанием вашей ситуации, чтобы другие люди и специалисты смогли дать на него ответ. Если вы знаете как решить проблему другого человека, пожалуйста, подскажите ему :)













