Стиральная машина Miele PW 5064 Professional - инструкция пользователя по применению, эксплуатации и установке на русском языке. Мы надеемся, она поможет вам решить возникшие у вас вопросы при эксплуатации техники.
Если остались вопросы, задайте их в комментариях после инструкции.
"Загружаем инструкцию", означает, что нужно подождать пока файл загрузится и можно будет его читать онлайн. Некоторые инструкции очень большие и время их появления зависит от вашей скорости интернета.

^
Çàêðåïèòå òðàíñïîðòèðîâî÷íûå
ñòåðæíè íà çàäíåé ñòåíêå ñòèðàëü-
íîé ìàøèíû. Ïðîñëåäèòå çà òåì,
÷òîáû îòâåðñòèÿ
b
ïîïàëè íà öàï-
ôû
a
.
,
Íå äîïóñêàåòñÿ òðàíñïîðòè-
ðîâêà ñòèðàëüíîé ìàøèíû áåç
òðàíñïîðòèðîâî÷íîãî êðåïëåíèÿ.
Ñîõðàíèòå åãî. Êðåïëåíèå íåîáõî-
äèìî áóäåò ñíîâà ñìîíòèðîâàòü
ïåðåä ïåðåìåùåíèåì ìàøèíû (íà-
ïðèìåð, ïðè ïåðååçäå).
Óñòàíîâêà òðàíñïîðò-
èðîâî÷íîãî êðåïëåíèÿ
Óñòàíîâêó òðàíñïîðòèðîâî÷íîãî
êðåïëåíèÿ ïðîèçâîäÿò â îáðàòíîé
ïîñëåäîâàòåëüíîñòè.
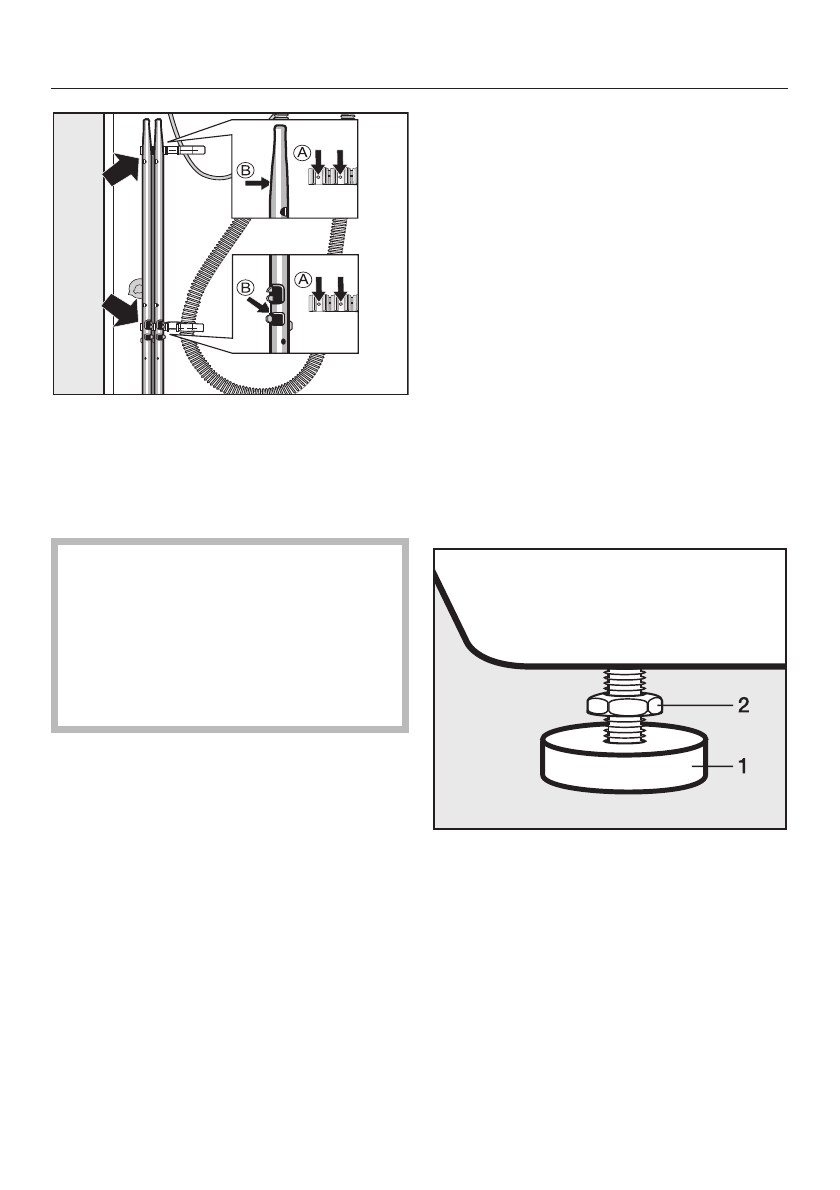
Âûðàâíèâàíèå ìàøèíû
Äëÿ îáåñïå÷åíèÿ áåçóïðå÷íîé ðàáî-
òû ñòèðàëüíàÿ ìàøèíà äîëæíà áûòü
óñòàíîâëåíà âåðòèêàëüíî è ðàâíî-
ìåðíî íà ÷åòûðåõ íîæêàõ.
 ðåçóëüòàòå íåïðàâèëüíîé óñòàíîâ-
êè ìàøèíû ìîæåò ïîâûñèòüñÿ ðàñõî-
ä âîäû è ýëåêòðîýíåðãèè, à ñàìà ìà-
øèíà ìîæåò ñäâèíóòüñÿ ñ ìåñòà.
Âûêðó÷èâàíèå è ôèêñàöèÿ íîæêè
êîíòðãàéêîé
Âûðàâíèâàíèå ñòèðàëüíîé ìàøèíû
âûïîëíÿåòñÿ ñ ïîìîùüþ ÷åòûðåõ
âèíòîâûõ íîæåê. Â ïîñòàâëÿåìîé ìà-
øèíå âñå ÷åòûðå íîæêè ââèí÷åíû.
^
Îòâåðíèòå êîíòðãàéêó
2
ñ ïî-
ìîùüþ ïðèëàãàåìîãî ãàå÷íîãî
êëþ÷à ïî ÷àñîâîé ñòðåëêå.
Âûâåðíèòå êîíòðãàéêó
2
âìåñòå ñ
íîæêîé
1
.
Óñòàíîâêà è ïîäêëþ÷åíèå
55












