Стиральная машина Asko WMC6743VB.T - инструкция пользователя по применению, эксплуатации и установке на русском языке. Мы надеемся, она поможет вам решить возникшие у вас вопросы при эксплуатации техники.
Если остались вопросы, задайте их в комментариях после инструкции.
"Загружаем инструкцию", означает, что нужно подождать пока файл загрузится и можно будет его читать онлайн. Некоторые инструкции очень большие и время их появления зависит от вашей скорости интернета.

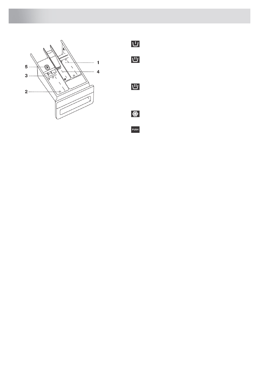
Предварительная стирка
1.
Основная стирка с жидким моющим
средством.
Используйте шторку (3).
2.
Основная стирка с порошковым
моющим средством.
Не используйте шторку (3).
2.
Кондиционер для белья
4.
Язычок для извлечения дозатора
5.
10
Дозатор моющих средств
Содержание
- 3 ПОРАЖЕНИЕ ЭЛЕКТРИЧЕСКИМ ТОКОМ!; Введение
- 4 Указания по технике безопасности
- 7 машины или должны быть под постоянным присмотром.
- 8 СОХРАНИТЕ ЭТУ ИНСТРУКЦИЮ!
- 9 Описание стиральной машины
- 10 Дозатор моющих средств
- 11 Перед первым использованием
- 13 Установка и подключение
- 19 Подключение
- 21 Советы перед стиркой
- 28 Отсрочка старта
- 29 Оставшееся время; Приостановка, отмена и изменение программы
- 31 Настройки
- 34 Очистка и обслуживание
- 38 Если у вас жесткая вода
- 39 Поиск и устранение неисправностей
- 47 ПЕРЕД ОБРАЩЕНИЕМ В СЕРВИСНЫЙ ЦЕНТР; СЕРВИСНОЕ ОБСЛУЖИВАНИЕ
- 48 УСЛОВИЯ ГАРАНТИЙНОГО ОБСЛУЖИВАНИЯ; ИНФОРМАЦИЯ
- 50 Техническая информация
- 54 Стандартные испытания; Маркировка энергоэффективности
- 55 Таблица программ
- 61 Изменение времени на дисплее
- 62 Утилизация
- 63 Краткое руководство
Характеристики
Остались вопросы?Не нашли свой ответ в руководстве или возникли другие проблемы? Задайте свой вопрос в форме ниже с подробным описанием вашей ситуации, чтобы другие люди и специалисты смогли дать на него ответ. Если вы знаете как решить проблему другого человека, пожалуйста, подскажите ему :)













