SNAIGE R130-1101AA - Инструкция по эксплуатации

SNAIGE R130-1101AA

Холодильник SNAIGE R130-1101AA - инструкция пользователя по применению, эксплуатации и установке на русском языке. Мы надеемся, она поможет вам решить возникшие у вас вопросы при эксплуатации техники.

Если остались дополнительные вопросы — свяжитесь с нами через контактную форму.

1 Страница 1
2 Страница 2
3 Страница 3
4 Страница 4
5 Страница 5
6 Страница 6
7 Страница 7
8 Страница 8
9 Страница 9
10 Страница 10
11 Страница 11
12 Страница 12
13 Страница 13
14 Страница 14
15 Страница 15
16 Страница 16
17 Страница 17
18 Страница 18
19 Страница 19
20 Страница 20
21 Страница 21
22 Страница 22
23 Страница 23
24 Страница 24
25 Страница 25
26 Страница 26
27 Страница 27
28 Страница 28
29 Страница 29
30 Страница 30
31 Страница 31
32 Страница 32
33 Страница 33
34 Страница 34
35 Страница 35
36 Страница 36
37 Страница 37
38 Страница 38
39 Страница 39
40 Страница 40
Страница: / 40

Содержание:

  • Страница 29 – П Р А В И Л А Т Е Х Н И К И Б Е З О П А С Н О С Т И; Общие требования техники безопасности:; RU
  • Страница 30 – Требования к подключению к электрической сети; Частота и мощность электрической энергии в Вашем доме должны; Требования к безопасному использованию.; Для отключения прибора от электросети; не тяните за кабель
  • Страница 31 – Транспортируйте; При несоблюдении условий транспортировки изготовитель; УСТАНОВКА И ПОДКЛЮЧЕНИЕ К ЭЛЕКТРИЧЕСКОЙ ЦЕПИ; также с находящимися рядом электроприборами
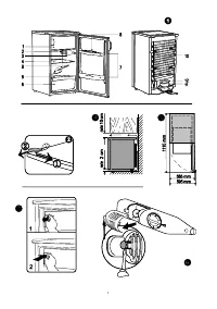
  • Страница 32 – Подготовка прибора к работе:; Во время; Первое использование:; РЕГУЛИРОВКА ТЕМПЕРАТУРЫ; ВНИМАНИЕ! Электрическое напряжение не отключено.
  • Страница 33 – ХРАНЕНИЕ ПРОДУКТОВ В ХОЛОДИЛЬНИКЕ И МОРОЗИЛЬНИКЕ; Холодильное отделение; Морозильное отделение; ОТТАИВАНИЕ, УБОРКА И УХОД; электрической розетки.
  • Страница 35 – ИНФОРМАЦИЯ ПО ОХРАНЕ ОКРУЖАЮЩЕЙ СРЕДЫ; Не разбирайте; ГАРАНТИЙНОЕ ОБСЛУЖИВАНИЕ; АB „SNAIGĖ“
  • Страница 36 – Официальные представители в России; Частное предприятие
  • Страница 39 – Таблица общих сведении (ПАСПОРТ ПРОДУКТА); Модель
Загрузка инструкции





































ŠALDYTUVAS SU ŠALDIKLIO SKYRIUMI

Naudojimo instrukcija

LT

LEDUSSKAPJA AR SALDĒŠANAS KAMERU

Lietošanas instrukcijas

LV

K

Ü

LMIKUST JA S

ÜGAVKÜLMIKUST

Instruktsioonis

ET

Холодильник с морозильным отсеком

Руководство по эксплуатации

RU

"Загрузка инструкции" означает, что нужно подождать пока файл загрузится и можно будет его читать онлайн. Некоторые инструкции очень большие и время их появления зависит от вашей скорости интернета.

Краткое содержание

Страница 29 - П Р А В И Л А Т Е Х Н И К И Б Е З О П А С Н О С Т И; Общие требования техники безопасности:; RU

28 УВАЖАЕМЫЕ ГОСПОДА! Внимательно прочитайте инструкцию по эксплуатации. При несоблюдении перечисленных в инструкции указаний возникает опасность ранения, можно испортить прибор и лишиться права на бесплатное гарантийное обслуживание. Производитель и продавец прибора не несёт ответственность за трав...

Страница 30 - Требования к подключению к электрической сети; Частота и мощность электрической энергии в Вашем доме должны; Требования к безопасному использованию.; Для отключения прибора от электросети; не тяните за кабель

29 – Запрещается хранить бензин или другие горючие жидкости возле холодильного прибора. Требования к безопасности детей и лиц с ограниченными возможностями. – Прибор не предназначен для использования лицами (включая детей) с пониженными физическими, чувственными или умственными способностями или при...

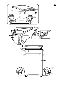
Страница 31 - Транспортируйте; При несоблюдении условий транспортировки изготовитель; УСТАНОВКА И ПОДКЛЮЧЕНИЕ К ЭЛЕКТРИЧЕСКОЙ ЦЕПИ; также с находящимися рядом электроприборами

30 – После отключения холодильного прибора (при уборке, перестановке на другое место и т.д.), его можно снова включить только по истечении не менее чем 15 мин. – Запрещается использовать технически неисправный прибор. – Запрещается сжигать прибор. – Не ставьте на изделие электроприборы – могут загор...

Характеристики

Другие модели - Холодильники SNAIGE