Smeg P260XGH - Инструкция по эксплуатации

Smeg P260XGH

Варочная панель Smeg P260XGH - инструкция пользователя по применению, эксплуатации и установке на русском языке. Мы надеемся, она поможет вам решить возникшие у вас вопросы при эксплуатации техники.

Если остались дополнительные вопросы — свяжитесь с нами через контактную форму.

1 Страница 1
2 Страница 2
3 Страница 3
4 Страница 4
5 Страница 5
6 Страница 6
7 Страница 7
8 Страница 8
9 Страница 9
10 Страница 10
11 Страница 11
12 Страница 12
13 Страница 13
14 Страница 14
15 Страница 15
16 Страница 16
17 Страница 17
18 Страница 18
19 Страница 19
20 Страница 20
21 Страница 21
22 Страница 22
23 Страница 23
24 Страница 24
25 Страница 25
26 Страница 26
27 Страница 27
28 Страница 28
Страница: / 28
Загрузка инструкции

Содержание

199

RU

1 Меры предосторожности

200

1.1 Общие меры безопасности

200

1.2 Ответственность производителя

204

1.3 Назначение прибора

204

1.4 Идентификационная табличка

204

1.5 Данное руководство по эксплуатации

204

1.6 Утилизация

204

1.7 Как читать руководство по эксплуатации

205

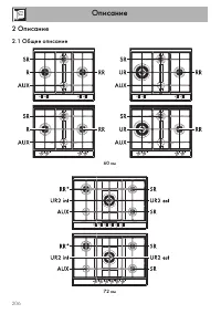
2 Описание

206

2.1 Общее описание

206

2.2 Символы

207

3 Использование

208

3.1 Меры предосторожности

208

3.2 Первое использование

208

3.3 Эксплуатация варочной поверхности

209

4 Чистка и техническое обслуживание

211

4.1 Меры предосторожности

211

4.2 Чистка прибора

211

5 Монтаж

213

5.1 Указания по безопасности

213

5.2 Врезка и вставка рабочей поверхности

213

5.3 Встраивание

214

5.4 Кронштейны крепления

215

5.5 Соединение к газовой сети

216

5.6 Регулировка для разных видов газов

219

5.7 Подключение к электропитанию

225

5.8 Для монтажника

226

Рекомендуем внимательно прочесть данное руководство, в котором содержатся все

указания для сохранения неизменными внешнего вида и функций купленного прибора.
Для получения дополнительной информации о продукте: www.smeg.com

Настоящие инструкции действительны исключительно для стран назначения,

указанных в табличке характеристик, закрепленной на приборе.
Данная встраиваемая варочная поверхность относится к классу 3.

"Загрузка инструкции" означает, что нужно подождать пока файл загрузится и можно будет его читать онлайн. Некоторые инструкции очень большие и время их появления зависит от вашей скорости интернета.

Характеристики

Другие модели - Варочные панели Smeg

Все варочные панели Smeg