Смартфоны Samsung GT-S8530 Wave II - инструкция пользователя по применению, эксплуатации и установке на русском языке. Мы надеемся, она поможет вам решить возникшие у вас вопросы при эксплуатации техники.
Если остались вопросы, задайте их в комментариях после инструкции.
"Загружаем инструкцию", означает, что нужно подождать пока файл загрузится и можно будет его читать онлайн. Некоторые инструкции очень большие и время их появления зависит от вашей скорости интернета.

Приступая к работе
18
Общие сведения об устройстве
›
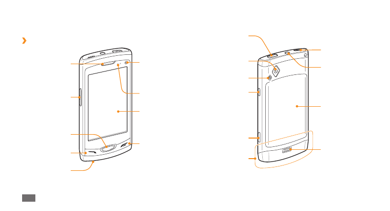
Внешний вид устройства
Динамик
громкой связи
Много-
функциональный
разъем
Вспышка
Клавиша
блокировки
Клавиша камеры
Внутренняя
антенна
Крышка
аккумулятора
Объектив
основной камеры
Защелка крышки
аккумулятора
Разъем
гарнитуры/
ТВ-выход
Объектив
фронтальной
камеры (для
видеовызовов)
Динамик
Сенсорный экран
Датчик
приближения
Клавиша питания
и завершения
вызова
Клавиша вызова
меню
Клавиша
громкости
Клавиша вызова
Микрофон
Содержание
- 3 Обозначения
- 4 Авторские права
- 5 Товарные знаки
- 6 ВИДЕО В ФОРМАТЕ DIVX; ВИДЕО ПО ЗАПРОСУ В ФОРМАТЕ DIVX
- 7 Содержание
- 10 Сборка телефона; Комплект поставки
- 12 Зарядка аккумулятора
- 16 Форматирование карты памяти; Извлечение карты памяти
- 17 Приступая к работе
- 18 Общие сведения об устройстве; Внешний вид устройства
- 19 Экран в режиме ожидания
- 20 Значки состояния
- 21 Панель ссылок; Сенсорный экран
- 23 Работа с меню
- 24 Сортировка приложений в режиме меню
- 25 Диспетчер задач; Виджеты; Запуск нескольких приложений
- 26 Управление веб-виджетами
- 27 Установка текущего времени и даты
- 28 Настройка профилей звука
- 29 Изменение порядка вкладок
- 31 Ввод текста; Выбор способа ввода текста
- 32 Режимы ввода текста
- 35 Доступ к справке; Копирование и вставка текста
- 36 Связь; Функции вызова; Выполнение вызова или ответ на вызов; Выполнение вызова; Ответ на вызов
- 37 Использование гарнитуры; Отклонение вызова
- 40 Дополнительные функции; Автоматическое отклонение вызовов
- 41 Выполнение ложного вызова
- 42 Функция запрета вызовов
- 43 Просмотр диспетчера журнала; Ожидание вызова; Журнал
- 44 Отправка SMS
- 45 Настройка профиля MMS
- 46 Просмотр SMS и MMS
- 48 Создание шаблона MMS; Шаблоны сообщений; Создание шаблона SMS
- 49 Отправка экстренного сообщения
- 50 Настройка учетной записи электронной почты
- 51 Просмотр сообщений электронной; Выбор профиля электронной почты; Отправка сообщения электронной почты
- 53 uTalk
- 54 Развлечения; Камера; Фотосъемка
- 57 Фотосъемка в режиме красивого лица
- 58 Панорамная съемка; Серийная съемка
- 59 Настройка камеры
- 61 Видеосъемка
- 63 Настройка параметров видеозаписи
- 64 Видео
- 65 Воспроизведение видео
- 66 Мультимедиа; Настройка видеоплеера
- 67 Просмотр фотографий
- 68 Настройка изображения
- 69 Вставка визуальных объектов
- 70 Изменение видеозаписи; Создание видеоклипа
- 71 Разделение видеоклипов
- 72 Загрузка звуковых файлов на устройство; Проигрыватель музыки
- 74 Создание списка воспроизведения
- 75 Поиск сведений о музыке
- 76 Добавление песен в список желаний; Прослушивание FM-радио
- 78 Настройка параметров FM-радио
- 79 Запуск игр и приложений; JAVA; Загрузка игр и приложений
- 80 Личные данные; Создание контакта
- 81 Создание списка избранных номеров
- 82 Копирование контактов
- 83 Календарь; Создание события
- 84 Просмотр задач; Задачи; Создание задачи
- 85 Диктофон; Запись голосовых заметок; Заметки; Создание заметки
- 86 Воспроизведение голосовых заметок
- 87 Интернет; Настройка профиля доступа в Интернет
- 89 Изменение параметров браузера
- 91 Samsung Apps; Добавление адреса RSS-канала
- 92 Настройка профиля синхронизации; Синхронизация
- 93 Начало синхронизации
- 94 Подключения; Bluetooth
- 97 Режим удаленного доступа к SIM-карте
- 98 Изменение профиля соединения
- 99 AllShare
- 100 Настройка параметров DLNA для обмена
- 102 Мобильная точка доступа
- 103 Активация функции GPS; GPS
- 104 Датчик положения
- 105 Подключение к ПК
- 106 Подключение в качестве съемного диска
- 107 Использование телефона в качестве
- 108 Инструменты; Часы; Установка сигнала
- 109 Калькулятор; Секундомер
- 110 Просмотр мини-дневника; Учетные записи; Создание учетной записи в Интернете; Mini diary; Создание мини-дневника
- 111 Изменение расписания автоматической
- 112 Просмотр файлов; Мои файлы; Поддерживаемые форматы файлов
- 113 Вывод изображения на печать
- 114 Установка изображения в качестве обоев
- 115 Работа с меню настроек
- 116 Профили звука
- 117 Дисплей и подсветка
- 119 Приложения; Вызов; Дата и время
- 125 Медиаплеер
- 126 Безопасность; Загрузка фотографий
- 127 Сброс
- 128 Обновление ПО
- 130 Вызовы сбрасываются
- 131 Собеседник вас не слышит
- 132 Устройство нагревается
- 133 Не удается подключить телефон к ПК; Не удается найти другое Bluetooth-устройство
- 142 Правильная утилизация изделия
- 143 Отказ от ответственности
- 144 Алфавитный указатель
- 151 Установка ПО Kies (Синхронизация с c ПК)












