Смартфоны Samsung GT-S5330 Wave 533 - инструкция пользователя по применению, эксплуатации и установке на русском языке. Мы надеемся, она поможет вам решить возникшие у вас вопросы при эксплуатации техники.
Если остались вопросы, задайте их в комментариях после инструкции.
"Загружаем инструкцию", означает, что нужно подождать пока файл загрузится и можно будет его читать онлайн. Некоторые инструкции очень большие и время их появления зависит от вашей скорости интернета.

Начало работы
17
Общие сведения о телефоне
›
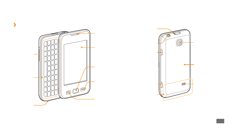
Внешний вид телефона
Динамик
Сенсорный
экран
Клавиша
завершения
вызова
Клавиша
меню
Клавиша
вызова
Клавиша
громкости
QWERTY-
клавиатура
Микрофон
Многофункциональный
разъем
Клавиша камеры
Внутренняя
антенна
Крышка
аккумулятора
Объектив
камеры
Динамик
громкой связи
Pазъем
гарнитуры
Клавиша питания/
блокировки
Содержание
- 4 Обозначения
- 5 Авторские права
- 7 Содержание; Установка карты памяти (дополнительно) 13
- 10 Сборка телефона; Комплект поставки
- 12 Зарядка аккумулятора
- 15 Форматирование карты памяти; Извлечение карты памяти
- 17 Начало работы
- 18 Общие сведения о телефоне; Внешний вид телефона
- 19 Клавиши
- 20 Экран в режиме ожидания
- 21 Служебные значки
- 22 Использование сенсорного экрана; Панель ссылок
- 24 Работа с приложениями в режиме меню; Работа с меню
- 25 Запуск нескольких приложений; Добавление экранов главного меню
- 26 Панель виджетов; Виджеты
- 27 Управление веб-виджетами
- 28 Настройка профилей звука
- 29 Изменение порядка расположения
- 31 Ввод текста; Выбор способа ввода текста
- 32 Режимы ввода текста
- 33 Ввод текста с помощью QWERTY-клавиатуры
- 34 Копирование и вставка текста.
- 35 Связь; Вызовы; Выполнение вызова или ответ на вызов; Выполнение вызова; Ответ на вызов
- 36 Функции, доступные во время разговора; Международные вызовы; Использование гарнитуры
- 37 Дополнительные функции; Автоматическое отклонение вызовов
- 38 Выполнение ложного вызова
- 39 Переадресация вызовов
- 40 Журнал; Просмотр журнала вызовов и сообщений; Функция запрета вызовов
- 41 Просмотр диспетчера журнала
- 42 Настройка профиля MMS; Сообщения; Отправка SMS-сообщений
- 43 Отправка MMS-сообщений
- 45 Шаблоны сообщений; Создание шаблона SMS-сообщения
- 46 Отправка экстренного сообщения
- 47 Настройка учетной записи электронной почты
- 48 Выбор профиля электронной почты; Отправка сообщения электронной почты
- 49 Просмотр сообщений электронной
- 51 Развлечения; Камера; Фотосъемка
- 54 Серийная съемка; Панорамная съемка
- 55 Съемка коллажей; Фотографии с декоративными рамками
- 56 Настройка камеры
- 57 Видеосъемка
- 59 Видеоплеер; Настройка параметров видеозаписи
- 60 Воспроизведение видео
- 61 Музыка; Настройка видеоплеера
- 62 Загрузка музыкальных файлов в телефон
- 63 Создание списка воспроизведения
- 64 Добавление песен в список желаний
- 65 Настройка музыкального проигрывателя; Прослушивание FM-радио
- 67 Настройка параметров FM-радио
- 68 Загрузка игр и приложений
- 69 Запуск игр и приложений
- 70 Личные данные; Контакты; Создание контакта
- 71 Получение контактов из учетной записи
- 72 Календарь; Создание события
- 73 Отключение сигнала события
- 74 Задачи; Создание задачи
- 75 Диктофон; Запись голосовых заметок; Заметки; Создание заметки
- 77 Интернет; Интернет; Настройка интернет-профиля
- 79 Добавление адреса RSS-канала
- 80 Настройка параметров браузера
- 81 Samsung Apps
- 82 Начало синхронизации; Синхронизация; Настройка профиля синхронизации
- 87 Режим удаленного доступа к SIM-карте
- 88 Включение функции WLAN; Поиск сети WLAN и подключение к ней
- 89 Настройка профиля соединения
- 90 Включение функции GPS; GPS
- 91 Поиск расположения; Подключение к ПК; Использование сотовых сетей для
- 93 Использование телефона в качестве
- 95 Инструменты; Часы; Установка сигнала
- 96 Калькулятор; Использование секундомера
- 97 Удаление или изменение учетных; Учетные записи; Создание учетной записи
- 98 Просмотр файлов; Мои файлы; Поддерживаемые форматы файлов
- 99 Печать изображений
- 100 Редактирование изображения; Настройка изображения; Установка изображения в качестве обоев
- 101 Преобразование изображения
- 102 Вставка визуальных объектов
- 103 Работа с меню настроек
- 104 Профили звука
- 105 Общие
- 106 Меню и виджеты
- 107 Приложения; Вызов
- 112 Профили социальных сетей; Безопасность
- 113 Сброс
- 114 Обновление ПО
- 116 Вызовы сбрасываются
- 117 Собеседник вас не слышит
- 118 Устройство нагревается
- 119 Не удается подключить телефон к ПК
- 128 Правильная утилизация изделия
- 129 Отказ от ответственности
- 130 Алфавитный указатель
- 136 мобильный телефон GSM












