Смартфоны Samsung GT-B7722 - инструкция пользователя по применению, эксплуатации и установке на русском языке. Мы надеемся, она поможет вам решить возникшие у вас вопросы при эксплуатации техники.
Если остались вопросы, задайте их в комментариях после инструкции.
"Загружаем инструкцию", означает, что нужно подождать пока файл загрузится и можно будет его читать онлайн. Некоторые инструкции очень большие и время их появления зависит от вашей скорости интернета.

Начало работы
14
Общие сведения о телефоне
›
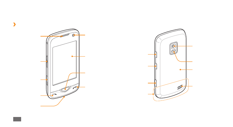
Внешний вид телефона
Клавиша
выбора SIM-
карты
Фронтальная
камера для
видеовызовов
Микрофон
Вспышка
Динамик
Сенсорный
экран
Клавиша
питания/
завершения
вызова
Клавиша
«Назад»
Клавиша
громкости
Клавиша вызова
Много-
функцио
нальный разъем
Объектив
основной
камеры
Клавиша
блокировки
Клавиша
камеры
Крышка
аккумулятора
Динамик
Внутренняя
антенна
Содержание
- 3 Сведения об авторских правах
- 4 Содержание; Установка карты памяти (дополнительно) 11
- 7 Сборка телефона; Комплект поставки
- 9 Зарядка аккумулятора
- 11 Извлечение карты памяти
- 12 Форматирование карты памяти
- 13 Начало работы
- 14 Общие сведения о телефоне; Внешний вид телефона
- 15 Клавиши
- 16 Служебные значки
- 17 Использование сенсорного экрана
- 19 Виджеты; Работа с приложениями в режиме меню
- 20 Установка текущего времени и даты
- 21 Настройка профилей звука
- 22 Калибровка сенсорного экрана
- 23 Блокировка телефона
- 24 используемых по умолчанию
- 25 Автоматическое переключение SIM- или; Ввод текста
- 27 Связь; Функции вызова; Выполнение вызова или ответ на вызов; Выполнение вызова; Ответ на вызов
- 28 Отклонение вызова; Использование гарнитуры
- 30 Выполнение ложного вызова; Дополнительные функции; Автоматическое отклонение вызовов
- 31 Просмотр диспетчера журнала; Журналы; Просмотр журнала вызовов и сообщений
- 32 Сообщения; Отправка SMS-сообщений
- 33 Отправка MMS-сообщений
- 34 Настройка профиля электронной почты; Отправка сообщения электронной почты; Настройка учетной записи электронной почты
- 35 Просмотр сообщений электронной почты; Просмотр сообщений
- 36 Создание шаблона SMS-сообщения; Шаблоны сообщений
- 37 Отправка экстренного сообщения
- 38 Мгновенные сообщения
- 39 Развлечения; Камера; Фотосъемка
- 40 Серийная съемка
- 41 Съемка коллажей; Фотографии с декоративными рамками; Панорамная съемка
- 42 Музыкальный проигрыватель; Видеосъемка
- 43 Создание списка воспроизведения; Воспроизведение музыки
- 44 Поиск музыки
- 45 Прослушивание FM-радио
- 46 Загрузка игр и приложений; Игры и приложения
- 47 Личные данные; Контакты; Создание контакта
- 48 Создание визитной карточки
- 49 Просмотр событий; Календарь; Создание события
- 50 Просмотр задач; Заметки; Создание заметки; Задачa; Создание задачи
- 51 Воспроизведение голосовых заметок; Просмотр заметок; Диктофон; Запись голосовых заметок
- 52 Интернет; Интернет; Настройка интернет-профиля
- 54 Samsung Apps; Добавление адреса RSS-канала
- 55 Начало синхронизации; ActiveSync; Настройка профиля синхронизации
- 57 Отправка файлов; Сообщества; Создание списка избранных веб-сайтов
- 58 Facebook
- 59 Bluetooth
- 61 Включение функции WLAN; Поиск сети WLAN и подключение к ней
- 62 Подключение в качестве съемного диска; Подключение к ПК
- 64 Инструменты; Сигналы будильника; Установка сигнала; Калькулятор
- 65 Просмотр журнала; Фоторедактор; Применение эффектов к изображениям; Словарь; Поиск слов
- 66 Преобразование изображения
- 67 Поддерживаемые форматы файлов; Мои файлы
- 68 Секундомер; Просмотр файлов
- 69 Видеоредактор; Создание видеозаписи
- 70 Применение специальных эффектов к; Добавление надписи к видеозаписи; Подрезка фрагмента видео; Разделение видеозаписей
- 71 Вывод мирового времени на дисплей; Мировое время; Просмотр мирового времени
- 72 Работа с меню настроек
- 73 Интеллектуальная разблокировка
- 74 Сеть
- 75 Сброс настроек
- 77 Вызовы самопроизвольно сбрасываются
- 78 Вызов номера из списка контактов не проходит
- 80 Берегите слух
- 82 Меры предосторожности; Безопасность дорожного движения
- 85 Доступ к службам экстренной помощи
- 86 Правильная утилизация изделия
- 87 Отказ от ответственности
- 90 Алфавитный указатель