Системы видеонаблюдения HiWatch DS-I450L - инструкция пользователя по применению, эксплуатации и установке на русском языке. Мы надеемся, она поможет вам решить возникшие у вас вопросы при эксплуатации техники.
Если остались вопросы, задайте их в комментариях после инструкции.
"Загружаем инструкцию", означает, что нужно подождать пока файл загрузится и можно будет его читать онлайн. Некоторые инструкции очень большие и время их появления зависит от вашей скорости интернета.

IP-камера с фиксированным объективом - краткое руководство пользователя
25
Рисунок 2-2-2 Установка камеры I типа на потолок
Примечание:
К камере прилагаются шурупы и дюбели.
Если установка производится на цементный потолок, то
рекомендуется использовать дюбели и шурупы. Если
установка производится на деревянную поверхность,
тогда достаточно будет использовать только шурупы.
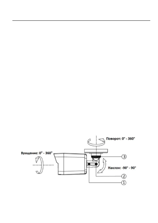
1)
Ослабьте винт № 1 для регулировки нужного
положения путём вращения [0° - 360°].
2)
Затяните винт № 1.
3)
Ослабьте винт № 2 для регулировки положения
наклона [-90° - 90°].
4)
Затяните винт № 2.
5)
Ослабьте винт № 3 для регулировки положения
поворота [0° - 360°].
6)
Затяните винт № 3.
Рисунок 2-2-3 Регулировка угла наблюдения
Характеристики
Остались вопросы?Не нашли свой ответ в руководстве или возникли другие проблемы? Задайте свой вопрос в форме ниже с подробным описанием вашей ситуации, чтобы другие люди и специалисты смогли дать на него ответ. Если вы знаете как решить проблему другого человека, пожалуйста, подскажите ему :)