Системные блоки Lenovo ThinkCentre M900 (Tower Form Factor) - инструкция пользователя по применению, эксплуатации и установке на русском языке. Мы надеемся, она поможет вам решить возникшие у вас вопросы при эксплуатации техники.
Если остались вопросы, задайте их в комментариях после инструкции.
"Загружаем инструкцию", означает, что нужно подождать пока файл загрузится и можно будет его читать онлайн. Некоторые инструкции очень большие и время их появления зависит от вашей скорости интернета.

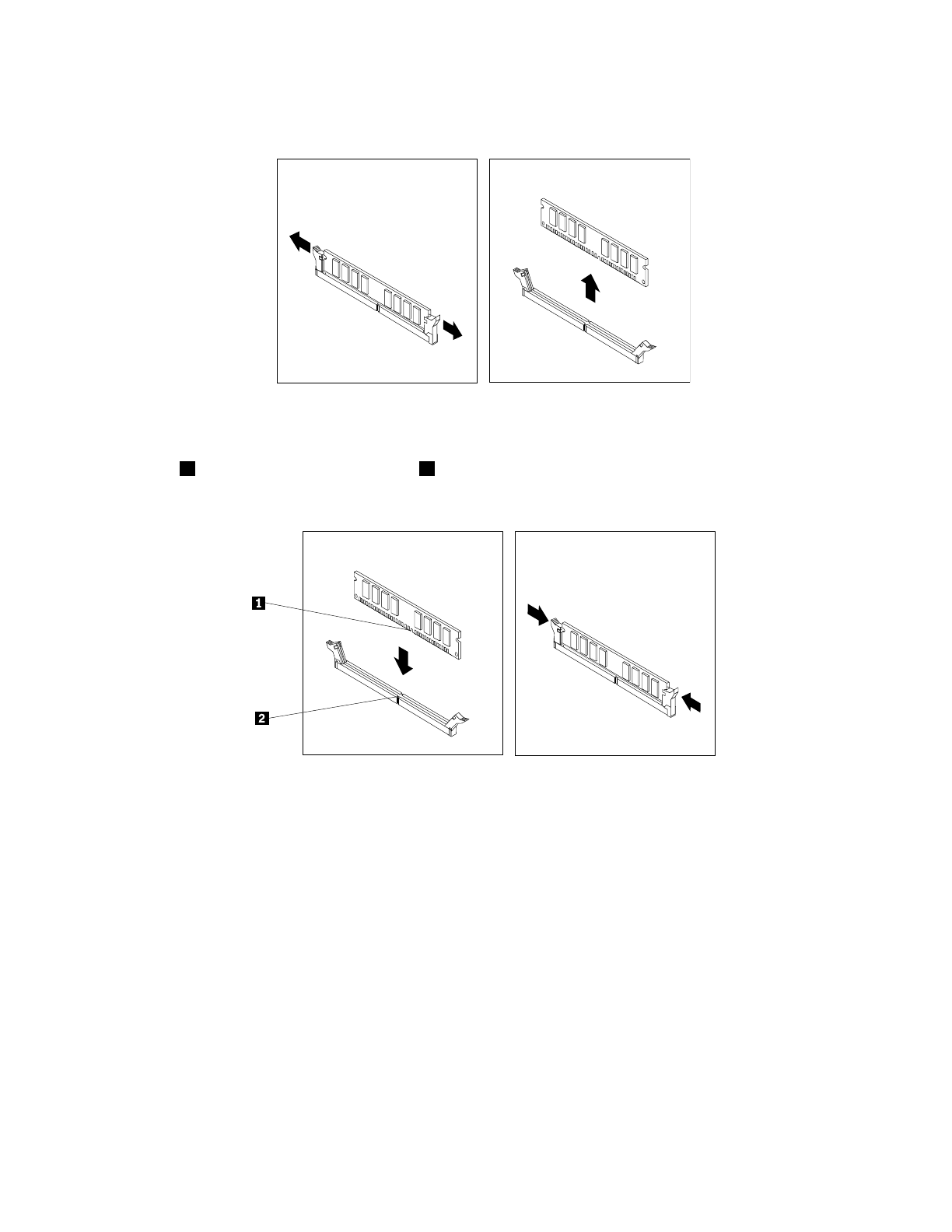
5. Откройте фиксирующие защелки и осторожно вытащите модуль памяти из гнезда.
Рис. 35. Снятие модуля памяти
6. Приложите новый модуль памяти к соответствующему гнезду. Убедитесь, что паз на модуле
памяти
1
совпадает с выступом гнезда
2
на материнской плате. Вставьте модуль в гнездо и
нажмите на него так, чтобы защелкнулись фиксирующие защелки.
Рис. 36. Установка модуля памяти
7. Если вы сняли плату PCI Express x16, то поставьте ее на место. См. раздел “Замена карты
Что делать дальше:
• Если вы хотите установить или снять другой компонент, то перейдите к соответствующему разделу.
• Информацию о том, как завершить установку или замену, см. в разделе “Что нужно сделать
после замены компонентов” на странице 81.
Замена PCI-карты
Внимание:
Не открывайте корпус компьютера и не пытайтесь его ремонтировать, не прочитав
предварительно раздел “Прочтите вначале: важная информация по технике безопасности” на
странице v.
Чтобы заменить PCI-карту, выполните следующие действия.
74
ThinkCentre M800 и M900 Руководство пользователя
Характеристики
Остались вопросы?Не нашли свой ответ в руководстве или возникли другие проблемы? Задайте свой вопрос в форме ниже с подробным описанием вашей ситуации, чтобы другие люди и специалисты смогли дать на него ответ. Если вы знаете как решить проблему другого человека, пожалуйста, подскажите ему :)