Системные блоки Lenovo ThinkCentre M800 (Tower Form Factor) - инструкция пользователя по применению, эксплуатации и установке на русском языке. Мы надеемся, она поможет вам решить возникшие у вас вопросы при эксплуатации техники.
Если остались вопросы, задайте их в комментариях после инструкции.
"Загружаем инструкцию", означает, что нужно подождать пока файл загрузится и можно будет его читать онлайн. Некоторые инструкции очень большие и время их появления зависит от вашей скорости интернета.

Компоненты компьютера
Примечание:
В зависимости от модели компьютера некоторые из указанных ниже компонентов
могут быть недоступны.
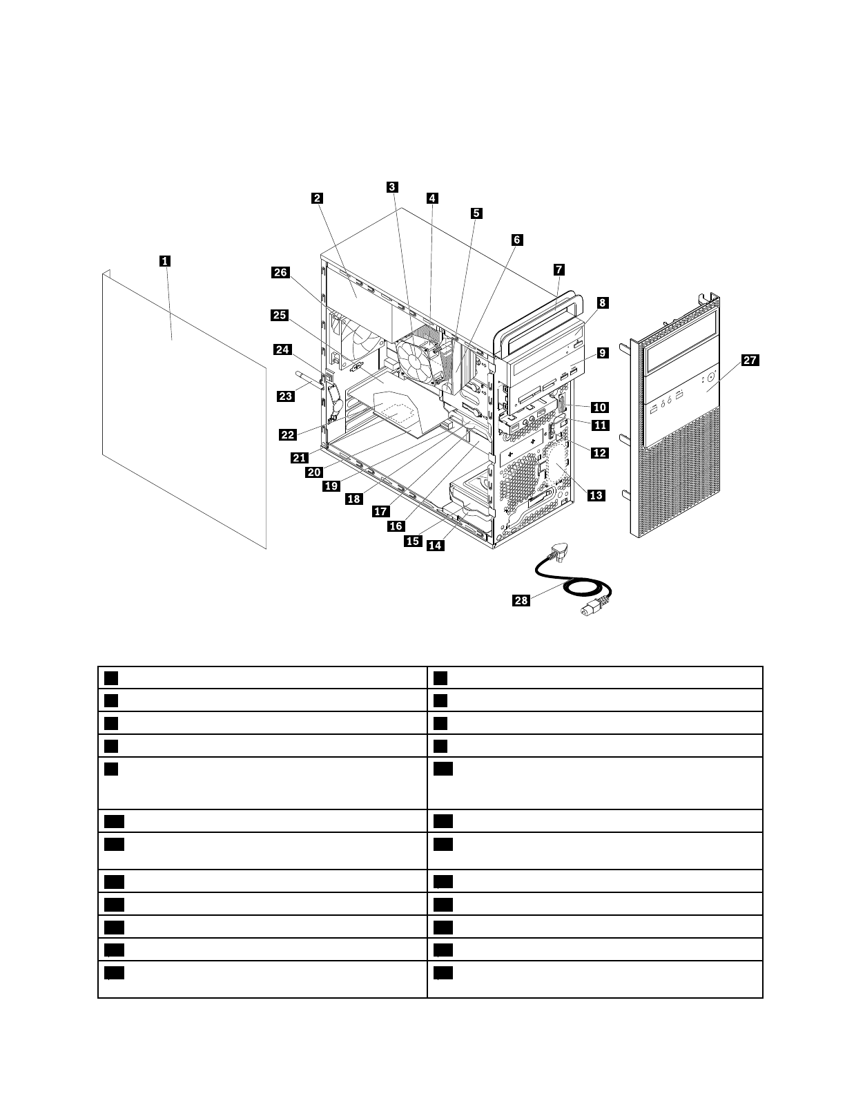
Рис. 3. Компоненты компьютера
1
Кожух компьютера
2
Блок питания
3
Блок радиатора и вентилятора
4
Микропроцессор
5
Плоская круглая батарейка
6
Модуль памяти
7
Ручка для переноски компьютера
8
Дисковод оптических дисков
9
Дисковод для оптических дисков, устройство
считывания карт и блок разъемов USB или корпус
устройства хранения данных с доступом спереди
10
Передняя антенна Wi-Fi
11
Передний блок аудиоразъемов и USB
12
Термодатчик
13
Внутренний динамик
14
Скоба дополнительного устройства хранения
данных
15
Дополнительное устройство хранения данных
16
Материнская плата
17
Скоба основного устройства хранения данных
18
Основное устройство хранения данных
19
Карта адаптера PCI
20
Плата PCI
21
Карта Wi-Fi
22
Карта адаптера Wi-Fi
23
Задняя антенна Wi-Fi
24
Датчик установленного кожуха (другое название
- датчик вмешательства)
5
Содержание
- 3 Содержание
- 4 ii
- 5 iii
- 7 Перед использованием этого руководства; , который прилагается к продукту. Соблюдение правил техники; Обслуживание и модернизация
- 8 Защита от статического электричества; Шнуры и адаптеры питания
- 9 vii
- 10 viii
- 11 Условия эксплуатации; ix
- 12 ОПАСНО; Инструкция по работе с блоками питания
- 13 Глава 1. Обзор продукта; Расположение аппаратных компонентов
- 14 Вид снизу
- 15 Микрофон
- 17 Компоненты компьютера
- 18 Компоненты, расположенные на материнской плате
- 19 Этикетка с типом и моделью компьютера; Компоненты
- 23 Спецификации; Программы
- 24 Установка программы, готовой к установке; Create Recovery Media
- 27 Глава 2. Работа на компьютере; Регистрация компьютера
- 29 Запись на диск; Запись на диск с помощью инструментов Windows
- 30 Подключение к беспроводной локальной сети; Подключить; Подключение к устройству, поддерживающему Bluetooth; Добавить устройство
- 31 Глава 3. Вы и ваш компьютер; Организация рабочего места
- 32 Создание комфортных условий; Информация о специальных возможностях; Сочетания клавиш
- 33 Центр специальных возможностей
- 35 Чистка компьютера
- 36 Панель управления
- 37 Использование последних версий программ; Получение последних драйверов устройств
- 38 Перемещение компьютера
- 41 Прикрепление замка Kensington для троса
- 42 Прикрепление замка для троса; Security
- 43 Предотвращение несанкционированного доступа к компьютеру; Использование аутентификации по отпечаткам пальцев
- 44 Брандмауэр Windows; Как защитить данные от вирусов
- 45 Глава 5. Расширенные настройки; Использование программы Setup Utility; Devices
- 47 Изменение режима производительности ICE
- 48 Использование датчика установленного кожуха; Enabled; Использование паролей BIOS; Типы паролей программы Setup Utility
- 49 Выбор загрузочного устройства
- 50 Как выбрать временное загрузочное устройство; Выход из программы Setup Utility
- 51 Восстановление после сбоя обновления BIOS
- 54 Проблемы при запуске; При нажатии кнопки включения питания компьютер не включается; Не запускается операционная система; Неполадки аудиосистемы; Нет звука в Windows; Вкл
- 55 Звук воспроизводится только с одной внешней колонки; Уровни; Неполадки CD-дисководов; Не удается обратиться к CD- или DVD-диску; Неполадки DVD-дисководов
- 56 Периодически возникающие неполадки
- 57 Проблемы, связанные с устройствами хранения данных; Неполадки сети; Проблемы с локальной сетью Ethernet; Не удается подключить компьютер к локальной сети Ethernet
- 58 Проблема с беспроводной локальной сетью
- 59 Неполадки Bluetooth
- 60 Проблемы производительности; Слишком много фрагментированных файлов
- 61 Недостаточно памяти; Нет доступа к последовательному разъему; Нет доступа к устройству USB
- 62 Проблемы с программным обеспечением и драйверами; Для некоторых программ даты сортируются в неправильном порядке; Устройство нормально не работает из-за проблем с его драйвером; Диагностика
- 64 Информация о восстановлении Windows 10
- 67 Глава 7. Установка или замена аппаратных компонентов; Установка или замена аппаратных компонентов
- 69 Замена лицевой панели
- 72 Замена устройства хранения данных
- 76 Безопасное извлечение устройств и дисков
- 79 Замена твердотельного диска M.2
- 80 Замена дисковода для оптических дисков
- 82 Замена блока питания
- 83 Замена блока радиатора и вентилятора
- 85 Замена модуля памяти
- 89 Замена карты адаптера PCI
- 91 Замена карты PCI-Express
- 92 Замена плоской круглой батарейки
- 93 Что нужно сделать после замены компонентов
- 95 Справка и поддержка; Техника безопасности и гарантия
- 96 Выявление причин неполадок
- 97 Технологические изменения; Прочие услуги
- 99 Приложение A. Нормативная информация; Замечания по классификации для экспорта
- 100 Deutschsprachiger EU Hinweis:
- 101 Единый знак обращения на рынке стран Таможенного союза
- 103 Приложение B. Информация по WEEE и утилизации; Важная информация о WEEE; Информация о WEEE для Венгрии
- 105 Информация об утилизации аккумуляторов для Европейского союза; Примечание
- 111 Приложение E. Информация о модели ENERGY STAR; Управление электропитанием
- 113 Приложение F. Замечания
- 114 Товарные знаки












