Системные блоки Lenovo H3 Series - инструкция пользователя по применению, эксплуатации и установке на русском языке. Мы надеемся, она поможет вам решить возникшие у вас вопросы при эксплуатации техники.
Если остались вопросы, задайте их в комментариях после инструкции.
"Загружаем инструкцию", означает, что нужно подождать пока файл загрузится и можно будет его читать онлайн. Некоторые инструкции очень большие и время их появления зависит от вашей скорости интернета.

5
Руководствопользователя
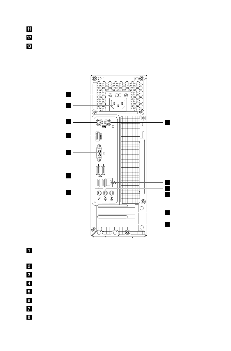
Разъемвводааудио
РазъемадаптераPCIExpressx1
РазъемграфическогоадаптераPCIExpressx16(данныйразъем
установленвнекоторыхмоделях.Дополнительнуюинформациюо
графическомадаптересм.ниже.)
9
8
10
11
12
13
3
1
2
4
5
6
7
Переключательнапряжения(данныйпереключательустановленв
некоторыхмоделях)
Разъемпитания
РазъемклавиатурыPS/2
РазъеммышиPS/2
РазъемHDMI
ВстроенныйразъемVGA
РазъемыUSB(4)
РазъемEthernet
Содержание
- 4 Содержание; Важнаяинформацияпотехникебезопасности; DriverandApplicationInstallation; Глава3; Диагностикапроблем,связанныхсдисководами
- 6 Глава; Знакомствоскомпьютернымоборудованием
- 7 Видпанелиспереди; Незакрывайтевентиляционныеотверстия
- 11 Подключениекомпьютера; • Есликабеликомпьютераипанельразъемовимеютцветовыекоды,при; Проверьтеположениепереключателянапряжения; Внекоторыхкомпьютерахпереключатель
- 12 Подключитекабельклавиатурыксоответствующему; Есликомпьютероборудованбеспроводной; Подключитекабельмониторакразъемумонитора
- 13 Еслимодельимеетдваразъемадлямонитора,; топодключитеихследующимобразом.; Вводаудио
- 14 Микрофон; Выполнитеследующиеконфигурации:; ивовсплывающемокневыберитепараметрыдлянастройкизвука.
- 15 Еслиуказанныевинструкцииинтерфейсы; активные; колонкибезадаптера:
- 16 этоткабельподключенпостоянно.
- 17 РазъемантенныWiFi.; Подключениекомпьютеракбеспроводнойсети.; 1Правильноподключитешнурыпитаниякрозеткес
- 18 2Есликомпьютероснащенразъемомустройства; LVT; ПослевходавWindowsнажмитеданнуюкнопкудлязапуска; Lenovo; нажмитеклавишу
- 20 Этаглавасостоитизследующих
- 21 Замечаниеослужебномразделе:; Файлывосстановленияисоответствующиеданные,; Подробноеописаниепроцедуры; ФункцияSystemRecovery(Восстановлениесистемы)
- 22 DriverandApplicationInstallation(Установка; Метод1:автоматическаяустановка
- 24 ВсистемеWindowsнажмите
- 26 Работаспрограммами; ДинамическаясистемаяркостиLenovo
- 27 ДинамическаясистемаяркостиLenovo; Функцияавтоматическоговыключениядисплея
- 28 ) Установитефлажок; СистемарасстояниядоглазLenovo
- 29 Этуфункциюможноприменитьтолькоесли; Пуск; (Работафункцииопределениярасстояниямеждупользователем
- 30 Поискиустранениенеполадок
- 31 Разрешениепроблем; Процедурыэтойпубликациисоставленыдля; Поискиустранениенеполадокотображения; Диагностикаиустранениепричины:
- 32 Диагностикапроблем,связанныхсозвуком
- 33 ПоискиустранениенеполадокПО; Вовремяустановкипрограммы; Диагностикапроблем,связанныхсдисководами
- 34 дисководоптическихдисковможетчитатьэтоттипCD-илиDVD-диска.
- 35 Специальныезамечаниядлядиагностики; ДрайверыдляэтоймоделикомпьютераподдерживаютсятольковОС; Задачиежедневногообслуживания; Очисткакомпонентовкомпьютера; Преждечемприступитькочисткекомпьютера,
- 36 Воизбежаниеповреждениякомпьютераили; Нижеописаныобщиеспособыочисткикомпонентов:; • Пыльсповерхностикомпьютера,монитора,принтера,колонокимыши; Невыполняйтеследующиедействия.; внутренниекомпонентыкомпьютера