Синтезаторы Yamaha YPT-210 - инструкция пользователя по применению, эксплуатации и установке на русском языке. Мы надеемся, она поможет вам решить возникшие у вас вопросы при эксплуатации техники.
Если остались вопросы, задайте их в комментариях после инструкции.
"Загружаем инструкцию", означает, что нужно подождать пока файл загрузится и можно будет его читать онлайн. Некоторые инструкции очень большие и время их появления зависит от вашей скорости интернета.

ê‡Áۘ˂‡ÌË ÏÂÎÓ‰ËÈ
28
PSR-E213/YPT-210 êÛÍÓ‚Ó‰ÒÚ‚Ó ÔÓθÁÓ‚‡ÚÂÎfl
2
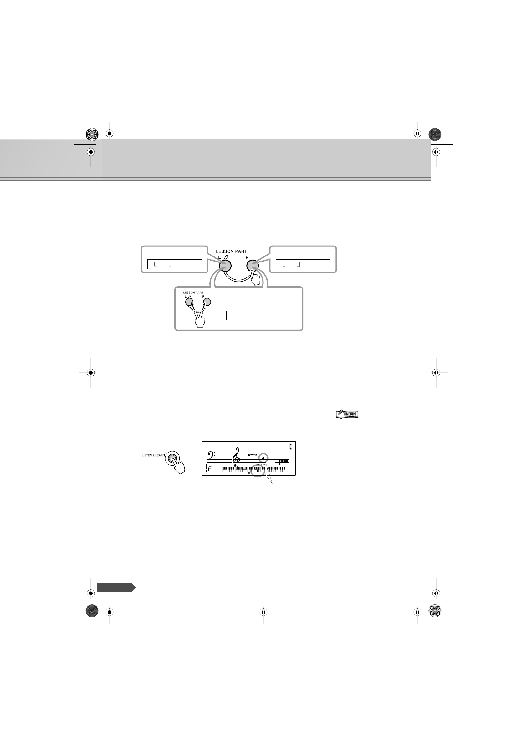
Ç˚·ÂËÚ ԇÚ˲, ÍÓÚÓÛ˛ ıÓÚËÚ ‡ÁÛ˜ËÚ¸.
ажмите кнопку [R] для партии правой руки, кнопку [L] для партии
левой руки или одновременно нажмите кнопки [R] и [L], чтобы
выбрать урок для обеих рук. Отображается выбранная партия.
3
燘ÌËÚ ìÓÍ 1.
ажмите кнопку [LISTEN & LEARN], чтобы начать Урок 1.
$азвучит мелодия партии, которую вы выбрали на шаге
2
.
лушайте внимательно и запоминайте.
4
Ç˚ȉËÚ ËÁ ÂÊËχ ÛÓ͇.
%з режима урока можно выйти в любой момент, нажав кнопку
[START/STOP].
Right
Left
BothHand
ìÓÍ ‰Îfl Ó·ÂËı ÛÍ
ìÓÍ ‰Îfl Ô‡‚ÓÈ ÛÍË
ìÓÍ ‰Îfl ΂ÓÈ ÛÍË
• è‡Ú˲ ÏÓÊÌÓ ‚˚·‡Ú¸ ‰‡ÊÂ
ÔÓÒΠ̇˜‡Î‡ ìÓ͇ 1 Ë ‚Ó
‚ÂÏfl ‚ÓÒÔÓËÁ‚‰ÂÌËfl
ÏÂÎÓ‰ËË.
• ÖÒÎË ÏÂÌflÂÚÒfl ÚÂÏ· ÏÂÎÓ‰ËË,
ÔÓÎÓÊÂÌË Í·‚˯, Û͇Á‡ÌÌÓÂ
̇ ˝Í‡ÌÂ, ÏÓÊÌÓ Ò‰‚ËÌÛÚ¸
(̇ ‡ÒÒÚÓflÌËÂ, ͇ÚÌÓÂ
ÓÍÚ‡‚Â) ‚ Á‡‚ËÒËÏÓÒÚË ÓÚ
‚˚·‡ÌÌÓ„Ó ÚÂÏ·‡.
• ìÓÍË 1 – 3 ÏÓÊÌÓ ‚˚·‡Ú¸,
̇ʇ‚ ÍÌÓÔÍË [LISTEN &
LEARN], [TIMING] Ë [WAITING]
ÒÓÓÚ‚ÂÚÒÚ‚ÂÌÌÓ.
LISTEN
r1
011
ç‡ ˝Í‡Ì ÓÚÓ·‡Ê‡˛ÚÒfl ÌÓÚ˚ ÏÂÎÓ‰ËË
Ë ‡ÔÔÎË͇ÚÛ‡.
psre213_rus_4.fm Page 28 Wednesday, July 25, 2007 12:26 AM
Содержание
- 8 ìÒÚ‡Ìӂ͇; é·flÁ‡ÚÂÎ ̧ÌÓ ‚ ̊ÔÓÎÌËÚ ÒÎÂ‰Û ̨ ̆Ë ‰ÂÈÒÚ‚Ëfl, èêÖÜÑÖ óÖå ‚ÍÎ ̨ ̃‡Ú ̧ ÔËÚ‡ÌËÂ.; ĉ‡ÔÚ ÔÂÂÏÂÌÌÓ„Ó ÚÓ͇; ŇڇÂË; í·ӂ‡ÌËfl Í ̋ÎÂÍÚÓÔËÚ‡ÌË ̨
- 9 ÇÒ ÌÂÓ·ıÓ‰ËÏ ̊ ÔÓ‰ÍÎ ̨ ̃ÂÌËfl ÒΉÛÂÚ ‚ ̊ÔÓÎÌËÚ ̧ Ñé ‚ÍÎ ̨ ̃ÂÌËfl ÔËÚ‡ÌËfl.; èÓ‰ÍÎ ̨ ̃ÂÌËÂ Ì‡Û ̄ÌËÍÓ‚; àÒÔÓÎ ̧ÁÓ‚‡ÌË MIDI-‡Á ̇ÂÏÓ‚
- 12 ä‡ÚÍÓ ÛÍÓ‚Ó‰ÒÚ‚Ó; à Á Ï Â Ì Â Ì Ë Â Ú Â Ï · Ó ‚; ÇÍÎ ̨ ̃ËÚ ÔËÚ‡ÌËÂ Ë Ì‡ÒÚÓÈÚ „ÓÏÍÓÒÚ ̧; ÇÍÎ ̨ ̃ÂÌË ÔËÚ‡ÌËfl
- 13 Отображаются номер и название тембра.; èÓÔÓ·ÛÈÚ ‚ÓÒÔÓËÁ‚ÂÒÚË ‡ÁÌ ̊ ËÌÒÚÛÏÂÌڇΠ̧Ì ̊ ÚÂÏ· ̊; Flute; àÁÏÂÌÂÌË ÚÂÏ·Ó‚
- 14 Ç ̊·ÂËÚ ÌÛÊÌ ̊È Û‰‡Ì ̊È ËÌÒÚÛÏÂÌÚ.; à„‡ ‚ ÚÂÏ·Â Grand Piano
- 15 ëÔËÒÓÍ Û‰‡Ì ̊ı; èÓÔÓ·ÛÈÚÂ Ì‡Ê‡Ú ̧ Í·‚Ë ̄Ë ÔÓ Ó ̃‰Ë.
- 16 á ‚ Û ÍÓ ‚ ̊ Â ̋ Ù Ù Â Í Ú ̊
- 18 а экране появится частота сигнала метронома.; ç‡ÒÚÓÈ͇ ̃‡ÒÚÓÚ ̊ Ò˄̇· ÏÂÚÓÌÓχ; TimeSig; ç‡ÒÚÓÈ͇ „ÓÏÍÓÒÚË ÏÂÚÓÌÓχ; MetroVol
- 19 Ç Ó Ò Ô Ó Ë Á ‚  ‰ Â Ì Ë Â Ï Â Î Ó ‰ Ë È; Отображаются номер и название мелодии.; Ç ̊·Ó Ë ÔÓÒÎÛ ̄Ë‚‡ÌË ÍÓÌÍÂÚÌÓÈ ÏÂÎÓ‰ËË; ÇÓÒÔÓËÁ‚‰ÂÌË ÏÂÎÓ‰ËÈ
- 20 ëÔËÒÓÍ ÏÂÎÓ‰ËÈ; ругие действия
- 21 à „ ‡ Ò Ó Ò Ú Ë Î Â Ï; Отображаются номер и название стиля.; Ç ̊·Ó ËÚχ ÒÚËÎfl; HH Light; à„‡ ÒÓ ÒÚËÎÂÏ
- 24 éÒÌÓ‚Ì ̊ ÓÔ‡ˆËË Ë ̋Í‡Ì ̊; éÒÌÓ‚Ì ̊ ÓÔ‡ˆËË
- 25 ç‡ÊÏËÚ ÍÌÓÔÍÛ, ̃ÚÓ· ̊ ‚ ̊·‡Ú ̧; GrandPn2
- 26 ù͇Ì
- 27 ê‡ÁÛ ̃Ë‚‡ÌË ÏÂÎÓ‰ËÈ; Yamaha Education Suite 5; од урока; Ç ̊·ÂËÚ ÌÛÊÌÛ ̨ ÏÂÎÓ‰Ë ̨ ‰Îfl ÛÓ͇.
- 28 лушайте внимательно и запоминайте.; Ç ̊ȉËÚ ËÁ ÂÊËχ ÛÓ͇.
- 29 Ç ̊·ÂËÚ ÏÂÎÓ‰Ë ̨ ‰Îfl ÛÓ͇.; OK; îÛÌ͈Ëfl Grade
- 30 WAITING
- 31 ç‡ÒÚÓÈÍË ÏÂÎÓ‰ËÈ; àÁÏÂÌÂÌË ÚÓ̇Π̧ÌÓÒÚË ÏÂÎÓ‰ËË; ожно изменить тональность мелодии на любую другую тональность.; Ç ̊·ÂËÚ ÏÂÎÓ‰Ë ̨ Ë Ì‡ ̃ÌËڠ ˄‡Ú ̧.; ÉÓÏÍÓÒÚ ̧ ÏÂÎÓ‰ËË
- 32 воспроизведения мелодии.; SongVol
- 33 è‡ÍÚË͇ – ÛÒÎÓ‚Ë ÒÓ‚Â ̄ÂÌÒÚ‚‡; REPEAT
- 34 à„‡ÈÚÂ, ËÒÔÓÎ ̧ÁÛfl ‡ÁÎË ̃Ì ̊ ̋ÙÙÂÍÚ ̊; ÑÓ·‡‚ÎÂÌË ̋ÙÙÂÍÚ‡ ‚·‡ˆËË; óÚÓ· ̊ ‰Ó·‡‚ËÚ ̧ ̋ÙÙÂÍÚ Â‚Â·Â‡ˆËË
- 35 ÑÓ·‡‚ÎÂÌË ̋ÙÙÂÍÚ‡ Sustain; Sustain
- 36 èÓÎÂÁÌ ̊ ËÒÔÓÎÌËÚÂÎ ̧ÒÍË ÙÛÌ͈ËË; ìÒÚ‡Ìӂ͇ ÚÓ ̃ÍË ‡Á‰ÂÎÂÌËfl Í·‚ˇÚÛ ̊; *оложение точки разделения можно изменить по желанию.; í‡ÌÒÔÓÌËÓ‚‡ÌËÂ; Transpos
- 37 îÛÌ͈Ëfl Tuning; Tuning; SprnoSax
- 38 àÁÏÂÌÂÌË ÚÂÏÔ‡ ÏÂÎÓ‰ËË ËÎË ÒÚËÎfl
- 39 ê‡ÁÎË ̃Ì ̊ ÒÔÓÒÓ· ̊ ̇ ̃‡Ú ̧ Ë Á‡‚ ̄ËÚ ̧ ‚ÓÒÔÓËÁ‚‰ÂÌË ÒÚËÎfl; ç‡ ̃‡ÎÓ ‚ÓÒÔÓËÁ‚‰ÂÌËfl ÒÚËÎfl
- 40 ᇂ ̄ÂÌË ‚ÓÒÔÓËÁ‚‰ÂÌËfl ÒÚËÎfl
- 41 аздел вставки
- 42 MAIN A; FILL A≥B
- 43 ç‡ÒÚÓÈ͇ „ÓÏÍÓÒÚË ÒÚËÎfl; StyleVol
- 46 èÓËÒÍ ‡ÍÍÓ‰Ó‚ ‚ ÒÎÓ‚‡Â
- 47 ÄÍÍÓ‰ ̊; ç‡Á‚‡ÌËfl ‡ÍÍÓ‰Ó‚
- 48 ç‡ÒÚÓÈÍË ÙÛÌ͈ËÈ; Ç ̊·ÂËÚ ԇ‡ÏÂÚ Ë ËÁÏÂÌËÚ Á̇ ̃ÂÌËÂ; уществует 16 параметров, которые можно настраивать.
- 50 • *ередача исполнительских данных и данных настроек между
- 51 艇 ̃‡ ËÒÔÓÎÌËÚÂÎ ̧ÒÍËı ‰‡ÌÌ ̊ı ̇ ‰Û„ÓÈ ËÌÒÚÛÏÂÌÚ Ë Ó·‡ÚÌÓ
- 52 臇ÏÂÚ ̊ MIDI; 臇ÏÂÚ ̊ ÙÛÌ͈ËË Local; 臇ÏÂÚ ̊ ÙÛÌ͈ËË External Clock (ÇÌ ̄Ìflfl ÒËÌıÓÌËÁ‡ˆËfl)
- 54 å‡ÍÒËχΠ̧̇fl ÔÓÎËÙÓÌËfl • • • • • • • • • • • • • • • • • • • • • • • • •
- 68 è‰ÏÂÚÌ ̊È Û͇Á‡ÚÂÎ ̧



