Синтезаторы Yamaha F11 MODUS - инструкция пользователя по применению, эксплуатации и установке на русском языке. Мы надеемся, она поможет вам решить возникшие у вас вопросы при эксплуатации техники.
Если остались вопросы, задайте их в комментариях после инструкции.
"Загружаем инструкцию", означает, что нужно подождать пока файл загрузится и можно будет его читать онлайн. Некоторые инструкции очень большие и время их появления зависит от вашей скорости интернета.

уководство пользователя F11/F01
32
2ыбор и воспроизведение тембров
4охранение настроек тембра (F11)
5екоторые из текущих настроек тембра можно сохранить во внутренней памяти инструмента. 9анные
сохраняются даже при выключении питания.
Удерживая нажатой кнопку
[REC]
, нажмите кнопку
[G. PIANO 1]
(см. краткое
руководство по эксплуатации). -огда сохранение завершится, на экране на три
секунды появляется надпись «End» (8авершение). огут сохраняться следующие
настройки:
• 6ип и глубина реверберации
• Октава
• 7ромкость
(нициализация настроек тембра
ключите питание, удерживая нажатыми кнопки
[REC]
и
[G. PIANO 1]
.
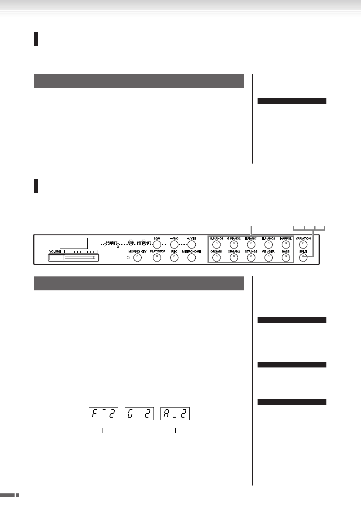
#азделение клавиатуры и тембров (режим Split)
%ежим разделения тембров позволяет использовать один тембр для левой руки и другой для правой. 5апример,
левой рукой можно играть басовую партию с тембром Bass, а правой – мелодию.
1
ключите режим Split.
5ажмите кнопку
[SPLIT]
, чтобы загорелся ее индикатор. $начала для левой
руки по умолчанию выбирается тембр
(BASS)
.
2
Укажите точку разделения (правой и левой части
клавиатуры).
ожно перенести точку разделения клавиатуры на любую другую
клавишу, нажав ее и удерживая кнопку
[SPLIT]
(или нажав кнопку
[–/NO]
или
[+/YES]
и удерживая кнопку
[SPLIT]
). -огда удерживается кнопка
[SPLIT]
, на индикаторе отображается название текущей клавиши
разделения клавиатуры.
>о умолчанию точка разделения клавиатуры установлена на клавише F
#
2.
6сли точку разделения не требуется переносить, не выполняйте
эту операцию.
А
ианино F01 не позволяет выби-
рать порядок сохранения настроек
тембра во внутренней памяти
инструмента. ри изменении
настроек они сохраняются
автоматически. Однако при
отключении питания инструмента
сохраненные данные теряются.
&орядок действий
1 2
5
3
4
&орядок действий
А
ежимы Dual (стр. 31) и Split нельзя
использовать одновременно.
Ю
5аданная точка разделения
клавиатуры (split point) входит
в левую часть.
Ю
$тандартная установка:
F
#
2
(F
#
2)
(G2)
(A
b
2)
ример экрана с клавишей разделения клавиатуры
за диезом следует высокий такт
за бемолем следует низкий такт