Швейная машина Singer Talent 3327A - инструкция пользователя по применению, эксплуатации и установке на русском языке. Мы надеемся, она поможет вам решить возникшие у вас вопросы при эксплуатации техники.
Если остались вопросы, задайте их в комментариях после инструкции.
"Загружаем инструкцию", означает, что нужно подождать пока файл загрузится и можно будет его читать онлайн. Некоторые инструкции очень большие и время их появления зависит от вашей скорости интернета.

17
1
2
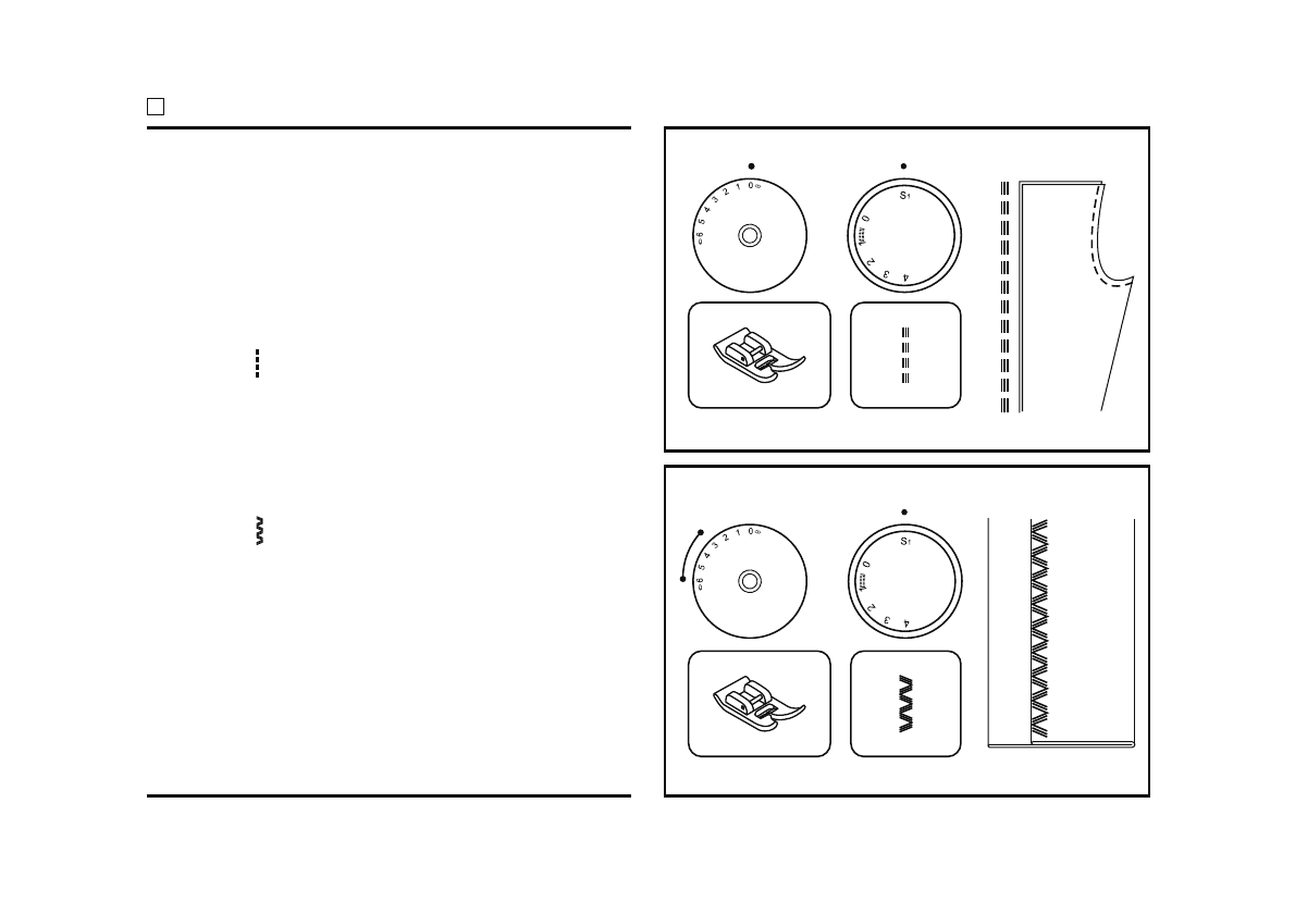
Ýëàñòè÷íûå ñòðî÷êè
Ýëàñòè÷íûå ñòðî÷êè èçîáðàæåíû ñèíèì öâåòîì íà
ðåãóëÿòîðå âûáîðà ñòðî÷åê. ×òîáû âûáðàòü îäíó èç
ýëàñòè÷íûõ ñòðî÷åê, ïåðåâåäèòå ðåãóëÿòîð ê èçîáðàæåíèþ
âûáðàííîé ñòðî÷êè. Çàòåì ïåðåâåäèòå ðåãóëÿòîð äëèíû
ñòåæêà ê èçîáðàæåíèþ "S1". Íèæå îïèñàíû íåñêîëüêî
âèäîâ ýëàñòè÷íûõ ñòðî÷åê:
Ñ ïîìîùüþ ðåãóëÿòîðà âûáîðà ñòðî÷åê óñòàíîâèòå
ïðîãðàììó "
".
Ï ð è ì å í ÿ å ò ñ ÿ
ä ë ÿ
ý ë à ñ ò è ÷ í û õ
ò ê à í å é
è
ø â î â ,
íóæäàþùèõñÿ â óêðåïëåíèè. Ìàøèíà äåëàåò äâà ñòåæêà
âïåðåä è îäèí íàçàä.
Ñ ïîìîùüþ ðåãóëÿòîðà âûáîðà ñòðî÷åê óñòàíîâèòå
ïðîãðàììó "
".
Óñòàíîâèòå øèðèíó ñòåæêà ìåæäó "3" è "6". Óñèëåííûé çèã-
çàã ïðèìåíÿåòñÿ äëÿ òàêèõ ïëîòíûõ òêàíåé êàê: äæèíñà,
âåëüâåò, ïîïëèí, ïàðóñèíà è ò.ä.
Ïðÿìàÿ ýëàñòè÷íàÿ ñòðî÷êà (1)
Óñèëåííûé çèã-çàã (2)