Швейная машина Singer Simple 3210 - инструкция пользователя по применению, эксплуатации и установке на русском языке. Мы надеемся, она поможет вам решить возникшие у вас вопросы при эксплуатации техники.
Если остались вопросы, задайте их в комментариях после инструкции.
"Загружаем инструкцию", означает, что нужно подождать пока файл загрузится и можно будет его читать онлайн. Некоторые инструкции очень большие и время их появления зависит от вашей скорости интернета.

5
RU
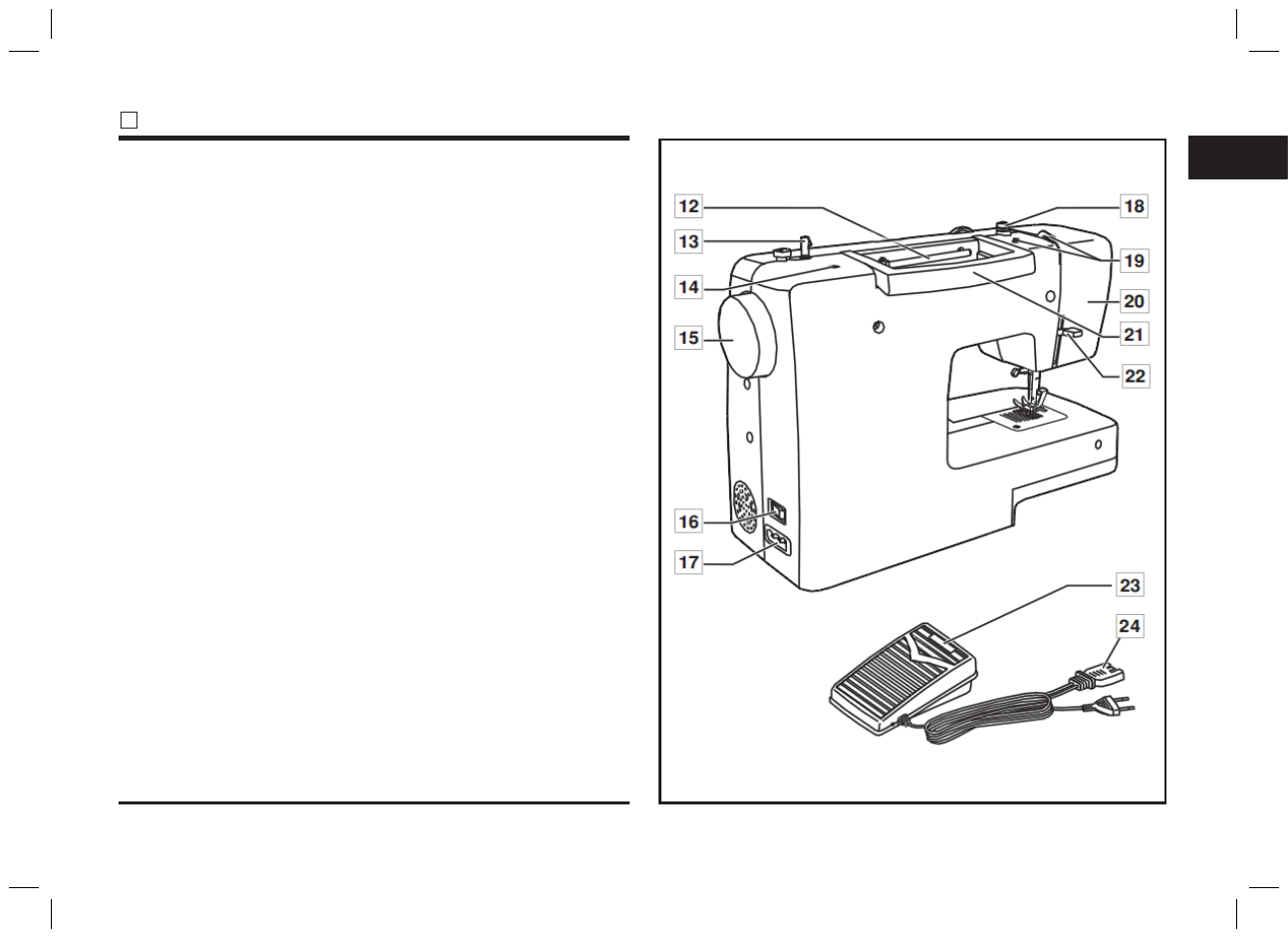
Основные части машины
12. Горизонтальный бобинодержатель
13. Шпуленамотчик
14. Отверстие для второго бобинодержателя
15. Маховик
16. Главный выключатель двигателя и света
17. Штепсель машины
18. Нитенаправитель для нижней нити
19. Нитенаправитель для верхней нити
20. Фронтальная крышка
21. Ручка
22. Рычаг подъема прижимной лапки
23. Педаль управления
24. Сетевой шнур
Содержание
- 5 Основные части машины
- 7 Подключение машины к электрической сети
- 8 Рычаг подъема прижимной лапки двухпозиционный
- 9 Аксессуары
- 10 Намотка нити на шпульку
- 11 Установка шпульки
- 12 Регулировка натяжения нити
- 13 Заправка верхней нити
- 14 Вытягивание нижней нити
- 15 Выбор строчки
- 16 Выбор длины стежка
- 17 Выполнение прямой строчки
- 18 Реверсивная строчка; Съем изделия
- 19 Выполнение эластичной строчки
- 20 Потайная строчка
- 21 Выполнение петель в 4 шага
- 23 Пришивание пуговиц
- 24 Установка съемного контейнера для аксессуаров
- 25 Установка держателя прижимной лапки
- 29 Установка и замена иглы
- 30 Замена лампочки
- 31 Устранение неисправностей













