Швейная машина Singer M3505 - инструкция пользователя по применению, эксплуатации и установке на русском языке. Мы надеемся, она поможет вам решить возникшие у вас вопросы при эксплуатации техники.
Если остались вопросы, задайте их в комментариях после инструкции.
"Загружаем инструкцию", означает, что нужно подождать пока файл загрузится и можно будет его читать онлайн. Некоторые инструкции очень большие и время их появления зависит от вашей скорости интернета.

26
Регулярно меняйте иглы, особенно при появлении
признаков износа или проблем при шитье. Для
получения наилучших результатов используйте
подлинные иглы SINGER
®
.
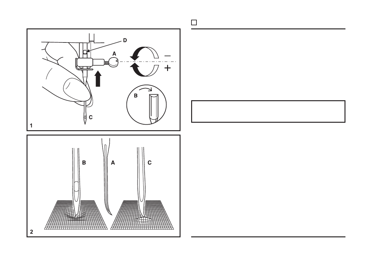
Вставьте иглу, как показано на рисунке:
A. Ослабьте винт крепления иглы и затяните его снова
после установки новой иглы. (1)
B. Плоская сторона колбы иглы должна быть повернута
назад.
C/D. Вставьте новую иглу вверх до упора.
Внимание:
Выключите питание машины (положение «О») перед
установкой или удалением иглы.
Установка иглы
Иглы должны быть в отличном состоянии. (2)
Проблемы могут возникнуть с:
A. Кривыми иглами
B. Поврежденным острием
C. Тупыми иглами













