Швейная машина Singer Confidence 7463 - инструкция пользователя по применению, эксплуатации и установке на русском языке. Мы надеемся, она поможет вам решить возникшие у вас вопросы при эксплуатации техники.
Если остались вопросы, задайте их в комментариях после инструкции.
"Загружаем инструкцию", означает, что нужно подождать пока файл загрузится и можно будет его читать онлайн. Некоторые инструкции очень большие и время их появления зависит от вашей скорости интернета.

6
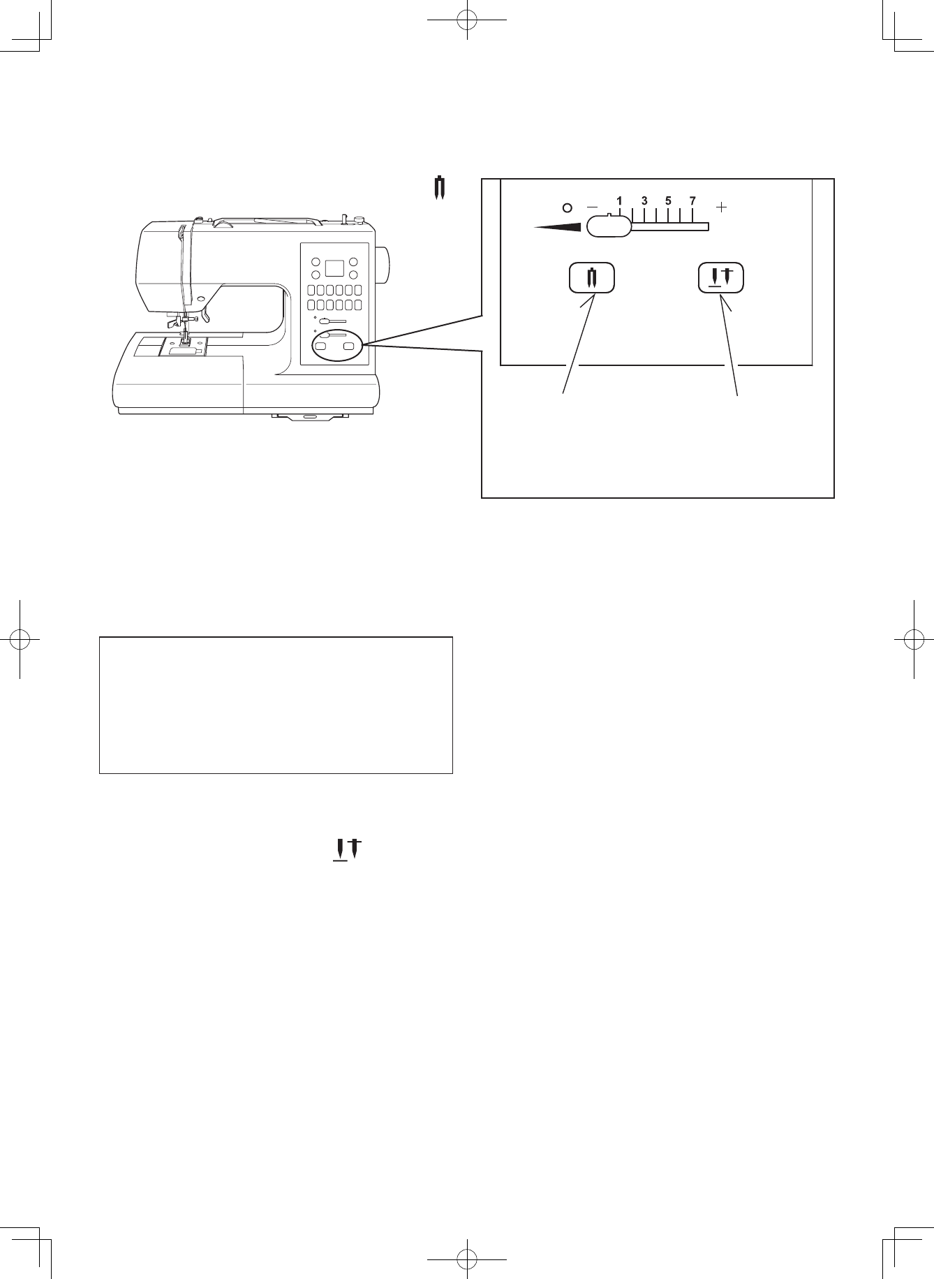
КНОПКА РЕЖИМА ШИТЬЯ ДВОЙНОЙ ИГЛОЙ ( )
(для мод.7469)
При использовании двойной иглы нажмите кнопку режима
шитья двойной иглой вне зависимости от выбранного
о б р а з ц а с т р о ч к и . С д е л а в э т о , в ы а в т о м а т и ч е с к и
уменьшите ширину стежка, что исключит поломку игл и
возможные неприятности для машины.
П р и н а ж а т о й к л а в и ш е , и н д и ц и р о в а н н о й к р а с н о й
подсветкой, образцы, номера которых обведены кружками
н е м о г у т б ы т ь в ы б р а н ы . П р и п о п ы т к е и х в ы б о р а в ы
услышите звуковой сигнал «бип».
Полезные советы:
1. В с е гд а н а ж и м а й т е к л а в и ш у р е ж и м а ш и т ь я
двойной иглой до выбора образца строчки, что
исключит поломки игл.
2. П р и в ы к л юч е н и и э л е к т р о п и т а н и я м а ш и н а
возвращается к обычному режиму шитья. Режим
шитья двойной иглой включен только когда
горит красная подсветка кнопки.
Кнопка шитья
двойной иглой
Кнопка "верхнее/нижнее
положение иглы"
КНОПКА ИГЛА ВВЕРХУ/ВНИЗУ ( )
(для мод.7469)
Когда нажата эта кнопка игла переходит и останавливается
в н и ж н е м п ол о ж е н и и . Е с л и к н о п к у н а ж ат ь е щ е р а з ,
то игла будет доходить и останавливаться в верхней
точке. Используется для шитья ломаных линий, углов и
отделочных строчек.













