Швейная машина Janome VS 52 - инструкция пользователя по применению, эксплуатации и установке на русском языке. Мы надеемся, она поможет вам решить возникшие у вас вопросы при эксплуатации техники.
Если остались вопросы, задайте их в комментариях после инструкции.
"Загружаем инструкцию", означает, что нужно подождать пока файл загрузится и можно будет его читать онлайн. Некоторые инструкции очень большие и время их появления зависит от вашей скорости интернета.

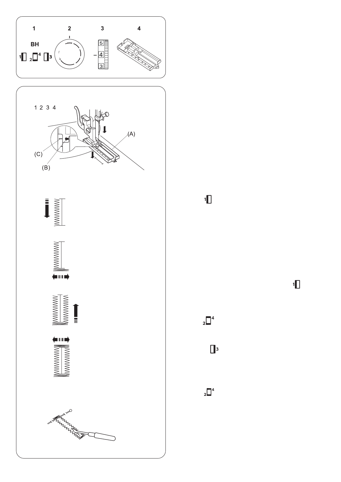
ÏÎËÓÀÂÒÎÌÀÒÈ×ÅÑÊÀß ÎÁÐÀÁÎÒÊÀ ÏÅÒÅËÜ
Óñòàíîâêè íà ìàøèíå:
1. Ñòðî÷êà
ÂÍ
2. Äëèíà ñòåæêà
0,5 - 1,0
3. Íàòÿæåíèå âåðõíåé íèòè
1 - 5
4. Ëàïêà äëÿ âûìåòûâàíèÿ ïîëóàâòîìàòè÷åñêîé
ïåòëè
ÏÐÈÌÅ×ÀÍÈÅ!
Ïåòëþ â ïîëóàâòîìàòè÷åñêîì
ðåæèìå ìîæíî âûïîëíÿòü ñ ïîìîùüþ ïðîçðà÷íîé
ëàïêè «Â». (Ïðèîáðåòàåòñÿ îòäåëüíî)
Ïåðåä âûìåòûâàíèåì ïåòëè íà èçäåëèè ñäåëàéòå
ïðîáíóþ ïåòëþ íà òîé æå òêàíè, êàê Âàøå èçäåëèå.
Ñ ïîìîùüþ ìàðêåðà èëè ìåëà ñäåëàéòå îòìåòêè â
ìåñòàõ âûïîëíåíèÿ ïåòåëü.
1. Óñòàíîâèòå èãëó â âåðõíåå ïîëîæåíèå ïóòåì
âðàùåíèÿ ìàõîâîãî êîëåñà íà ñåáÿ.
2. Óñòàíîâèòå ñïåöèàëüíóþ ëàïêó äëÿ ïåòëè íà
ìàøèíó.
3. Ïåðåêëþ÷àòåëü âûáîðà ñòðî÷åê ïîñòàâüòå â
ïîçèöèþ .
4. Âåðõíþþ è íèæíþþ íèòü ïîëîæèòå â ëåâóþ
ñòîðîíó.
5. Òêàíü èëè èçäåëèå ïîëîæèòå ïîä ëàïêó (À) òàêèì
îáðàçîì, ÷òîáû íà÷àëüíàÿ òî÷êà âûïîëíåíèÿ ïåòëè
(Ñ) îêàçàëàñü â ìåñòå ïðîðåçè (Â) äëÿ èãëû.
Íàæìèòå íà ïåäàëü è âûïîëíèòå íóæíîå
êîëè÷åñòâî ñòåæêîâ. Ñ ïîìîùüþ ìàõîâîãî êîëåñà
ïîäíèìèòå èãëó èç òêàíè.
ÏÐÈÌÅ×ÀÍÈÅ!
Ïîìíèòå, ÷òî â ïîçèöèè ìàøèíà
øüåò âïåðåä. Ïðàâèëüíî ìàðêèðóéòå íà÷àëüíóþ
òî÷êó äëÿ âûïîëíåíèÿ ïåòëè.
6. Óñòàíîâèòå ïåðåêëþ÷àòåëü âûáîðà ñòðî÷åê â
ïîçèöèþ . Íàæìèòå íà ïåäàëü è ñäåëàéòå 5 – 7
ñòåæêîâ çàêðåïêè. Ïîäíèìèòå èãëó èç òêàíè.
7. Óñòàíîâèòå ïåðåêëþ÷àòåëü âûáîðà ñòðî÷êè â
ïîëîæåíèå . Ïðîøåéòå ïðàâûé ñòîëáèê ïåòëè.
Âíèìàòåëüíî ñëåäèòå, ÷òîáû äëèíà ïðàâîãî
ñòîëáèêà áûëà òàêîé æå, êàê ó ëåâîãî. Ïîäíèìèòå
èãëó èç òêàíè.
8. Óñòàíîâèòå ïåðåêëþ÷àòåëü âûáîðà ñòðî÷åê â
ïîçèöèþ . Ñíîâà ñäåëàéòå 5 – 7 ñòåæêîâ
çàêðåïêè. Ïîäíèìèòå èãëó èç òêàíè. Ïîäíèìèòå
ëàïêó. Âûíüòå òêàíü èç-ïîä ëàïêè, îáðåæüòå íèòè,
îñòàâèâ êîíöû íèòåé 8 – 10 ñì. Âåðõíþþ íèòü
âûòÿíèòå íà èçíàíî÷íóþ ñòîðîíó èçäåëèÿ.
Çàâÿæèòå óçåëêè è îáðåæüòå ëèøíèå íèòè.
9. Íà óðîâíå îäíîé èç çàêðåïîê ïåòëè âñòàâüòå
áóëàâêó, êàê ïîêàçàíî íà ðèñóíêå. Âîçüìèòå
âñïàðûâàòåëü è ïðîðåæüòå ùåëü ïåòëè.
21
5
6
7
8
9
2
S.S
.
3
4
1
0
2
S.S
.
3
4
1
0
2
S.S.
3
4
1
0
 
  
  
  
  
  
  
  
  
  
  
  
  
  
  
  
  
  
  
  
  
  
  
  
  
  
  
  
  
  
  
  
  
  
  
  
 











