Швейная машина Janome MyLock 844D (ML 844D) - инструкция пользователя по применению, эксплуатации и установке на русском языке. Мы надеемся, она поможет вам решить возникшие у вас вопросы при эксплуатации техники.
Если остались вопросы, задайте их в комментариях после инструкции.
"Загружаем инструкцию", означает, что нужно подождать пока файл загрузится и можно будет его читать онлайн. Некоторые инструкции очень большие и время их появления зависит от вашей скорости интернета.

18
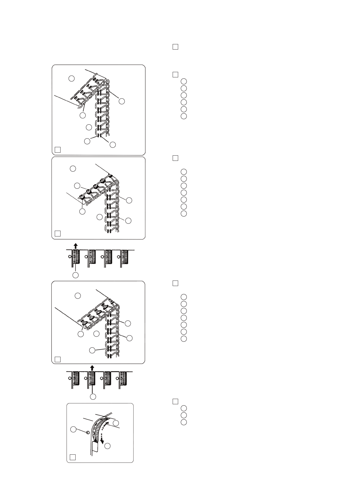
НАТЯЖЕНИЕ НИТЕЙ
Регулировка натяжения нитей может потребоваться
в зависимости от типа ткани и используемых ниток.
Регулировка натяжение нитей.
Установите все четыре шкалы натяжения нитей
на значение «3». Затем шейте и проверяйте натяжение
нитей.
Правильное натяжение.
Изнаночная сторона ткани.
Нитка верхнего петлителя.
Нитка нижнего петлителя.
Лицевая сторона ткани.
Нитка левой иглы.
Нитка правой иглы.
Неправильное натяжение.
Нитка левой иглы ослаблена.
Изнаночная сторона ткани.
Нитка левой иглы.
Нитка правой иглы.
Лицевая сторона ткани.
Нитка верхнего петлителя.
Нитка нижнего петлителя.
Натяжение нити левой иглы.
Увеличить натяжение нити левой иглы.
Неправильное натяжение.
Нитка правой иглы ослаблена.
Изнаночная сторона ткани.
Нитка правой иглы.
Лицевая сторона ткани.
Нитка левой иглы.
Нитка верхнего петлителя.
Нитка нижнего петлителя.
Натяжение нити правой иглы.
Увеличить натяжение нити правой иглы.
Регулятор натяжения нитей.
Текущее значение регулятора.
Увеличение натяжения.
Ослабление натяжения.
2
1
2
3
4
5
6
3
1
2
3
4
5
6
1
7
4
1
2
3
4
5
6
7
5
1
2
3
2
3
4
5
1
1
1
1
2
2
2
2
3
3
3
3
4
4
4
5
5
5
6
6
6
7
7
Характеристики
Остались вопросы?Не нашли свой ответ в руководстве или возникли другие проблемы? Задайте свой вопрос в форме ниже с подробным описанием вашей ситуации, чтобы другие люди и специалисты смогли дать на него ответ. Если вы знаете как решить проблему другого человека, пожалуйста, подскажите ему :)












