Швейная машина Janome MyLock 4852 (ML4852) - инструкция пользователя по применению, эксплуатации и установке на русском языке. Мы надеемся, она поможет вам решить возникшие у вас вопросы при эксплуатации техники.
Если остались вопросы, задайте их в комментариях после инструкции.
"Загружаем инструкцию", означает, что нужно подождать пока файл загрузится и можно будет его читать онлайн. Некоторые инструкции очень большие и время их появления зависит от вашей скорости интернета.

12
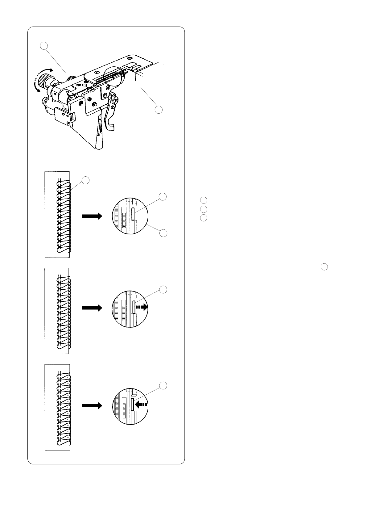
Ðåãóëèðîâêà øèðèíû îáðåçêè
Åñëè øèðèíà îáðåçêè ñëèøêîì óçêàÿ èëè
ñëèøêîì øèðîêàÿ ïî îòíîøåíèþ ê øèðèíå øâà,
òî åå ñëåäóåò îòðåãóëèðîâàòü.
1. Îòêëþ÷èòå ïèòàíèå è âûòàùèòå âèëêó èç
ðîçåòêè.
2. Îòêðîéòå áîêîâóþ êðûøêó è êðûøêó
ïåòëèòåëåé.
3. Óñòàíîâèòå âåðõíèé íîæ â íèæíåå ïîëîæåíèå.
4. Ïîâåðíèòå ðó÷êó ðåãóëèðîâêè øèðèíû
îáðåçêè è óñòàíîâèòå æåëàåìîå ïîëîæåíèå
íèæíåãî íîæà.
1 Ðó÷êà ðåãóëèðîâêè øèðèíû îáðåçêè
2 Íèæíèé íîæ
3 Ñòàíäàðòíàÿ óñòàíîâêà
* Øèðèíà îáðåçêè îò ïîëîæåíèÿ íà ýòîé
ìîäåëè ìîæåò óñòàíàâëèâàòüñÿ îò 3.0 äî
5.0 ìì ïðàâîé èãëû â çàâèñèìîñòè îò
Âàøèõ íóæä è îáðàáàòûâàåìîé òêàíè.
(Øèðèíó îáðåçêè ñëåäóåò óñòàíîâèòü òàê,
÷òîáû ïîëó÷èòü ðåçóëüòàòû, êàê íà ðèñ. 4 .)
Åñëè øèðèíà îáðåçêè ñëèøêîì ìàëåíüêàÿ.
Ïîâåðíèòå ðó÷êó ðåãóëèðîâêè øèðèíû îáðåçêè ïî
÷àñîâîé ñòðåëêå (À).
Íèæíèé íîæ ïåðåäâèíåòñÿ âïðàâî.
Åñëè øèðèíà îáðåçêè ñëèøêîì áîëüøàÿ.
Ïîâåðíèòå ðó÷êó ðåãóëèðîâêè øèðèíû îáðåçêè
ïðîòèâ ÷àñîâîé ñòðåëêè (Â) .
Íèæíèé íîæ ïåðåäâèíåòñÿ âëåâî.
5. Óñòàíîâèòå âåðõíèé íîæ â âåðõíåå
ïîëîæåíèå.
6. Çàêðîéòå áîêîâóþ êðûøêó è êðûøêó
ïåòëèòåëåé.
1
2
2
3
2
2
(A)
(B)
4