Швейная машина Janome 9880 - инструкция пользователя по применению, эксплуатации и установке на русском языке. Мы надеемся, она поможет вам решить возникшие у вас вопросы при эксплуатации техники.
Если остались вопросы, задайте их в комментариях после инструкции.
"Загружаем инструкцию", означает, что нужно подождать пока файл загрузится и можно будет его читать онлайн. Некоторые инструкции очень большие и время их появления зависит от вашей скорости интернета.

4
13
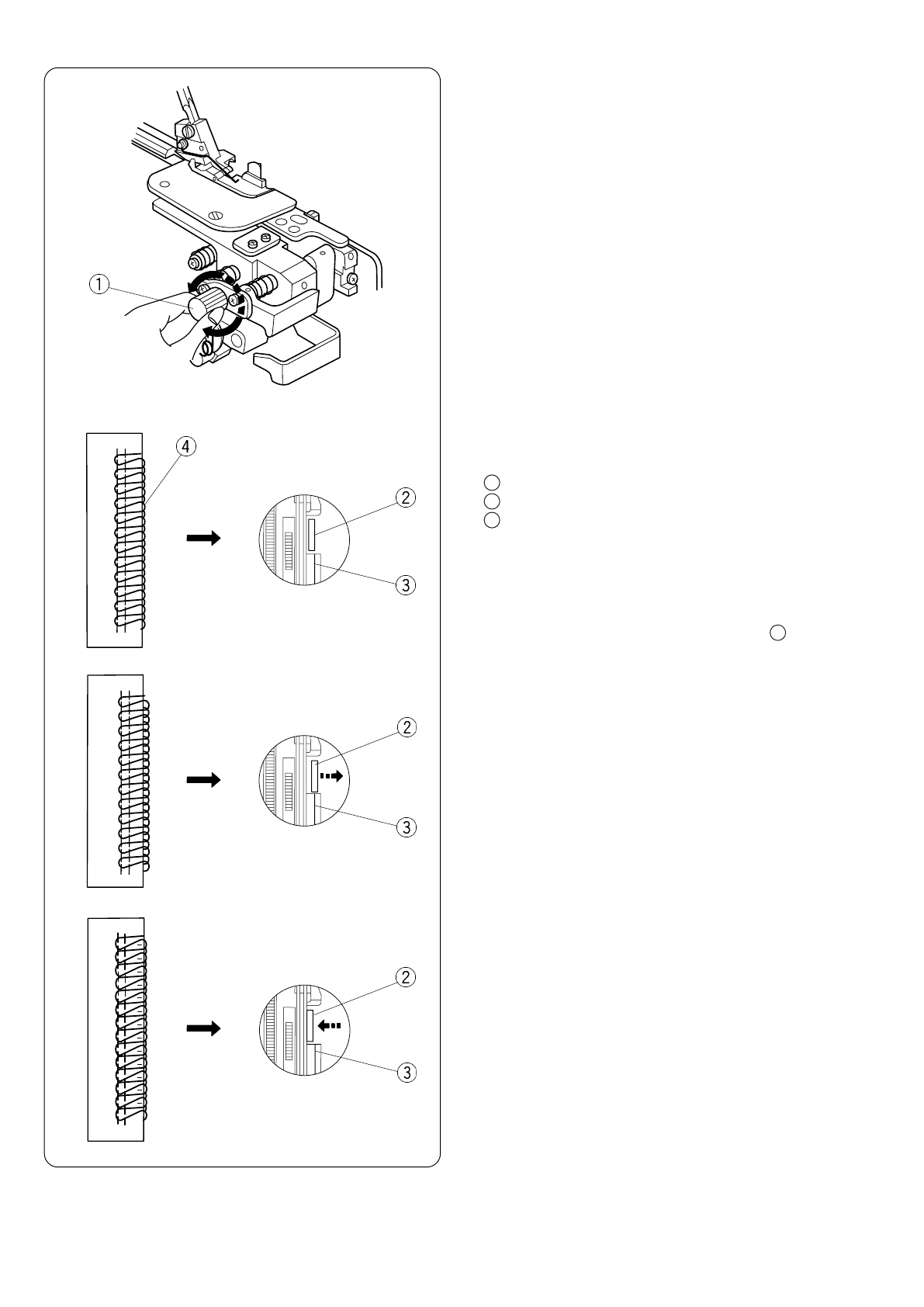
Регулировка ширины обрезки
Если ширина обрезки слишком узкая или слишком
широкая по отношению к ширине шва, то ее следует
отрегулировать.
1.
Отключите питание и вытащите вилку из розетки.
2. Откройте боковую крышку и крышку отсека
петлителей.
3. Поверните регулятор ширины обрезки и установите
желаемое положение нижнего ножа.
Регулятор ширины обрезки
Нижний нож
Направительные линии на игольной пластине
•
Ширина обрезки на этой модели может
устанавливаться от 3.0 до 5.0 мм от позиции правой
иглы в зависимости от желания и обрабатываемой
ткани. (Ширину обрезки следует установить так,
чтобы получить результаты, как на рис.
).
(А)
Когда ширина обрезки слишком маленькая.
Поверните регулятор ширины обрезки по часовой
стрелке.
Нижний нож передвинется вправо.
(В)
Когда ширина обрезки слишком большая.
Поверните регулятор ширины обрезки против
часовой стрелки.
Нижний нож передвинется влево.
4. Закройте боковую крышку и крышку отсека
петлителей.
5. Сделайте образец и проверьте ширину обрезки.
( A )
( B )
(A)
(B)
1
2
3
Содержание
- 5 СОДЕРЖАНИЕ
- 6 ПОДГОТОВКА; Наименование частей
- 15 Регулировка ширины обрезки
- 18 Работа с двухниточным стежком
- 19 Заправка нитей в машину
- 30 НАЧАЛО ШИТЬЯ; Начало шитья
- 31 Закрепление концов нитей
- 38 Несбалансированное натяжение игольной нити
- 39 Соотношение игл и ниток
- 40 и регулятор натяжения; РОЛИКОВЫЙ ШОВ, ОБРАБОТКА КРАЯ И УЗКИЙ ШОВ
- 41 Натяжение нити
- 42 Для достижения лучших результатов
- 43 ДЕКОРАТИВНАЯ ОБРАБОТКА; СБОРКИ; Нить и ткань
- 44 МЕЛКИЕ СКЛАДКИ
- 45 УХОД ЗА МАШИНОЙ; Замена верхнего ножа
- 46 Чистка тканенаправителей
- 48 Устранение неисправностей
- 49 ДОПОЛНИТЕЛЬНЫЕ АКСЕССУАРЫ
Характеристики
Остались вопросы?Не нашли свой ответ в руководстве или возникли другие проблемы? Задайте свой вопрос в форме ниже с подробным описанием вашей ситуации, чтобы другие люди и специалисты смогли дать на него ответ. Если вы знаете как решить проблему другого человека, пожалуйста, подскажите ему :)