Швейная машина Janome 90A - инструкция пользователя по применению, эксплуатации и установке на русском языке. Мы надеемся, она поможет вам решить возникшие у вас вопросы при эксплуатации техники.
Если остались вопросы, задайте их в комментариях после инструкции.
"Загружаем инструкцию", означает, что нужно подождать пока файл загрузится и можно будет его читать онлайн. Некоторые инструкции очень большие и время их появления зависит от вашей скорости интернета.

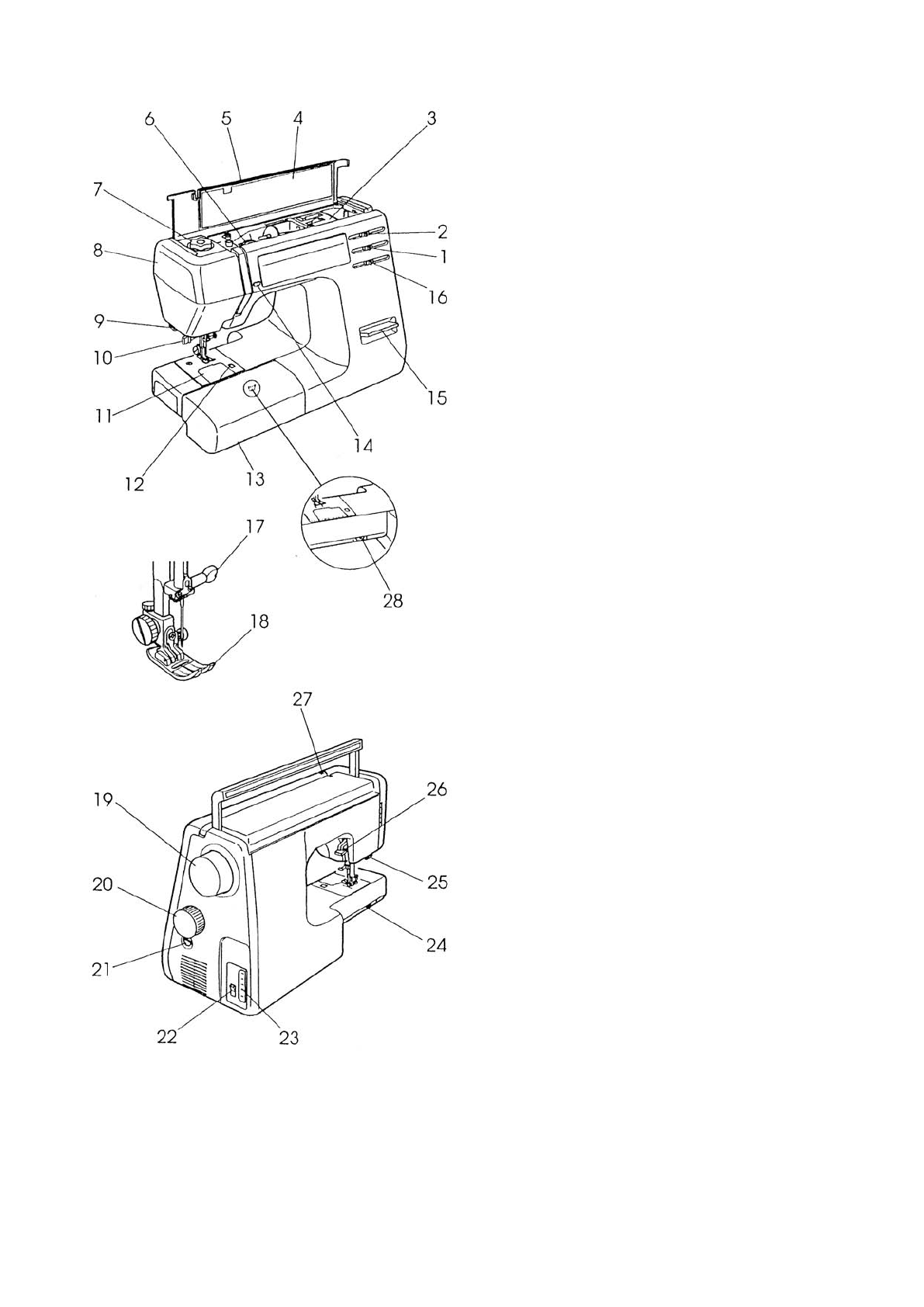
КОНСТРУКЦИЯ МАШИНЫ
Основные детали и узлы
1. Регулировка длины стежка
2. Регулировка ширины зигзага
3. Отделение для хранения лапок
4. Панель подсказок по выбранным
строчкам
5. Верхняя крышка
6. Регулировка натяжения нити
7. Регулятор нажима лапки
8. Передняя крышка
9. Нитеобрезатель
10. Нитевдеватель
11. Прозрачная пластина челночного
отсека
12. Кнопка для съема прозрачной
пластины
13. Выдвижной столик
14. Установка верхнего/нижнего
положения иглы (для электронной
модели)
15. Рычаг обратного хода строчки
16. Регулятор скорости шитья (для
электронной модели)
17. Крепежный винт иглы
18. Прижимная лапка
19. Маховое колесо
20. Переключатель выбора строчек
21. Регулировка баланса петли
22. Кнопка включения питания
23. Электрический разъем машины
24. Рычаг отключение транспортера
25. Ограничитель автомата петли
26. Подъемник прижимной лапки
27. Нитенаправитель
28. Настройка уровня плотности петли
2












