Швейная машина Jaguar 777 - инструкция пользователя по применению, эксплуатации и установке на русском языке. Мы надеемся, она поможет вам решить возникшие у вас вопросы при эксплуатации техники.
Если остались вопросы, задайте их в комментариях после инструкции.
"Загружаем инструкцию", означает, что нужно подождать пока файл загрузится и можно будет его читать онлайн. Некоторые инструкции очень большие и время их появления зависит от вашей скорости интернета.

25
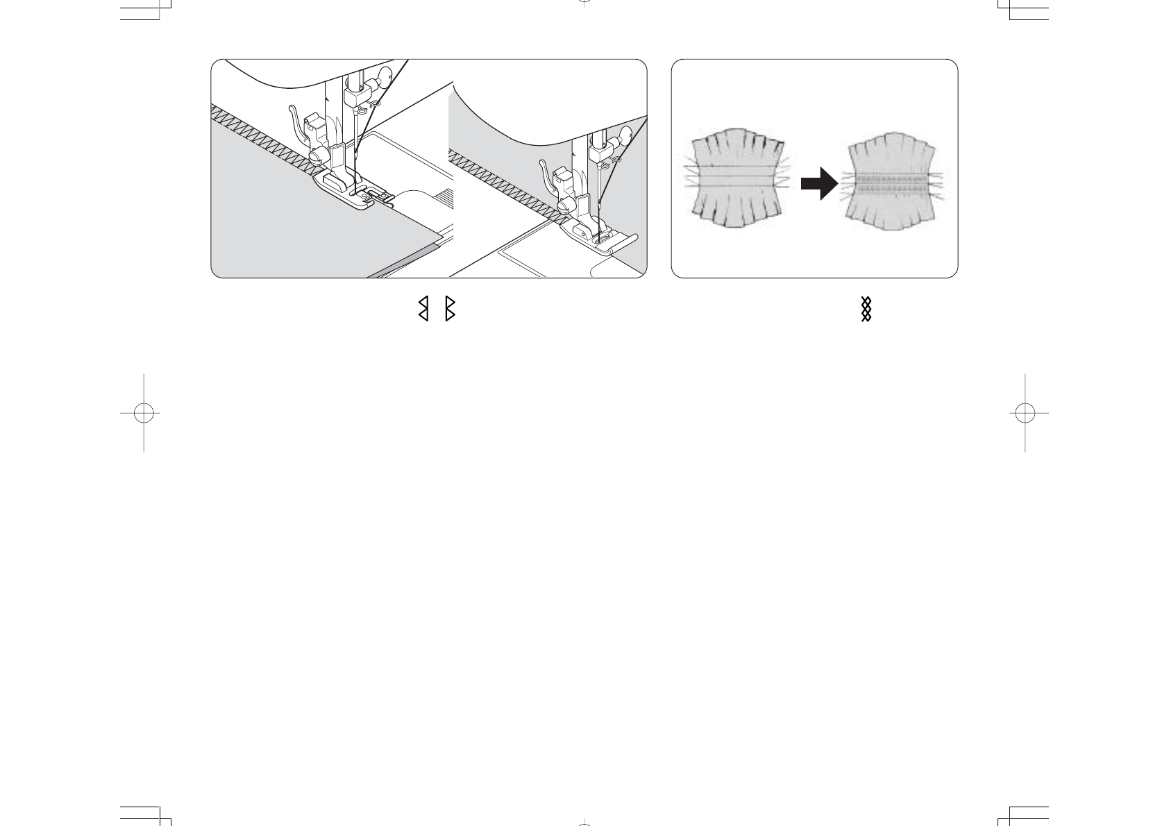
ОВЕРЛОЧНАЯ
СТРОЧКА
Эта
строчка
того
же
типа
,
которая
используется
в
швейной
промышленности
при
изготовлении
спортивной
одежды
-
в
ней
шов
формируется
и
отделывается
в
одной
операции
.
Она
очень
эффективна
при
ремонте
необработанных
или
рваных
кромок
старой
одежды
.
ВЯЗАЛЬНАЯ
СТРОЧКА
1.
Сформируйте
прямую
линию
из
сборок
поперек
участка
ткани
,
которую
нужно
собрать
в
сборки
.
2.
Поместив
узкую
полоску
ткани
непосредственно
под
линией
сборок
,
прострочите
ткань
поверх
сборок
.
Полученный
рисунок
будет
выглядеть
цепочкой
маленьких
ромбиков
.











