Швейная машина Astralux XP-45 - инструкция пользователя по применению, эксплуатации и установке на русском языке. Мы надеемся, она поможет вам решить возникшие у вас вопросы при эксплуатации техники.
Если остались вопросы, задайте их в комментариях после инструкции.
"Загружаем инструкцию", означает, что нужно подождать пока файл загрузится и можно будет его читать онлайн. Некоторые инструкции очень большие и время их появления зависит от вашей скорости интернета.

□ ШИТЬЕ ЗИГЗАГОМ
Поверните регулятор выбора шва так, чтобы индикаторный
дисплей показывал "В".
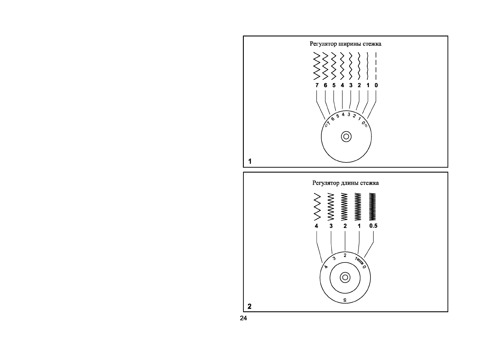
Функция регулировки ширины зиг-зага
Максимальная ширина стежка при шитье заг-загом равна "7",
но при этом ее можно уменьшать на любых образцах. Ш рфина
увеличивается по мере передвиженрхя регулятора к значению
"7". При шитье двойной иглой шрфину иглы можно установить
равной не более "4". (1)
Функция регулировки длины зиг-зага
Плотность
стежков
зиг-зага
увеличивается
по
мере
приближения регулятора длины к нулю "О".
Аккуратный зигзаг получается при установке на деление "2.5"
или ниже.
(
2
).
Стежок для вышивания гладью
Закрытый стежок зиг-загом называется стежком для вышивания
гладью. При этом длина стежка должна быть установлена
между "О" и "1".
Тонкие ткани
При шитье тонких тканей рекомендуем подкладывать тонкую
бумагу под ткань. По завершении шитья такая бумага легко
удаляется.
