Швейная машина Astralux 321 - инструкция пользователя по применению, эксплуатации и установке на русском языке. Мы надеемся, она поможет вам решить возникшие у вас вопросы при эксплуатации техники.
Если остались вопросы, задайте их в комментариях после инструкции.
"Загружаем инструкцию", означает, что нужно подождать пока файл загрузится и можно будет его читать онлайн. Некоторые инструкции очень большие и время их появления зависит от вашей скорости интернета.

21
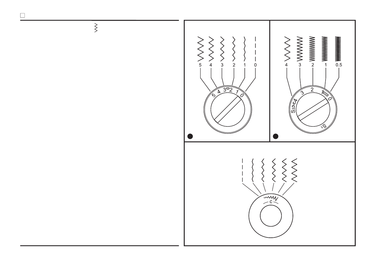
Выберите строчку «зиг-заг» "
".
Максимальная ширина строчки «зиг-заг» равна "5,0 мм", но
ширина может быть изменена при необходимости.
При перемещении регулятора ширины строчки в сторону
увеличения значения цифр - ширина строчки увеличивается от "0"
до "5", при перемещении в сторону уменьшения значения цифр -
ширина уменьшается. Если вы выбрали строчку «зиг-заг», а
показатель ширины строчки стоит на цифре "0", то машина будет
шить прямую строчку.
Вмодели: 321 предусмотрена плавная регулировка ширины
простого «зиг-зага» (строчка "С" из основной группы строчек).
Остальные строчки фиксированы по ширине.
Плотность стежков зигзага увеличивается при уменьшении
значения длины стежка до "0,2". Чем меньше длина стежка, тем
плотнее строчка. На обычном «зиг-заге» стандартная длина
стежка "2,5" или ниже.
Настройка ширины строчки (модели: 321 и
Настройка длины стежка
323)
Вмодели 307 можно выбрать одну из
х строчек «зиг-заг» с
разной шириной (1,5/ 3,5/ 5,0/ 5,0 мм). Остальные строчки
фиксированы по ширине.
4-
1
2
Строчка зиг-заг
«
»
Регулятор ширины строчки
Регулятор длины стежка
Для моделей с двумя регуляторами