Швейная машина Necchi 7424 - инструкция пользователя по применению, эксплуатации и установке на русском языке. Мы надеемся, она поможет вам решить возникшие у вас вопросы при эксплуатации техники.
Если остались вопросы, задайте их в комментариях после инструкции.
"Загружаем инструкцию", означает, что нужно подождать пока файл загрузится и можно будет его читать онлайн. Некоторые инструкции очень большие и время их появления зависит от вашей скорости интернета.

14
Ɂɚɦɟɧɚɢɝɥɵ
n
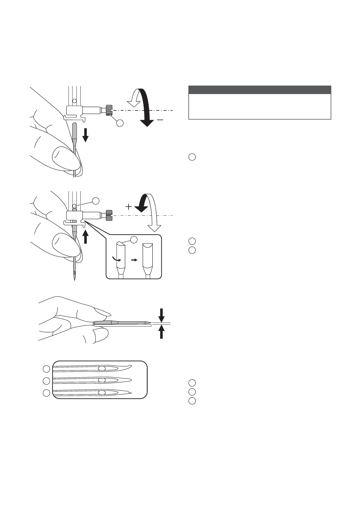
ȼɧɢɦɚɧɢɟ
ɉɪɢɜɵɩɨɥɧɟɧɢɢɨɩɢɫɚɧɧɵɯɧɢɠɟ
ɨɩɟɪɚɰɢɣɩɟɪɟɦɟɫɬɢɬɟɜɵɤɥɸɱɚɬɟɥɶɜ
ɩɨɥɨɠɟɧɢɟȼɵɤɥ©Ɉª
ɉɨɞɧɢɦɢɬɟɢɝɥɭɩɨɜɟɪɧɭɜɦɚɯɨɜɨɟɤɨɥɟɫɨ
ɧɚɫɟɛɹɡɚɬɟɦɨɫɥɚɛɶɬɟɩɪɢɠɢɦɧɨɣɜɢɧɬ
ɱɬɨɛɵɜɵɧɭɬɶɢɝɥɭ
1
ȼɢɧɬɢɝɥɵ
ɂɝɥɵɞɨɥɠɧɵɛɵɬɶɜɢɫɩɪɚɜɧɨɦ
ɫɨɫɬɨɹɧɢɢ
ɉɪɢɭɫɬɚɧɨɜɤɟɢɝɥɵɭɛɟɞɢɬɟɫɶɜɬɨɦɱɬɨ
ɟɟɩɥɨɫɤɚɹɫɬɨɪɨɧɚɨɛɪɚɳɟɧɚɧɚɡɚɞ
ȼɫɬɚɜɶɬɟɢɝɥɭɜɢɝɥɨɞɟɪɠɚɬɟɥɶɞɨɭɩɨɪɚ
Ɂɚɬɟɦɡɚɤɪɟɩɢɬɟɢɝɥɭɡɚɬɹɧɭɜɩɪɢɠɢɦɧɨɣ
ɜɢɧɬ
1
ɉɥɨɫɤɚɹɫɬɨɪɨɧɚɢɝɥɵ
2
ɍɩɨɪ
ɉɪɨɛɥɟɦɵɦɨɝɭɬɜɨɡɧɢɤɧɭɬɶɩɪɢ
ɢɫɩɨɥɶɡɨɜɚɧɢɢ
1
ɂɡɨɝɧɭɬɵɯɢɝɥ
2
Ɂɚɬɭɩɢɜɲɢɯɫɹɢɝɥ
3
ɂɝɥɫɩɨɜɪɟɠɞɟɧɧɵɦɨɫɬɪɢɟɦ
Ɋɟɝɭɥɹɪɧɨɦɟɧɹɣɬɟɢɝɥɵɨɫɨɛɟɧɧɨɟɫɥɢɡɚɦɟɬɢɬɟɢɯɢɡɧɨɫɚɬɚɤɠɟɩɪɢ
ɜɨɡɧɢɤɧɨɜɟɧɢɢɤɚɤɢɯɥɢɛɨɩɪɨɛɥɟɦ
1
2
3
1
1
2













