Швейная машина Necchi 100 - инструкция пользователя по применению, эксплуатации и установке на русском языке. Мы надеемся, она поможет вам решить возникшие у вас вопросы при эксплуатации техники.
Если остались вопросы, задайте их в комментариях после инструкции.
"Загружаем инструкцию", означает, что нужно подождать пока файл загрузится и можно будет его читать онлайн. Некоторые инструкции очень большие и время их появления зависит от вашей скорости интернета.

13
Использование нитевдевателя (для
некоторых моделей)
n
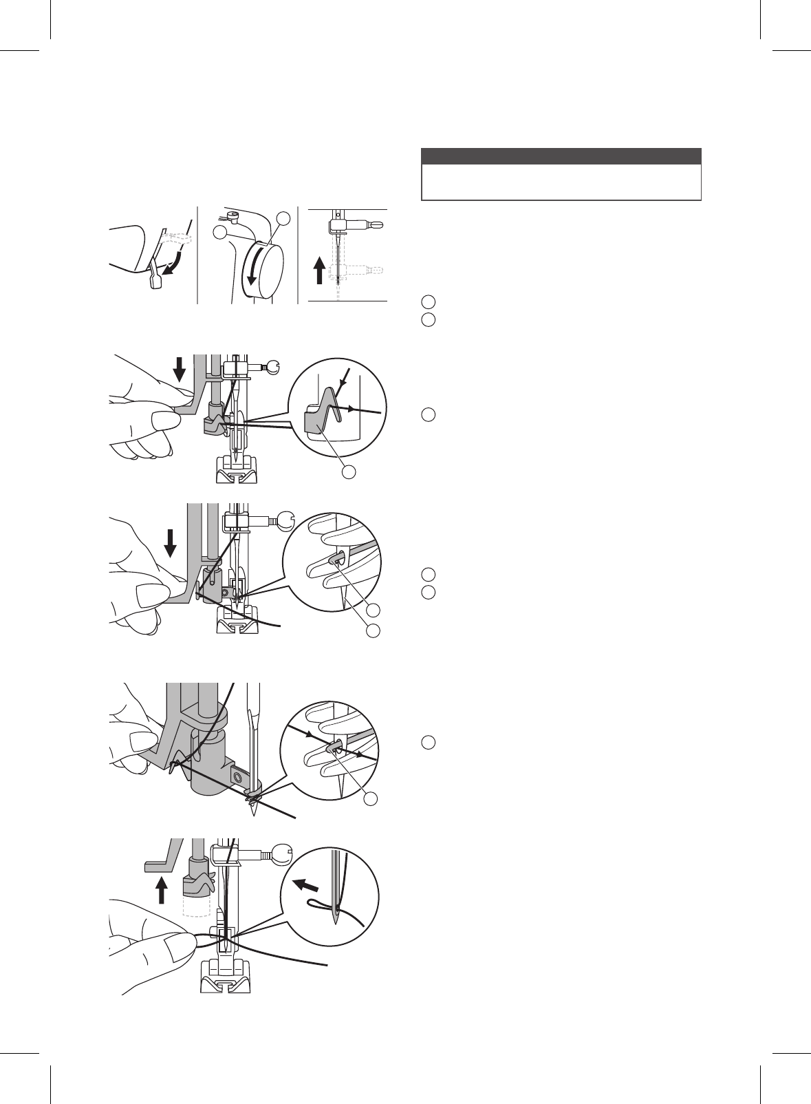
Внимание!
Переместите выключатель в положение
Выкл. («О»)
Опустите рычаг подъема прижимной
лапки. Поднимите иглу в крайнее верхнее
положение, вращая маховое колесо на
себя до тех пор, пока риска не совпадет с
отметкой на корпусе машины.
1
Риска
2
Отметка
1
2
Опустите нитевдеватель вниз до упора.
Нитевдеватель автоматически включится
и его крючок попадет в ушко иглы.
1
Крючок нитевдевателя
2
Игла
Протяните нить спереди от иглы и
убедитесь в том, что она находится под
крючком нитевдевателя.
1
Крючок нитевдевателя
Придерживайте нить, не натягивая ее,
и медленно отпустите рычаг. Крючок
повернется и проденет нить сквозь ушко
иглы, образовав петлю.
Протяните нить сквозь ушко иглы.
Потяните нитевдеватель вниз примерно
на половину хода и пропустите нить через
нитеводитель.
1
Нитеводитель
1
1
2
1
1
Характеристики
Остались вопросы?Не нашли свой ответ в руководстве или возникли другие проблемы? Задайте свой вопрос в форме ниже с подробным описанием вашей ситуации, чтобы другие люди и специалисты смогли дать на него ответ. Если вы знаете как решить проблему другого человека, пожалуйста, подскажите ему :)













