Швейная машина MINERVA La Vento 770LV - инструкция пользователя по применению, эксплуатации и установке на русском языке. Мы надеемся, она поможет вам решить возникшие у вас вопросы при эксплуатации техники.
Если остались вопросы, задайте их в комментариях после инструкции.
"Загружаем инструкцию", означает, что нужно подождать пока файл загрузится и можно будет его читать онлайн. Некоторые инструкции очень большие и время их появления зависит от вашей скорости интернета.

21
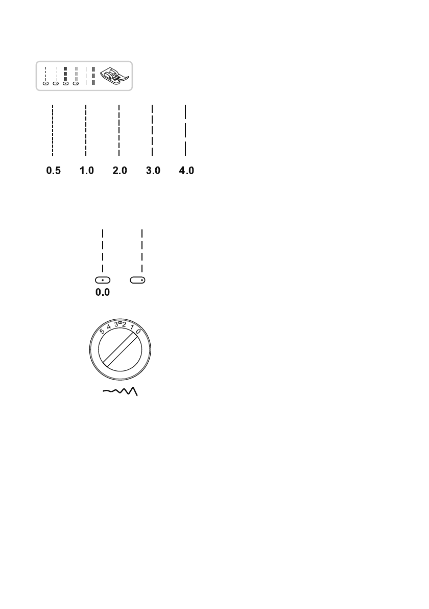
ɉɪɹɦɚɹɫɬɪɨɱɤɚ
ɉɨɜɟɪɧɢɬɟɪɟɝɭɥɹɬɨɪɞɥɢɧɵɫɬɟɠɤɚ
ɉɨɦɟɪɟɩɪɢɛɥɢɠɟɧɢɹɭɤɚɡɚɬɟɥɹ
ɪɟɝɭɥɹɬɨɪɚɤɨɬɦɟɬɤɟ©ªɞɥɢɧɚ
ɢɧɞɢɜɢɞɭɚɥɶɧɨɝɨɫɬɟɠɤɚɭɦɟɧɶɲɚɟɬɫɹ
ɩɨɦɟɪɟɩɪɢɛɥɢɠɟɧɢɹɤɨɬɦɟɬɤɟ©ª
ɭɜɟɥɢɱɢɜɚɟɬɫɹ
Ɉɛɵɱɧɨɱɟɦɬɨɥɳɟɬɤɚɧɶɢɝɥɚɢɧɢɬɶɬɟɦ
ɛɨɥɟɟɞɥɢɧɧɵɦɞɨɥɠɟɧɛɵɬɶɫɬɟɠɨɤ
v
ɂɡɦɟɧɟɧɢɟɩɨɥɨɠɟɧɢɹɢɝɥɵ
Ⱦɥɹɢɡɦɟɧɟɧɢɹɩɨɥɨɠɟɧɢɹɢɝɥɵ
ɢɫɩɨɥɶɡɭɣɬɟɪɟɝɭɥɹɬɨɪɜɵɛɨɪɚɩɨɥɨɠɟɧɢɹ
ɩɨɰɟɧɬɪɭɢɥɢɩɪɚɜɨɦ
5.0
ȿɫɥɢɦɚɲɢɧɚɨɛɨɪɭɞɨɜɚɧɚɪɟɝɭɥɹɬɨɪɨɦ
ɲɢɪɢɧɵɫɬɪɨɱɤɢɩɨɥɨɠɟɧɢɟɢɝɥɵɞɥɹ
ɩɪɹɦɨɣɫɬɪɨɱɤɢɦɨɠɟɬɛɵɬɶɢɡɦɟɧɟɧɨ
ɩɭɬɟɦɪɟɝɭɥɢɪɨɜɤɢɲɢɪɢɧɵɫɬɪɨɱɤɢɞɥɹ
ɧɟɤɨɬɨɪɵɯɦɨɞɟɥɟɣ
Ɉɬɦɟɬɤɚ©ªɩɨɥɨɠɟɧɢɟɢɝɥɵɩɨɰɟɧɬɪɭ
©ªɤɪɚɣɧɟɟɥɟɜɨɟɩɨɥɨɠɟɧɢɟ
ɂɫɩɨɥɶɡɭɟɬɫɹɭɧɢɜɟɪɫɚɥɶɧɚɹɥɚɩɤɚ




